Fórum témák

» Több friss téma
Fórum » Csöves erősítő készítése
 
Témaindító: seedz, idő: Márc 31, 2006
Témakörök:
Ne feledd betartani a fórum viselkedési szabályait, és a topik megmaradásának feltételeit. [link]
A téma átmenetileg fagyasztva lett, hozzászólni nem tudsz!
Lapozás: OK   1254 / 2208
(#) rakosiadam hozzászólása Okt 3, 2011
Hello!
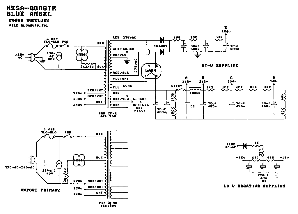
A problémám tárgyát egy Mesa Boogie gitárerősítő végfokozata képzi! Ebben található 4xEL84 ill. 2x6V6 os cső, ami működhet együtt ill. külön-külön is a különböző karakterek miatt. A gond az, hogy ha külön kapcsolom őket, h csak az egyik féle cső üzemeljen a katódja üresen marad! (a hálózati trafóról kialakítanak egy kétszeresen negatív tápot, amivel talán le lehetne zárni a csövet, de nem tudom hogyan!)
Előre is köszi a segítséget!
Hello!
(#) marone válasza rakosiadam hozzászólására (») Okt 3, 2011
A V1b-nek mi a szerepe ? (előfok)
(#) rakosiadam válasza marone hozzászólására (») Okt 3, 2011
Jogos a kérdés, véleményem szerint semmi, a hiánya nélkül sem változna a kép. Valahol kihagyják, hát itt bent maradt. A kettős triódában nem függ egymástól a két fél.
(#) pucuka válasza rakosiadam hozzászólására (») Okt 3, 2011
A V1b az egy gyenge limiter (dióda), de inkább nagy jelekre torzító.

Ha a katód kört megszakítod, a cső nem működik, semmi további teendő nincs. A fix negatív rácsfeszt mindíg megkapják
(#) joco63 hozzászólása Okt 6, 2011
Sziasztok! A hozzáértőket szeretném megkérdezni, hogy az orosz 6P41S illetve 6P41C (ugyanaz a cső) PP-ben milyen impedanciájú kimenőt igényel. Szerintem olyan 7-8 komh körülit, de lehet hogy rosszul gondolom. Ha valaki tud segíteni, illetve van elképzelése szívesen várom. A neten nem nagyon találni ezzel kapcsolatos infókat. Köszi!
(#) djhans válasza joco63 hozzászólására (») Okt 6, 2011
Szerintem kisebbet mert az egy fél 6c33c ha jól tudom. Ezek alacsony impedanciások. Gondold végig, egy gyengécske EL84 PP-nek kell 8k.
(#) mayky válasza joco63 hozzászólására (») Okt 6, 2011
ITT van egy rajz, de nem tudom kivenni mit írt a T1-hez 6k6? 6,6k ?
(#) FordPrefect válasza djhans hozzászólására (») Okt 6, 2011
Az a 6S41, és az 2/3-ad 6S33. Ez 6P, tehát pentóda.
(#) FordPrefect válasza joco63 hozzászólására (») Okt 6, 2011
Mivel kisimpedanciás TV cső, szerintem 3-4 K az optimális lezárás. Érdekes, de tényleg kevés adat van (illetve nincs !!) róla. Magánvélemény: leginkább az EL/PL508 vagy 504 kategória.
(#) szajo válasza FordPrefect hozzászólására (») Okt 7, 2011
Sziasztok!

Itt van az adatlap. E szerint PP-ben (B osztály) 8 k ohm 6P41C adatlap
(#) joco63 válasza szajo hozzászólására (») Okt 7, 2011
Én is 6,6 Kohm-os trafót láttam, az egyik PP-s kapcsolási rajzon. Kicsit sokalltam én is ezt az impedanciát, de lehet hogy ez a jó. A 6P41C adatlap nekem nem jön be. Próbáltam már EL34-hez való trafóval de azzal torzított.
Más kérdés 350V-os tápfesz nem sok ennek a tetródának? Elég ellentmondásos adatok vannak erre vonatkozóan is a neten.
Köszönöm az eddigi válaszokat is.
(#) joco63 válasza FordPrefect hozzászólására (») Okt 7, 2011
A magyar megfelelője elvileg a pl508 valóban, de szerintem impedanciában nem hasonlóak.
(#) joco63 válasza szajo hozzászólására (») Okt 7, 2011
Megoldódott a fájl megnyitása. Köszi!
(#) vikipapa hozzászólása Okt 7, 2011
Helló mindenkinek. Lenne egy olyan kérdésem, hogy PL504 ultralineár PP-hez 3K-s kimenő jó-e? Előre is köszönöm!
(#) FordPrefect válasza szajo hozzászólására (») Okt 7, 2011
Akárhogy is számolom, valami nem stimmel. Az adatlap lehet elírás, vagy szándékos ködösítés. (1900-as évek, SZU, stb.) Pláne egy ilyen soványka csövet 500 V-al küldeni..De a jelleggörbe alapján kiszámítható a beállítás, vagy kiszámolja valaki, vagy én vasárnap. Üdv.
(#) Lakatfogó hozzászólása Okt 8, 2011
Van egy kérdésem. Csinálgatom a saját PCL86 PP rajzomat, és ehhez hasonlót tervezek, mint amit találtam a google-el. Bővebben: Link

A triódás résszel kapcsolatban kérdezem, hogy rendben van-e az, ahogy a második trióda kapja a jelet az előző anódjáról, csatolókondenzátor nélkül. Tina szerint működik a dolog, de furcsa nekem az ilyenkor a rácsra kerülő pár száz volt.

Egyébként a rajztól eltérően visszacsatolás nélkül, 20-21dB-s erősítéssel tervezem megcsinálni.
(#) marone hozzászólása Okt 8, 2011
Helló !
Egy cső adatlapján ezt láttam:
g2 supply voltage 300 V
g2 voltage 150 V max.

Most akkor mennyit köthetek a g2-re ?

Kösz !
(#) FordPrefect válasza Lakatfogó hozzászólására (») Okt 8, 2011
Teljesen jó. Csak a földhöz képest lesz 100 volt felett a második cső rácsa, a katódjához képest csak pár volt, és ez számít.
Kis visszcsat szerintem kellene, az első cső nagy erősítése ezt megengedi.
(#) Lakatfogó válasza FordPrefect hozzászólására (») Okt 8, 2011
Hoppá, tényleg. Mindössze 7.4V van a katódhoz képest a rácson.

Nálam az első trióda anódját két ellenállás alkotja, így a kettő közül továbbvitt jellel a kívánt erősítés beállítható. 20-21dB-s erősítést beállítva vonali szintre tökéletesen alkalmas lesz, nem lesz szükség visszacsatolásra.
(#) Imi65 válasza Lakatfogó hozzászólására (») Okt 8, 2011
Idézet:
„Nálam az első trióda anódját két ellenállás alkotja, így a kettő közül továbbvitt jellel a kívánt erősítés beállítható.”

Tévedésben vagy, ha azt hiszed, hogy ezzel a módszerrel az erősítést állítod be. A cső akkor is ugyanazt az erősítést adja, legfeljebb Te leosztod a jelét a megosztott anódellenállással. Szerintem nem jó kivitelű az az erősítő, ahol először egy nagyobb szintre növeljük a jelet, majd a szükséges mértékre leosztjuk. Inkább a valóságban is kisebb erősítést kell létrehozni.
(#) 6C4C válasza marone hozzászólására (») Okt 8, 2011
Max. 150V-ot...
(#) Lakatfogó válasza Imi65 hozzászólására (») Okt 8, 2011
Ez igaz, mert attól h. két felé osztom az anód ellenállást, attól a csőnek még az összegük számít. Ahogy nézem a dolgokat, 270V nálam az anódtáp, oda nem lehet ilyen 100kOhm körüli anódellenállást tenni, amivel alacsonyabb lenne az erősítés, mert akkor az anódáram lenne sok.
Akkor lehetne kisebb anód ellenállás, ha az anódtápom is kevesebb lenne, de ez most adott, ezzel kell dolgoznom.

Másik lehetőség a bemeneti osztó alkalmazása, mert valahol mindenképpen osztani kell a jelet, mivel a "zabolázatlan" pcl86 se/pp erősítése 35-40dB körül van, miközben a cső pentódáját 3.6Vrms maximummal lehet csak vezérelni.

Szóval én azt választottam, hogy osztott anódellenállással állítom be a teljes erősítő erősítését, így igény esetén még simán be lehet tenni egy potenciométert is a bemenetre, nem fog bezavarni az osztásnak (fix kimenetű forrásokhoz, mint cd lejátszó). SE kapcsolásban megépítettem az anódosztásost és jól működik a dolog.


Ahogy én látom, nagyjából mindenki elköveti ezt pcl/ecl86 csöveknél, hogy erősít is meg csökkent is egyszerre.
(#) Imi65 válasza Lakatfogó hozzászólására (») Okt 8, 2011
Azért nem teljesen mindegy, hol osztasz. A bemeneten lévő osztó (poti) nem növeli a torzítást, míg egy jól kivezérelt fokozat, de annak csak a leosztott jelét továbbvivő megoldás már igen. A leosztás nem csökkenti a torzítást, az az eredeti erősítés értékével megegyező.
(#) sturbi válasza Lakatfogó hozzászólására (») Okt 8, 2011
Nem jó az a kapcsolás szerintem. Nem ellenőriztem, de szembetűnik, hogy a PCL 86 triódáin nem folyhat akkora áram (adatlap nem engedi), hogy az alkalmazott ellenállásokkal jó legyen a DC csatolt munkapont (pl. ha 2 mA-t számolok, ami már jóval több a szokásosnál (sőt a megengedettnél is talán), akkor a fázisfordító 15 Kohm-ján csak 35 V van, az első trióda anódján még mindig 70 V lenne (tehát +35 V lenne a rácselőfesz ezesetben, miközben itt -2 V körül kellene lenni) de ettől a helyzet sokkal rosszabb, mert biztosan nem folyik itt 2 mA, max 1 körül).
Nem biztos, hogy PCL 86-al tudsz visszacsatolás nélkül jó erősítőt csinálni (nagy belső ellenállású ahhoz, nehéz lesz hangszórót találni hozzá), igen jó kimenőt kell ahhoz "faragni", elfér ott egy kis visszacsatolás.
(#) Lakatfogó válasza Imi65 hozzászólására (») Okt 8, 2011
Nem akartam plusz potikat betenni, mert 5.1 erősítő készül, ott meg a jelforrásoknál mindig lehet állítani hangerőt. (az erősítő sztereó része persze kap egy dupla tengelyes minőségi potit)
A bemeneti osztó meg egyszerűen a batár nagy osztás arány miatt valahogy nem tetszett nekem.

Van ugyan Fet-es közös potiról menő hangerő állító kapcsolásom, de nem az igazi megoldás egy csöves erősítőben.


Rendes műszerek híján csak szubjektív véleményt tudok mondani, mi szerint legalább olyan jól szól, mint korábban, a bemeneti osztós megoldásnál. Ha van is nagyobb torzítás, az füllel nem hallatszik. Legalább is az enyémmel nem.
(#) Lakatfogó válasza sturbi hozzászólására (») Okt 8, 2011
Igen, az ottani értékek nekem sem tetszettek, hamarosan felteszem a nálam tervezés alatt lévő verziót.
(#) marone hozzászólása Okt 8, 2011
A visszacsatolásról kérdezném, hogy:
Csináltam egyet, de semmiféle változást nem okozott a hangban, pedig az ellenállás értékeivel is variáltam.
Mi lehet a probléma ? Nem is kell oda visszacsatolás, mert anélkül is teljesen jó ?
Valaki egy kapcsolási rajzot nem tudna belinkelni, ahol profi visszacsatolás van ?
Kösz !
(#) marone válasza 6C4C hozzászólására (») Okt 8, 2011
Hát ez szomorú.
Kösz !
(#) Lakatfogó válasza sturbi hozzászólására (») Okt 8, 2011
Szimuláció terén ennél a verziónál tartok, amit most feltettem. Szóval ha jól értem akkor a második trióda anódján nem lenne szabad annyi sok áramnak folynia, max ilyen 1-1.2mA körül?


Még anno fleta1 csinálta nekem a trafókat, elég szép méretes példányok.
(#) Imi65 válasza marone hozzászólására (») Okt 8, 2011
Nincs olyan, hogy "profi" visszacsatolás. Minden olyan áramköri intézkedés az, ami a kimenő jelet "összehasonlítja" a bemenő jellel. Az, hogy ez egy fokozaton belül történik, vagy több fokozatot is érint, az ebből a szempontból mellékes. Csöves erősítőkben mindkét esetre találsz példát, éppen eleget.
Konkrétan, a Te esetedben nem tudhatjuk, hogy "mit követtél el", de az bizonyos, ha jól kivitelezed, akkor annak hallható következményei vannak, a lehalkulástól a gerjedésig minden előfordulhat.
Következő: »»   1254 / 2208
Bejelentkezés

Belépés

Hirdetés
XDT.hu
Az oldalon sütiket használunk a helyes működéshez. Bővebb információt az adatvédelmi szabályzatban olvashatsz. Megértettem