Fórum témák

» Több friss téma
Fórum » Csöves erősítő készítése
 
Témaindító: seedz, idő: Márc 31, 2006
Témakörök:
Ne feledd betartani a fórum viselkedési szabályait, és a topik megmaradásának feltételeit. [link]
A téma átmenetileg fagyasztva lett, hozzászólni nem tudsz!
Lapozás: OK   1532 / 2208
(#) Orbán József válasza adamo32 hozzászólására (») Máj 14, 2013
Még valami! A meghajtó cső két fokozata közt az a 10 nF igaz, nem elírás?
(#) silent15 válasza Orbán József hozzászólására (») Máj 14, 2013
Szerintem az egy teljesen korrekt érték.
(#) Orbán József válasza silent15 hozzászólására (») Máj 14, 2013
Megtudtam közben, hogy úgy van.
(#) djhans hozzászólása Máj 15, 2013
Készülőben van egy kis 6P1P PP. A dobozolás még nincsen kész de már hallgattam. Nem rossz. Lehet hogy nagyobb hálótrafót kap majd. Most 6-7W-ot tud leadni.
(#) mofesa válasza djhans hozzászólására (») Máj 15, 2013
Szép rendezett a belseje, nem hinném, hogy kifogásolható.
(#) djhans válasza mofesa hozzászólására (») Máj 15, 2013
Köszi. Semmi brumm, zaj nincsen. A hangja is jó de tudna 10W körül ha meglenne a nagyobb fesz.
(#) djhans válasza (Felhasználó 13571) hozzászólására (») Máj 15, 2013
Köszi Zoli!
(#) gkari válasza bakos13gab hozzászólására (») Máj 15, 2013
Persze, hogy egyszerűsíthető-pl. egy külön anódfeszkapcsolóval, de a késleltetés itt szükséges. A PL-ek jóval később (min.30-40mp.)kerülnek felfűtött állapotba, mint a többi.
(#) bakos13gab válasza gkari hozzászólására (») Máj 15, 2013
(Az APX-ek is elmentek jó sokáig, mindenféle késleltetés nélkül...)
Kapcsolót én már csak a 100V-os segédrácsfeszültségre tennék.
A hozzászólás módosítva: Máj 15, 2013
(#) bakos13gab válasza palko0125 hozzászólására (») Máj 15, 2013
Szóval itt elbeszélünk egymás mellett. Plachtovics féle táp nagyon is jó, sőtt, ajánlom is. De ha gond az elkészítése, nem vagy benne biztos, akkor a másik lnkelt EL504-es mintájára készült egyszerűbb táp is nagyon jó lesz. 100V kapcsolása nem probléma kapcsolóval (biztonsági kérdés) és ugyanúgy zárva marad a cső segédrácsfeszültség nélkül, az előcsöveknek meg annyira nem érdekes. Ha ezt egy állandóan üzemelő erősítőnek szánod, akkor természetesen megéri megépíteni a bonyolultabb tápot, mert a csövek idővel meghálálják.
(#) MrBrown válasza djhans hozzászólására (») Máj 16, 2013
Szép-rendezett, mint mindíg...
Főkapcsoló?
(#) Robid hozzászólása Máj 16, 2013
Sziasztok! Tegnap meghibásodott az erősítőm, (6c33c-se) több órás használat közben, kimentem a lakásból 20 percre, mire visszaértem leégett trafó szag terjengett a lakásban.Az anód áram mérő 300mA-ig mér, a mutató végállásban feküdt. Szétszedtem és az egyik fojtó papír burkolata megbarnult, annyira fölmelegedett. Azóta ha bekapcsolom és melegszik érezni ezt a bűzt , az volna a kérdésem , hogy megszűnik ez idővel, vagy csak újra tekercseléssel lesz ismét a régi ?
(#) silent15 válasza Robid hozzászólására (») Máj 16, 2013
Hát ott már valami nem stimmel, nem az a kérdés, hogy megszűnik-e , hanem az, hogy mikor gyullad ki. Én azzal óvatosan bánnék!
(#) Robid válasza silent15 hozzászólására (») Máj 16, 2013
A hiba meg van szüntetve, az a kérdés hogy idővel megszűnik e az égett szag, vagy újra kell tekercselni?
(#) silent15 válasza Robid hozzászólására (») Máj 16, 2013
Hogy érted, hogy megszüntetve, mit csináltál vele? Mert függ attól is, lehet valahol a zománc égett le a huzalról, akkor is lehet büdös, de lehet csak a papírszigetelés volt, és akkor annak a javítása elég.
(#) Robid válasza silent15 hozzászólására (») Máj 16, 2013
Kicseréltem a csövet, a régibe már legalább 1000 óra volt ,valószinűleg meghibásodott és az anódárama az egekbe szökött.(Ettől a trafón 180mA helyett kb. a háromszorosa folyt) Volt már előjele a napokban, többször hallottam pattanásszerű hangot a hangszóróban és ilyenkor megindult a deprez műszer is. Arra gondoltam a foglalata kontaktos és megtisztítottam ,de ezek szerint maga a cső rúgta az utolsókat.( A fojtó elektromosan még rendben van, csak a lakk amit tekercselés közbe használtam megéghetett
A hozzászólás módosítva: Máj 16, 2013
(#) bakos13gab válasza Robid hozzászólására (») Máj 16, 2013
Itt azért lehetnek gondok. Fojtóról írtál, ezek szerint a kimenő nem égett meg. A fojtó hibája lenne a kisebb gond. Ha kettő fojtód van, meg kellene mérned a DC ellenállását és összehasonlítani a másikkal (induktivitását). A huzalok azért bírják sokáig, de a tápfojtó tönkrementele nem okoz szerintem azon túl több gondot, hogy brummos lesz a holmi.
(#) Robid hozzászólása Máj 16, 2013
Elektromosan rendben van a fojtó , megmértem , a kimenő és a táp trafó sértetlen, csak az égett illat a probléma, nem tudom megszűnik-e. Az erősítő csőcsere után tökéletes ismét.
(#) silent15 válasza Robid hozzászólására (») Máj 17, 2013
Ez tényleg elég helyzetfüggő, van olyan erősítőm, ami 30 éve füstölt el egyszer, meg lett javítva, ki lett szellőztetve, de még mindíg érezni, de viszont van ami 1 hét alatt elszáll, és nem lesz szaga.
(#) wadember válasza silent15 hozzászólására (») Máj 17, 2013
Azért a hozzászólásokat olvasva bennem felmerül a kérdés, vajon mitől melegszik ismét a fojtó? Mivel írtad hogy érezni az égett szagot amikor használat közben melegedni kezd. Nincs az kissé alulméretezve? Nekem a tápfojtó huzamos használat után is hullahideg. Hacsak neked a körítés fel nem melegíti.
(#) silent15 válasza wadember hozzászólására (») Máj 17, 2013
Igen, ez is fura, egy kapcsolás a tápról segítene, bár ott sok dolog nem tud olyat okozni, hogy nagyobb lesz a fesz, inkább ha hibás kevesebb, és megint ott tartunk, hogy az nem csinálna ilyet. Mellesleg egy 6c33c 120V anódfesz és 540mA-hez azért nem semmi folytó kell, nem tudom te milyet használsz.
(#) djhans válasza MrBrown hozzászólására (») Máj 17, 2013
Köszi. Lesz benne. Billenős kerek világítós, a jobbik fajta. A hangerő tekerője is szép nagy tömör alumínium lesz.
A hozzászólás módosítva: Máj 17, 2013
(#) Robid válasza wadember hozzászólására (») Máj 17, 2013
Nem gondolnám hogy alul lenne méretezve, évek óta kifogástalanul működik, oldalanként van egy egy fojtó 0,4-es dróttal tekerve 180mA áramra. Melegszik, de nem túlzottan,langyos esetleg. ( egy 6c33c környezetében pokol van)
(#) Orbán József válasza Robid hozzászólására (») Máj 18, 2013
Az a drót 0.3A-t félkézzel szállít. Ha a 280Celsiusos cső viszont rossz fényt (hőt) vetít rá, éppen elege lehet. Viszont akkor bizonyos részein jobban pörkölődik - gondolom én.
Mellékesen melyik kapcsolásról van szó egyébként és mekkora áramra van állítva a cső?
A hozzászólás módosítva: Máj 18, 2013
(#) Robid válasza Orbán József hozzászólására (») Máj 18, 2013
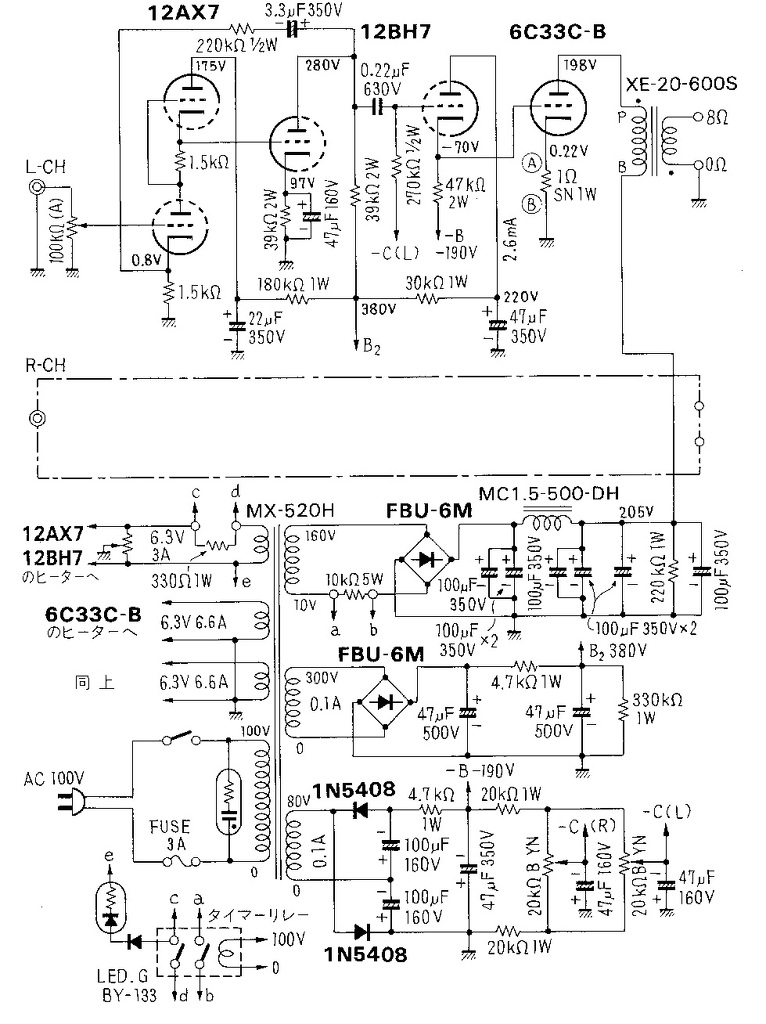
A cső 240v anódfeszről, 180mA-en ketyeg. Ez a kapcsolás.

6c33c_.jpg
    
(#) Orbán József válasza Robid hozzászólására (») Máj 18, 2013
Szia! Köszönöm! Látom, itt már nem is vacakoltak a trafóról nvcs-vel, másutt is láttam opcióban, de gyanúm szerint sokan nem használják. Elvileg mennyire képes a kapcsolásod? (W)
(#) Robid válasza Orbán József hozzászólására (») Máj 18, 2013
Körülbelül 12W de nincs jelentősége, nem tudom félig ki volt e már hajtva, sonidoval hallgatom nincs olyan műfaj amihez kevés lenne.
(#) Orbán József válasza Robid hozzászólására (») Máj 18, 2013
Gondoltam... A meghajtócsöveknek mit tudtál belerakni? Kimenőről valami info? (nekem 2 féle 6C33-as SE is van tervezve)
(#) Robid válasza Orbán József hozzászólására (») Máj 18, 2013
Meghajtóknak a rajzon lévő tipusokból Electro harmonix, nem tudtam több pénzt bele locsolni ezért olcsóbbakból válogattam.A kimenő mayky tervei alapján saját tekerés.Megépítésre talán LP collector gépe alkalmasabb ő egy 6e5p tetródával kihajtotta a 6c.-t. Itt a fórumon meg is található, ha jól emlékszem kimenőterv is módosult és pár wattal nőtt a kimenő teljesítmény.
(#) Orbán József válasza Robid hozzászólására (») Máj 18, 2013
Köszönöm a választ, véletlenül nem publikusat is kérdeztem, elnézést...
Következő: »»   1532 / 2208
Bejelentkezés

Belépés

Hirdetés
XDT.hu
Az oldalon sütiket használunk a helyes működéshez. Bővebb információt az adatvédelmi szabályzatban olvashatsz. Megértettem