Fórum témák
» Több friss téma |
Fórum » Csöves erősítő készítése
Ne feledd betartani a fórum viselkedési szabályait, és a topik megmaradásának feltételeit. [link]
A téma átmenetileg fagyasztva lett, hozzászólni nem tudsz!
Ha van ilyen adatbázis, CHZ tud róla. Kérdezd őt.
Remélem olvassa a fórumot, és segít.
Azt hiszem talán tényleg nála láttam olyat. Meg CIROKL albumában.
Mindkettőnek sokat köszönhetünk, szerencsénk, hogy vannak...
Én meg megtámogatnálak akkor a Magyari Béla zsebkönyvvel! Itt.
Igaz még én is csak futólag néztem bele, de oly dolgok vannak benne, amire egy mai nagy könyvesboltban sem találnál rá! Nem is tudom mihez hasonlítani! Forgasd úgy mint a Bibliát! Mert ez a könyv majd hogy nem a csövezés bibliája! Ha nagyon elszánt vagy, még rádiót is építhetsz... A hozzászólás módosítva: Aug 30, 2015
Készül a 6Sz19P PP.
A doboz mofesa ügyes keze munkáját dicséri, és nagyon sok dologban az Ő keze munkája van!!!
Egy olyan kép is jó lenne, amiről rá lehet látni a tetejére. Nem nagytotálban, hanem szögben állítva, az előlappal. Amúgy klassz masina lesz!
Majd ha készen lesz, még festeni, pácolni is kellene.
Félig készen...EAR 859,
A hozzászólás módosítva: Aug 30, 2015
Ez nem semmi! Gratulálok!
Na ez egy igazi egyedi kialakítás! Klassz!
Én meg azon nyavajgok hogy nincs két egyforma geometriájú hiperszilem, miközben keresztmetszetre 1cm2 difi van. Jó látni mikor valaki áttöri a megrögzűltségeket! A hozzászólás módosítva: Aug 30, 2015
Megy a gőzös... Megy a gőzös? Formára egy piros pont(y).
Jó a kapcsoló!
Bár a parketta nútfédereit leszedhetted volna. A bramaclécet is kicsikét fényesítsd még. Jó a forma! Csak 'í tovább! : ) A hozzászólás módosítva: Aug 30, 2015
Köszi! igyekszem...
Tudat alatt engem is zavar,ha nem teljesen egyforma alkatelemek vannak a két csatornában.még ha elektromosan nem is befolyásol sokat.
Ehhez a végfokhoz az ihletet a számítógép adta...a dimenziói egy átlagos asztali PC befoglaló méretei,viszont a magasságból le kell venni 5-6 centit,mert túl sok lesz az "üres" térfogat.Az ötlet viszont kissé kényszer-szülte;szaporodnak a csöves holmik,és ilyen kivitelben jóval kisebb alapterületet foglal egy-egy darab,viszont megoldható a műszakilag optimális elhelyezés.Még sok munka lesz rajta,kb.alig vagyok túl a felén.
Tudatos választás,nem véletlen...kissé retró-s külsőt kölcsönöz.
A nút-ok jórészt el lesznek takarva,s kap egy teljes lakkozást a végén.Csak legyen rá időm...a végső állapotról lesz még kép.
Tetszik ez a rendbontó kivitel! Oly bizarr, hogy már attól nem tudom levenni róla a szemem. Maga az anódsapka megoldás valami rendkívül bizarr. Mint egy tojáshéj. De már várom a végkifejletet!
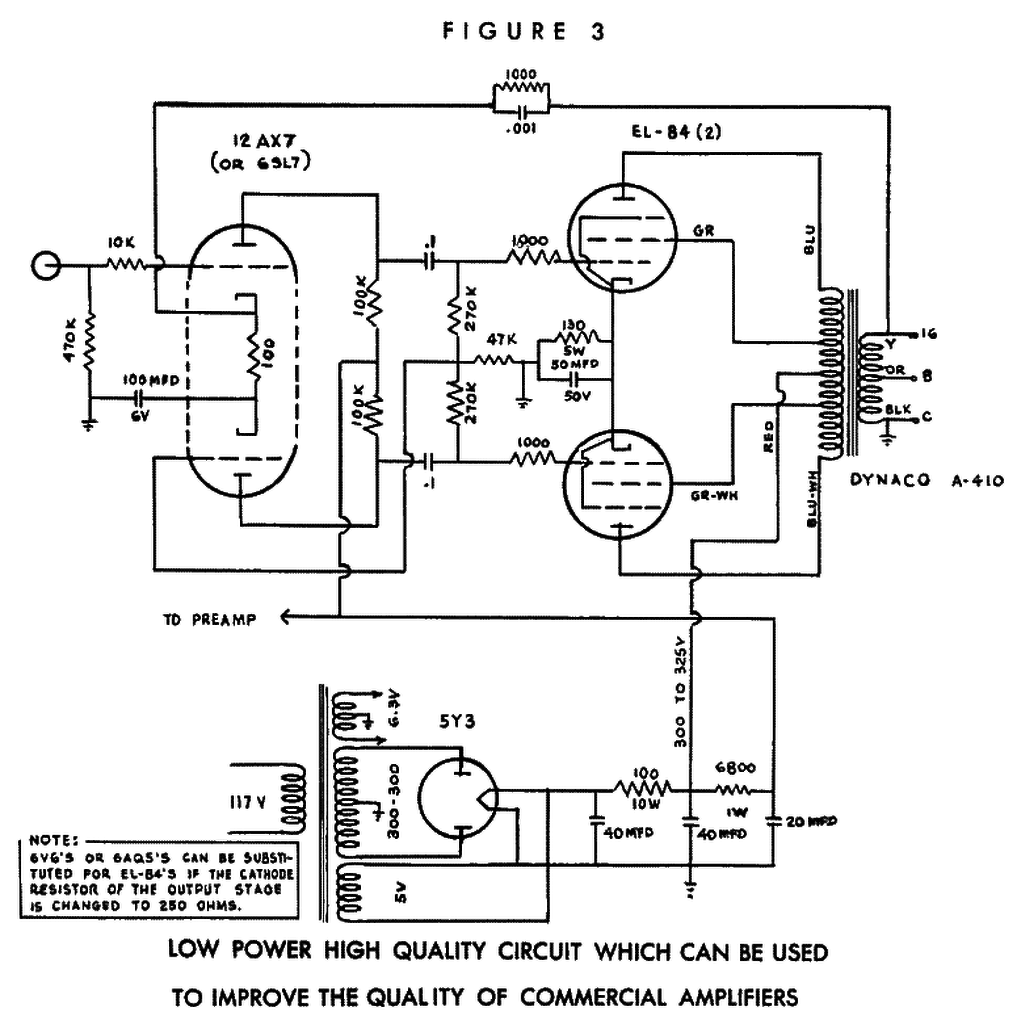
Sziasztok! Ismeri valaki ennek a fázisfordítónak a működési elvét. Ezt építettem meg egy EL 84 PP. Több más módszert is kipróbáltam de ez vált be. Ha igen megköszönném a magyarázatát.
Parafázisú fázisfordító, mondhatni, klasszikus.
Majd ha lesz időm végig olvasom a topikot. Készülőfélben van egy pár wattos gitár erősítő, csak a végfok trafónál lenne egy egyszerű kérdésem. A huzal azonos nagyságú legyen mindkét oldalon, vagy ennél bonyolultabb a dolog?
Nem ennyire egyszerű
. A primer elég nagy menetszámot igényel, a szekunder meg nagyobb huzalvastagságot. A primer töredéke sem férne fel, ha a szekunder szükséges vastagságával akarnád megtekerni.
A kimenőtrafó méretezése témában, de itt is a képek közt (kb. 100-120. oldal) ott van a kiszámítás, méretezés. Nem ördöngösség, de nem is 'jer cipó, bekaplak'. Milyen (kimenőnek szánt) vasad van, mekkora teljesítmény, milyen végcsövek, milyen rendszer; aztán segítünk. Előzetesen: kb. 6-8cm2 vaskeresztmetszet, 0.15-0.2mm-es primer (3-4000 menet),- 0.6-0.8mm-es szekunder (100-300 menet) huzal.
Valóban formabontó kivitel...nekem is szokatlan kissé.Viszont helytakarékos! A végcsöveken is lesz még egy burkolat,vagyis az egész egy téglatest formát fog ölteni.Az anódsapka "szabvány"...a csöves tv-kben a PY 88-aséi voltak,ámbátor ide ez sem igazán jó,nem bírja ezt a hőterhelést sokáig.Amint az látható is...
A hozzászólás módosítva: Szept 1, 2015
Levágtad ezeket az anódsapkákat? Ha jól emlékszem, ennél hosszabb volt, a (PY88-nál) nagyobb átmérőjű csövekre nem ment rá.
Én ezen koncepció alapján akarok elindúlni.
Majd még a rajz készségeimet lattba vetve készítek vázlatot. Ebbe a dobozba aztán akár_mi akár_hogy elfér! A lemezjátszó helyére kerülnének a csövek, alúlra a táptrafó és esetleg a kimenők. Máris kattog az agyam! ![]() A koncepció ugyan úgy tartalmazna beépített hangszórót, nem rég vettem 2db 13cm szélessávút. Ötleteket, tanácsokat szívesen fogadok. Cső készlet ECL86, üzemmód PP. Kimenő valamilyen egy karikás hiperszil. Teljesítményileg 14W csúcs 20Hz alsó. Ehhez vannak 9, 10cm2 magjaim. De ez még kicsit odébb van. Előbb össze kéne rakni az SE-t! ![]() *mod* A hozzászólás módosítva: Szept 1, 2015
ECL86-ból (egy pár végcsővel), normális hangminőség mellett 8-9W maximum, amire érdemes számítani. Persze ez a 14W-hoz képest nem sok eltérést jelent hangerőben, de ne legyünk itt is wattmániások, még ha csak pár wattot hazudunk magunknak, akkor se.
8, 12, 14W PP kapcsolásom van, de majd ha aktuális lesz, úgy is felteszem a képeket.
Akkor 8W-ra javaslod? Vas szempontjából még kedvezőbb is! Egyáltalán nem bömböltetésre szánom, még az is lehet, hogy normál trafóvasra megy a kimenője. Ismerkedés, valami komolyabb az SE után, és a PL500 PP előtt.
Igen.kb.8mm-t le kell vágni belőle.
A hozzászólás módosítva: Szept 1, 2015
És itt az eredeti,gyári készülék,csak úgy,étvágygerjesztőnek...
Láttam már szebbet is... De a hangja lehet jó.
|
Bejelentkezés
Hirdetés |


Azt hiszem talán tényleg nála láttam olyat.










