Fórum témák
» Több friss téma |
Fórum » Kapcsolási rajzot keresek
Témaindító: Kallai Csaba, idő: Márc 11, 2006
Témakörök:
Ezeket kár is volt fölrakni, mert konkrétan semmit se látni belőle, csak a homályt
A képeket megnézve jelentős összegben mernék fogadni arra, hogy régen át lett hangolva a készülék "keleti" normára. Most pedig ott már nincs sugárzás. Szerintem egyszerűen csak vissza kellene hangolni. Az oszcillátor frekvenciát megmérve egyszerűen igazolható/cáfolható a feltételezés. Az áthangoláshoz nem igazán kell rajz, régen rajz nélkül, rutinból történt a "műtét". Most pedig szerintem csak vissza kell csinálni
Sziasztok!
Először is; Boldog Új Évet Mindenkinek! Szeretnék egy kis segítséget kérni! egy Töltéskiegyenlítő 24V/12V/3A készüléket szeretnék építeni, de nem találtam a neten semmilyen kapcsolási rajzot hozzá. 14.000 Ft lehet venni, de szerintem előállítása sokkal olcsóbb lenne. Ebben tud valaki segíteni egy kapcsolási rajzal? Előre is köszönöm a válaszokat.
Üdv
Lehet nem jó helyre irok, de gondoltam itt tudtok legjobban segiteni. Egy készülőben lévő erősítőbe szeretnék egy VU kivizérlésjelzőt. Több variáció is van, készen is van pl.egy nixie vonalcsöves (IN-13) "műszer", van retro analóg műszerem is több db is. De mivel az erősítő burkolat, carbon,alu,üveg lesz,igy gondoltam jobban illene hozzá egy TFT s kijelzés. Ezzel kapcsolatban, lenne esetleg valakinek kész ,működő kapcsolása? Arduino s, komplett 3,2-4coll os tft ket pár ezerért be lehet szerezni, ilyenből gondoltam. Neten nem találtam ilyen kész kapcsolást,csak fotókat,videókat. KÉPEK Köszi az esetleges ötleteket.
Én csak műszert építenék be. A Dual C804 kazettás deck kivezérlésjelzője tetszik a legjobban. Egyszerű, elegáns és gyönyörű. ( Igaz, én jobban szeretem a retrós, de mégis kitalált, megformált, időtálló dizájnt.)
Néztem ezt a deck et, szép....csak nekem jobban tetszik ami hátulról van megvilágitva. Nekem egy Philips és egy Sharp deck ből bontott műszer van. A sharp jó nagy, és igazi retró cucc.
Lehet igazad van,ugy is mostanában keverik a hightech és retro stilust. Csak kipróbálnék élőben is egy ilyen tft s cuccot.
Ki kell találni, hogyan lehet hátulról megvilágítani.
Az igazán szépek a Technics erősítői, abban óriási műszerek vannak. Abból sem mindegyik szép, de azért akad. Le is lehet utánozni őket, csak azt nem tudom, hogy ezek a 71dA...120 dA hozzáférhető műszerek mennyire szeretik ha állandóan rángatózik a mutatójuk. Meg a másik, hogy a régebbi erősítőknél nem volt annyira szempont az alacsony magasság. Egy mostani dizájnba nem nagyon fér bele egy nagy műszer. Egyébként meg különösen a 10..20 évvel ezelőtti készülékeknek semmi közük nincs sem a retróhoz, sem a modernhez, sem semmihez. Inkább az izléstelenséget prezentálják. ( mindenféle rádió, cd játszóval egybeépítve, meg az ilyen kommunális hulladékok...) Szerencsére, mintha változna ez a dolog...
Kedves Gafly!
Nem "keleti" normás a készülék. /nem javaslom a fogadást, veszítenél/ Talán ezek a képek tisztábbak és jól látható fm sávban a 87,5-108MHz. ("Az egyik benne lévő tranzisztor nagyon melegszik, sajnos a számot nem pontosan lehet látni, "K4B C330, vagy K48 C330") A kivett tranzisztor olyan típusnak látszik mint a BC212, vagy BC182, de nem tudom pontossan, hogy helyettesíthetem-e ezekkel a tranzisztorokkal. Köszi. Üdv. Lele
Félreértetted. Gafly kolléga azt mondta, hogy az eredetileg nyugati normás 88 - 108 MHz (ami rá is van írva) át lett hangolva OIRT sávra, és ezt kéne most visszahangolni.
A két tranzisztor, amit kiszedtél (nem volt valami jó ötlet) nagyfrekvenciás tranzisztor (fT 1800 MHz), a helyettesítése sem könnyű. Inkább a tekercsek, és a hozzá kapcsolódó kondenzátorok körül kéne keresgélned. Forrasztás nyomokból látható, hogy eredeti-e. De van saját topikja a témádnak, inkább abban kellene tájékozódnod. A hozzászólás módosítva: Jan 2, 2016
Köszi,ezt láttam én is. De rendeltem egy ilyet, árban ugyan az,és készen van.
Vfd vu
Sziasztok!
Olyan kapcsolást keresek, amivel számolni tudom egy jármű indításainak számát. Az elképzelésem az lenne, hogy egy pár menetet rátekerve az önindító kábelére a tekercsben indukált feszültséget "számolni" és azt természetesen tárolni.
Szia!
Rossz az önindítód ? Ha adsz rá feszültséget, akkor indulnia kell, tehát elég a feszültség rákapcsolásokat megszámolni !Erre egy számláló + kijelző áramkör kell ( engem ne kérdezz, én PIC-el oldanám meg ! ) A hozzászólás módosítva: Jan 3, 2016
Hello! Apró hiba, hogy a kábelben egyenáram folyik. Másrészről felesleges, mert a gyújtáskulcs a behúzómágnesre 12V-ot ad. Harmadrészből felesleges bonyolítani, elég egy mezei 12V-os számláló is a boldogsághoz..
Sziasztok!
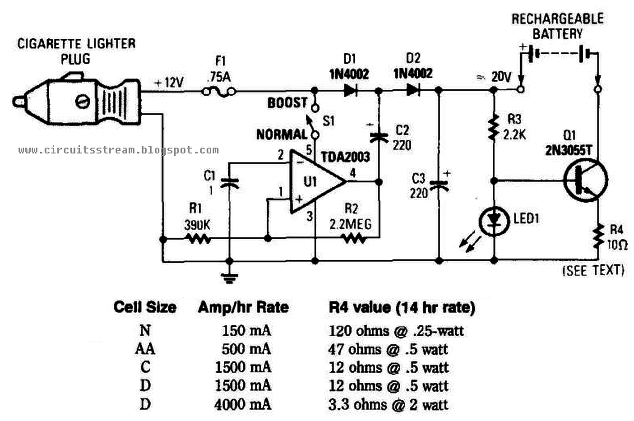
Valaki tudna nekem egy kapcsolás rajzot amivel 12V-os szivargyújtóról tudok 6V ill 12V 7Ah zselés aksit tölteni. Köszönöm.
Szia !
Igaz nem automata csak beállítható állandó áramú töltő. 12-14 V DC input, 18-20 V DC output. A töltőáramot az emitter ellenállás változtatásával beállíthatod. Az ic.-t és végtranzisztort hűteni szükséges.
A 12V-ost egyszerűen kösd sorba egy 4,7 ohm-os ellenállással és járó motornál teljes töltést tudsz adni neki. A 6V-oshoz át lehet alakítani egy jobb telefon töltőt is, amiben leggyakrabban MC34063 van.
Sziasztok.
Sony KV-29C3D ehhez a tv-hez keresek kapcsolási rajzot. Köszönöm előre is
Ezt már letöltöttem én is de ebbe hex fájl van. Kapcsolási rajz sehol
Szia!
Mivel 11 megánál nagyobb így ide nem lehet feltölteni, de adok egy linket. Bővebben: Link Remélem ez az A hozzászólás módosítva: Jan 7, 2016
Sziasztok!
Olyan kapcsolási rajzot keresek, amivel 2x12V akku feszt lehet kiegyenliteni öltés közben. Azaz ampert adna át a jobban feltöltöttből a gyengébben töltöttbe. Töltés kiegyenlítő a neve. Előre is köszönöm. 5a es kapvsolás kellene.
Sziasztok!
Lehet hogy nem jó helyre írok de akkor majd moderálnak. Szeretnék építeni egy pH mérőt akváriumhoz, lenne valakinek esetleg dokumentációja hozzá? Előre is köszönöm! szebee
Női vagy fiú hal pH-hoz?
![]() Komolyra fordítva, miért nem veszel egy tekercs indikátor papírt a vegyszerboltban vagy borászati szaküzletben? Az fillérekbe kerül. Gondolom 7-es pH környékén akarsz vizsgálódni, arra a pH tartományra biztosan találsz finom felbontású indikátort.
Hello! A PH mérés áramkörét sem egyszerű elkészíteni, a nagy impedancia miatt. De a legfőbb gond a mérőelektródákkal van.
Valamint a hitelesítéséhez is ismert törzsoldatok kellenek. Ha ez nincs, nem lesz pontos. Akkor meg minek. Döglött halat már nemérdekli a kalibrálási eljárás.
Sziasztok!
Kapcsolási rajzot keresek egy autó erősítőhöz. AUDISON Millennium Power4 erősítőhöz keresek kapcsolási rajzot! Előre is köszönöm! |
Bejelentkezés
Hirdetés |














