Fórum témák
» Több friss téma |
A téma átmenetileg fagyasztva lett, hozzászólni nem tudsz!
Egy gitár erősítőnél nincs sok értelme a kimenő trafó cifrázásának. Ezesetben sincs túlbonyolítva, csak a 16 ohmos kivezetés van 2 párhuzamos részből, jobb csatolásban.
A primer egyszerűen két részben egymásra van tekerve, semmi megosztás. Olyan nagyon nem kell a két primert egymástól elszigetelni, mert az egymásra kerülő sorok hasonló potenciálon vannak. Rajta és alatta) a szekunder tekercsek, amiket viszont rendesen el kell szigetelni a primer tekercsektől. Az eltérő vezeték átmérőket a teljes sor kitöltése miatt alkalmazták. A hozzászólás módosítva: Ápr 21, 2017
Köszönöm
Tehát ezek szerint beválhat egy ilyen módon megtekert trafó is. Éppen ezen transzformátor egyszerűsége az ami miatt kétségeim lettek a tervezetnél, mivel eddig csak bonyolultabb osztott tekercseléssel volt dolgom ami nagyon bevált (hangilag) a hangszererősítőimnél csak sokszor erősen kompromisszum igényes volt a belehelyezhető drót szempontjából. E miatt pedig sokszor előfordult hogy alulméretezett lett a produktum és nem adta le a kívánt teljesítményt, vagy egyszerűen kevés volt a primerem a pp végcsövek anódfeszültségéhez. A hozzászólás módosítva: Ápr 21, 2017
Ha egy jó átvitellel rendelkező kimenőt szeretnél, akkor kell kunsztolni a tekercsek egymásba ágyazásával. Ezzel a módszerrel csökkenthető a szórt induktivitás, viszont nőnek a kapacitások is. Úgyhogy lehet sokat játszani, számolni, mérni, mire jó kimenő lesz.
Hello
Ez jó lenne kimenővasnak? 0,5 mili vastag, 48*17mm ablak, 32mm keresztmetszet, 2mm légrés. csomó van belőle, és tudok még szerezni. ![]() Szerinted ebből lehetne jó kimenőt csinálni?
Igen.
Mihez?
gu-50 pphez
Hatalmas légrés van benne, még SE-hez se lenne jó tán (PP-hez meg semmiképp). Ha ki tudod nyírni a légrést (két járom rövidít), akkor talán, de elég vastag a lemez. Fojtónak jó lehet.
A hozzászólás módosítva: Máj 24, 2017
Váltott irányú lemezeléssel segíteni lehet a légrésproblémán, de ez a lemez inkább hálózati trafóhoz jó - vagy fojtónak.
Kimenőtrafónak illik 0,35 mm-es lemezt használni, kisebb az örvényáramú vesztesége.
Ez a vas - miként granpa is írja - nem jó a kialakítása miatt. Hálózati trafónak (váltott irányú lemezeléssel), vagy fojtónak (egyirányú lemezeléssel) jó.
Sziasztok kedves fórumtársak. Nemrég fejeztem be a fullcsöves hangszererősítőm. A végcsövek rácsáig megbizonyosodtam a jel útjáig az előfok tökéletesen működik de... Minap beraktam a végcsöveket hogy végleg beüzemelem a jószágot de a mellékelt videóban hallható módon a kimenő transzformátor érdekesen viselkedik.
Bővebben: Link Szerintetek mit rontottam el?
Cseréld meg az A1 és A2 (anód) vezetékeket, amik a végcsövektől a kimenőtranszformátorra mennek.
Gerjed, mert a visszacsatolás pozitív, nem pedig negatív, ahogy kellene lennie, legalábbis elsőre ez a valószínű. - Ha nem ez okozza a jelenséget, akkor valami alattomos gerjedés, ami hibás, hosszú vezetékezés és alkatrészek szerencsétlen elhelyezése miatt alakult ki. Esetleg a végcsövek hibásak, vagy nem megfelelő a munkapontjuk, előfeszültségük. Tessék szépen végigmérni, ellenőrizni mindent, hogy megfelelően van-e bekötve. Üdv!
Szia. Köszönöm a segítséget. Végigzongoráztam mindent és megvan a hiba. A rajzon a csövek gyorsítórácsa vagy az anódra vagy a tápfeszültségre van felhúzva és egy kapcsolóval lehet kiválasztani. Na a gond a kapcsolóval volt az egyik cső rácsát levegőben hagyta. Most ott tartok hogy az erősítő nem csinálja a jelenséget. A gitárládám rá van kötve bekapcsolva az anódfeszt nem szólal meg sajnos és agyalok mi lehet a baj. A katódbiztosítékot nem verki ki a kimenőm túlélte a pofozást mert minden ellenállása olyan mint volt a szigetelése 20Mohm vagy annál több. Szerinted most milehet a gond? (Ez az első nagy teljesítményő PP erősítőm)
Megoldódott a gond. A gitárladám az 4x12" és átlehet kapcsolni úgy hogy 2db 2x12" legyen, na ez a kapcsoló viccelt meg feles állásba volt. Ki fogom kötni a fenébe a tavaly épített erősítőmnél is megszivatott.
Szándékosan szívatod magad a hibás kapcsolókkal?!
![]() Egy komoly csöves erősítőbe a ki/be kapcsolón és a bemenetválasztón kívül nem kell több kapcsoló. Mielőtt beüzemelünk egy erősítőt, mindent végig kell mérni, hogy rendben legyen az első bekapcsolásnál. A kimenőtranszformátor szekunder tekercsére rá kell forrasztani egy 470Ohm/2W-os ellenállást, ami a véletlen leszakadt, vagy kihúzott hangszóró esetében, főleg nagy hangerőnél, megvédi a kimenőtranszformátort az átütéstől. Üdv!
Most már megtanultam egy életre a lényeg hogy él igaz még zajos de legalább szól.
Üdv!
A trafóknál pucuka kolléga megjegyezte a tekercselő huzalok tudvalevőleg keményednek a huzalok feszítés, pl. áttekercselés után is. Mivel elkezdem a régen tervbe vett kimenők tekerését, kérdésem van: Szóval nyilván az áttekerésnél keményedhetet a huzal, sőt, elég derekasan meg is van feszítve tekercselésnél. Azt meg muszáj, különben? Ferenczi Ödön: Tápegység amatőröknek c. könyvében pl. a 0.7 huzalnál 65 kg/mm2 van megadva. A huzalra a feltekerés után az esetleges nagyobb intenzitású áramlökések, vagy egyéb mód van-e, hogy kissé enyhüljön a feltekerés okozta keményedés? Gondolok valami féle PWM-es áram agresszióra. A kérdésem, van-e valakinek ilyesmiről tudása, tapasztalata...? A hozzászólás módosítva: Okt 4, 2017
Szerintem nem, mert annak a hökezelésnek a hiánya a gyártás során (sporolás) nem helyettesithetö a tekercs áramával ( illetve annak végzetes következménye lenne). A drot azonban idövel megadja magát a trafon és ebböl nem igen szokott baj lenni. A tekercsélésnél megadott mechanikai feszültségnek más a célja, mégpedig az, hogy elférjenek a menetek az adott keresztmetszetben. Ha kisebb feszitöerövel tekered, akkor levegös lesz a tekercs ami szintén nem jo - el sem fér vagy késöbb zümmög. Persze ez a feszitöerö függ a drot keménységétöl. Nem tudom, hogy ezzel foglalkozott-e az idevágo irodalom.
Néhai tekercselö barátom mindenféle segédeszközöket barkácsolt a gépére, ami a meneteket a forgatás közben extrán a csévére nyomta, hogy elérje a kivánt keresztmetszetet.
Igen, én megfeszítem eléggé a huzalt, mert dacára a gépi tekercselésnek, szükség van a kívánt feszítőerőnek, különben a huzal nem vezeti meg önmagát.
Egy picit mindig hátrébb van a leeresztő csiga, mint ahol valójában a tekercselés tart, kb. 3-4x-es átmérővel. Egy sor után a tekercs mind a négy oldalát még "fazonírozom", hogy ne hordósodjanak a menetek, mert nyilván nem fér el a telire számított huzal mennyiség. Az eddigi tapasztalatom az volt, hogy a 0.2mm-es (most derült ki, 0.22-es volt) ha megfeszítem a tekercseléshez szükségesen, a tekercsoldal közepén elég laza a huzal, szerintem simán együtt tudna zenélni a mágneses erővel. Többek közt emiatt is impregnálva lesznek a kimenők is, csak nem a hálótrafók AC43 lakkjával.
Józsi! Mivel (milyen lakkal) impregnálod a kimenőnek? Már fontolgattam, hogy az általam a hálózati trafóknál használt vízalapú lakkot (sima OBI-s lakk) használjam a kimenőknél is, de előtte - gondoltam - körülnézek, hogy ki-mit használ? Egyáltalán használ-e impregnálóanyagot kimenőkben?
Szervusz!
Vannak, akik esküsznek az impregnálás mellőzésére, sőt a BEAG gyári trafó adatlapján felhívják a figyelmet a mellőzésre. Ezzel szemben nagyon kevés gyár nem impregnál, nyilván nem mindegy, mivel. Szerintem azért is impregnálnak, mert most legyártanak egy terméket és megadják a paramétereit, impregnálva (konzerválva) az 10-20 év múlva is annyi. Másrészt többektől olvastam, sőt valahonnét egy diagramm (?) szerű ábrát is, ahogy a szabad huzal hogyan modulálódik oda-vissza. Arról többen beszámoltak, mérésnél, műterheléssel milyen jól hallhatóan zenél a kimenő trafó... Ide is felraktam (régebben) egy fórumtárs másutt megjelentetett cikk részletet, orosz amatőr hogyan, mivel impregnál. Nem teljesen úgy csináltam, de a keverék 60% méhviasz 40% paraffin. Ezt vizes edénybe helyezett fém edényben olvasztottam meg az elegyet és tartottam valamivel forráspont előtt a vizet. A megolvadt elegybe beraktam a tekercset és amíg láttam a kicsi buborékokat feljönni, hagytam. A pr/szek kapacitása ca. 2/3-al nőtt meg. Megjegyzés: Az általam készített módozatok semmiképpen nem az egyedülálló lehetséges jó megoldásokat tartalmazzák, csupán arról van/lesz szó, én hogyan csinálom. A hozzászólás módosítva: Okt 4, 2017
Impregnálás jelentősen rontja a kimenő átvitelt, szerintem nagyobb hátránya van mint előnye.
Kipróbáltam régebben, egyik kimenőt impregnáltam, másikat nem, négyszöges mérések is bizonyították, hogy kár volt. Az impregnált rezonancia pontja jóval alacsonyabb pontra került, a megnövekedett kapacitások miatt. Jelentős túllövést produkált 10kHz négyszögön.
Igen, sajnos ettől tartok én is, ezért is kérdeztem a tapasztalatokat. Kimenőt eddig nem impregnáltam. Köszi mindenkinek a választ.
Próbáld ki, mérve, meghallgatva biztosan dönteni tudsz.
Egyébként az impregnált kimenő is "zenél", csak picit magasabb tartományba kerül a hallható ciripelése. Ez természetes jelenség, nem okoz problémát.
Igen. Lehet, hogy ezt fogom tenni. Bár elég jelentős munka egy-egy kimenő, de kíváncsi vagyok én is és most épp van 3 egyforma hiperszil magom, úgyhogy valószínűleg csinálok + egyet impregnálva. Ha ne adj' Isten jobb lenne az impregnált, akkor beimpregnálok még egyet.
Egyébként épp a Te EL84PP elől, hátul trimmerrel-potméterrel szimmetrizálható kapcsolásodhoz készülnek a kimenők. Lengyel vasakra, eredetileg valami Unitra készülékben voltak. Meglátjuk milyenek lesznek...
"Beharangozom", hamarosan a kimenőknek az ő tekerése következik.
Elsőnek csináltam egy sablont, ahol kitöltve követni tudom a tekerés menetét és egyáltalán, vagyis az adott tekervény dokumentálását végzem. Csak semmi bonyodalom, 4:6 arány és ennyi lesz.
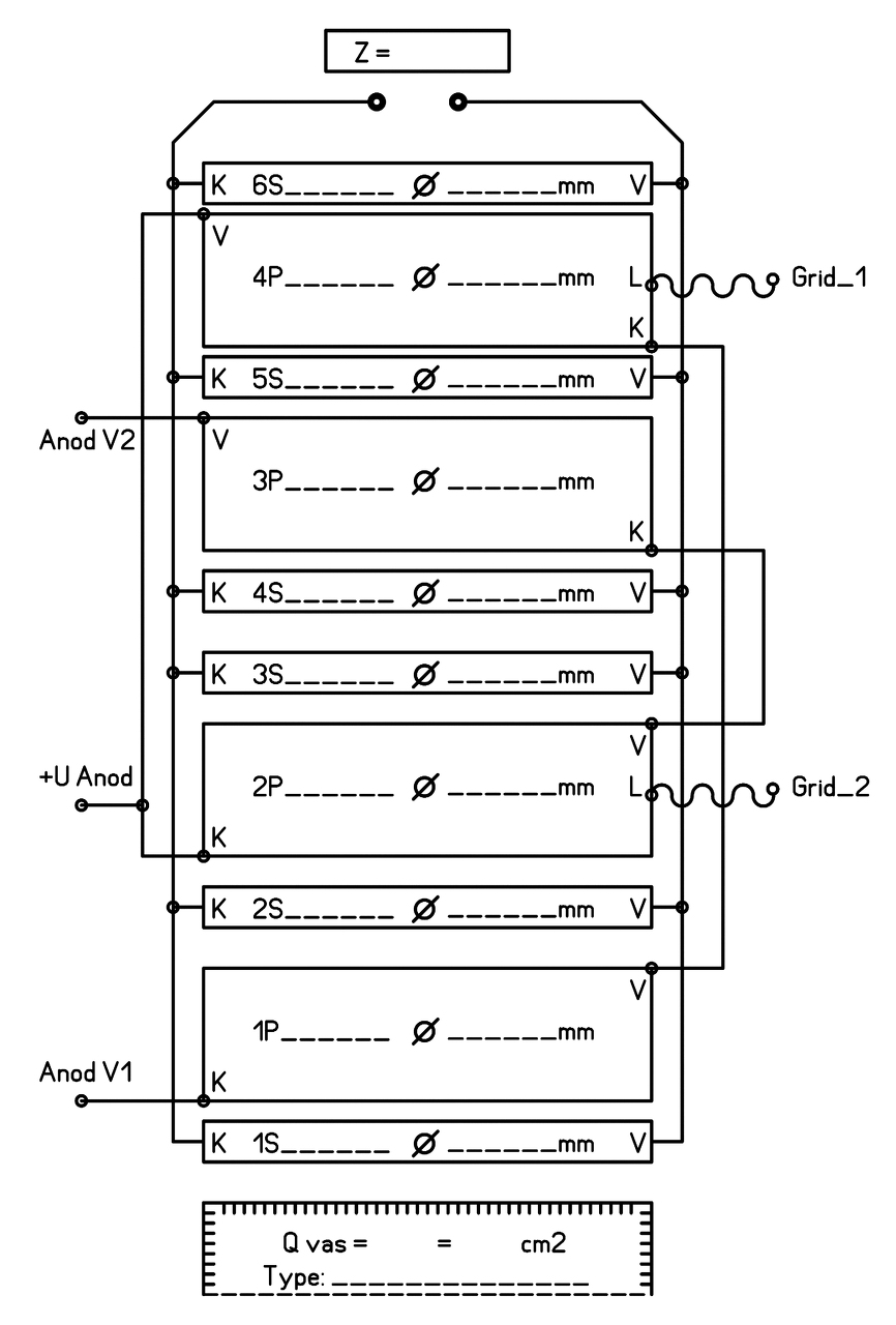
Nem jó ez így a rajz szerint.
Az alsó primer a külsővel lesz sorosítva, a két közbülső pedig egymással, akkor lesz kb. azonos a huzalhossz és azzal a tekercsek Ohm-os ellenállása. Primer-szekunder mindig a sorrend, nincs két szekunder egymás hátán. Egy sor szekunder az a teljes tekercs, vagy fél-tekercs legyen, akkor nyilván sorosítandók is a szekunderek. Szekunderek belül, a primerek kívül helyezkednek el, mert a terhelt szekunder kiszórja az elektromágneses erővonalakat, amit a kívül lévő primer visszakényszerít, hasznosít. Üdv!
Idézet: „Az alsó primer a külsővel lesz sorosítva, a két közbülső pedig egymással, akkor lesz kb. azonos a huzalhossz és azzal a tekercsek Ohm-os ellenállása. ” Most is így van, nem? PP, 70-valahány Ohm anódtekercsekkel kevesebb, mint 0.5 Ohm volt az eltérés. 0.22mm-es dróttal magam tekertem 10 cm2-es E I magokra. A tekercselés eme módja nem is egy helyen felbukkant, az általam most bemutatott a középen dupla szekunderen kívül már huszonéve, mint kiváló Hi-Fi trafó, Rózsa Sándor mérnök úr keze munkáját dícséri. Őt anno és még most is respektálják többen csöves terén. A hozzászólás módosítva: Nov 5, 2017
Elnéztem, bocsánatot kérek!
Az új rajz már rendben van. ![]() Üdv! Idézet: „Primer-szekunder mindig a sorrend, nincs két szekunder egymás hátán. ” Abszolút tévedésben élsz. |
Bejelentkezés
Hirdetés |











