Fórum témák
» Több friss téma |
Fórum » Csöves erősítő készítése
Ne feledd betartani a fórum viselkedési szabályait, és a topik megmaradásának feltételeit. [link]
A téma átmenetileg fagyasztva lett, hozzászólni nem tudsz!
Több megoldás lehetséges:
1. Csökkented az anódáramot, nagyobb negatív-előfeszültséggel, kb. 35-40mA-re. 2. Áteresztő-tranzisztoros kapcsolással csökkented a teljes tápfeszültséget, majd a végén leírom hogyan. 3. Tegyél be még katódellenállást a végcsövekhez - és ezzel, meg az előfeszültség beállításával megfelelő munkapont elérése. - Áteresztő kapcsolás: Ehhez kell egy BU508 vagy hasonló, akár szigetelt házú tranzisztor, egy 75V-os 1-5W közötti teljesítményű Zener-dióda, amit a tranzisztor kollektora és bázisa közé kell kötni, a dióda katódja a kollektoron. Így az emitterén megjelenik a kb. 75V-al csökkent feszültség, ami a végfokot ellátja. Az emitterre esetleg lehet egy 220k-470kOhm 2W-os előterhelő ellenállást tenni, valamint egy plusz szűrőkondenzátort, ami 1-47µF közötti kapacitású lehet. Ez a megoldás sok más kapcsolásban is alkalmazható, de mindettől függetlenül a cső helyes munkaponti beállítása a lényeges. Soros gerjedés-gátló ellenállások a rácskörben és a segédrácsnál is szükségesek minden esetben. Sok sikert! Kellemes Ünnepeket kívánok! Üdv!
Köszönöm szépen!
Kellemes ünnepeket viszont!
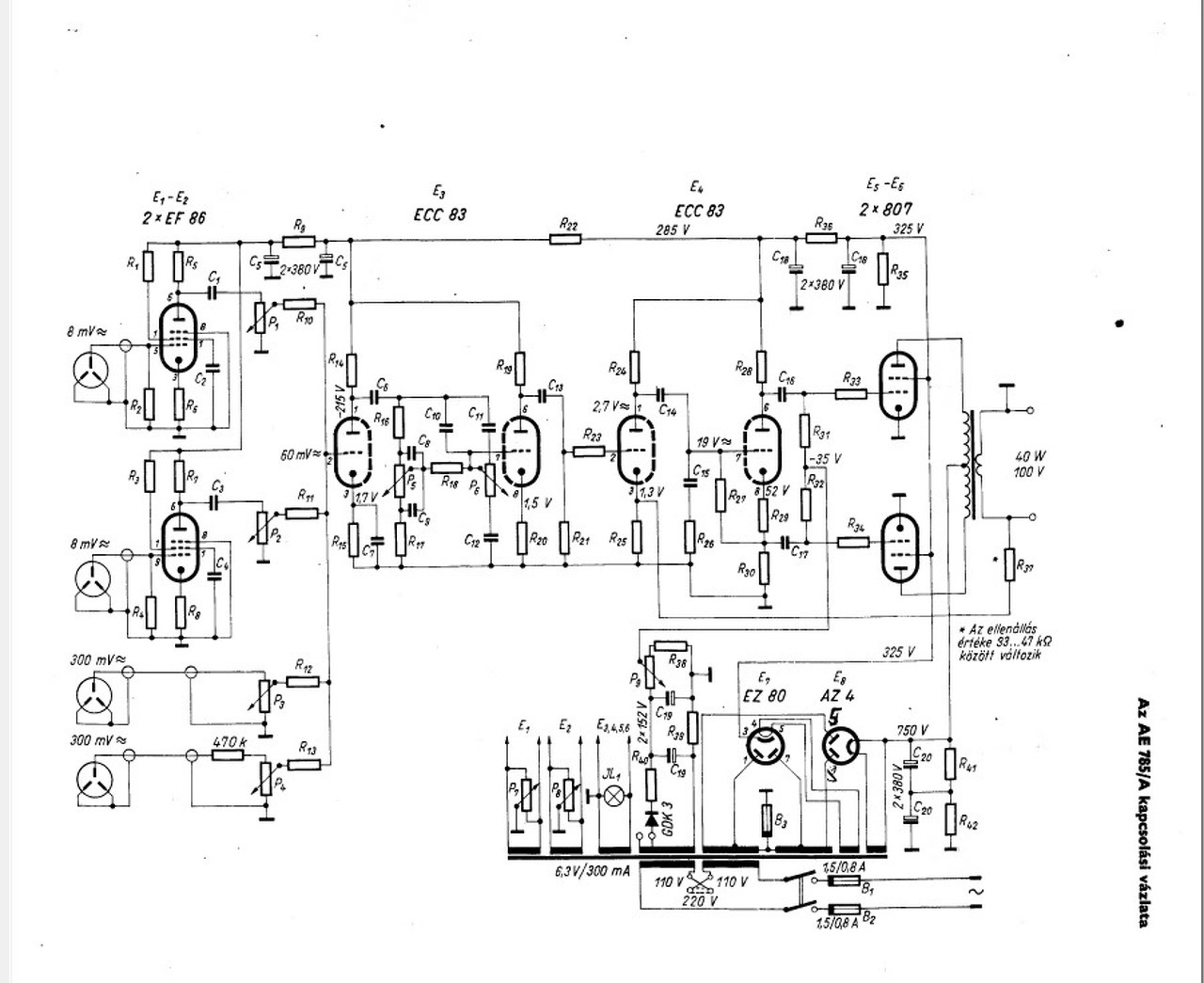
Az EAG 785/A-ban 750V az anódfesz. Nem hiszem, hogy az lenne a baja. A segédrácsnak is jó a 300V.
Szkópon meg kéne nézni, hogy nincs-e gerjedés. A hozzászólás módosítva: Dec 23, 2017
Sziasztok. PCL86-nak mekkora az ideális fűtő feszültség? Tudom hogy soros fűtésű és 300mA fűtőáram a lényeg. Olvastam már 13,3V-tól egészen 14,5V-ig mindent.
Szerintem a gyártó függő. A Tungsram katalógusom 14,5V-ot ír. A Valvo 13,3V-ot. A Telefunken kb. 14,5v-ot (Lehet hogy a Telefunken pcl86-okat is a Tungsram gyártotta?
). Régebben leteszteltem kb. 20 pcl86-ot (nem mindegyiken volt felirat) , hogy hány voltnál veszi fel a 300mA. 13,5V-15V-ig volt minden. Ha biztosra akarsz menni akkor beállítod a 300mA-t .
Köszi. 300mA beállítása macerás. Akkor a legkorrektebb az lenne ha a PCL86 SE-ben a két csövet sorba kötném és még velük sorba egy ellenállást és 30-32V körüli lenne a fűtőtekercs.
Fordítsuk meg a dolgot. Egy E sorozatú csőnél sem szentírás az általa felvett áram, az lehet eltérő (a mellékletben feltöltött csőnél 500, +- 40mA, ami 8%). Na mármost a fűtőteljesítmény vitán felül P=UXI, tehát ebben az esetben sem egyforma két cső esetében, hiába kapcsoltunk rá laboratóriumi pontosságú 6,3V-ot. Nyilván, a gyártók kb. megsaccolják, milyen hosszú fűtőszálat tettek bele, meg milyen vastagot. Ezen múlik a feszültség,ill. az áram.
A problémád pedig az, hogy a fűtőtekercset méretezni akarod a csőhöz. Ilyen esetben szerintem botorság a 300mA-hez ragaszkodni, a trafót nem tudjuk "áramgenerátorként" tekercselni. Ha Tu lesz a felhasznált csövek nagy része, akkor én a katalógus középértékét venném alapol, pl. 14V-ot. Ui: PL504, vagy 509 esetében 27, ill. 40V-ra méretezett fűtőtekercset használtam, soha nem mértem meg az áramot, pontosan hova állt be. Nagyságrendileg úgyis jó lett, biztosan. A hozzászólás módosítva: Dec 23, 2017
Imi, ha már posztolsz:
"Csővédő" NTC-re "modern" tipped van? Különös tekintettel arra, hogy mindenki retteg a bekapcsoláskor "rikítóan" világító fűtőszálaktól...
Persze ez csak elméleti dolog volt. 14V-ra szoktam a fűtőtekercset tekerni. Egyszer kísérleteztem vele hogy labortápról 13és 14,5V között variáltam a feszültséget. A terhelő áram nem nagyon akart változni, mintha stabilizálta volna cső.
Éppen ezért csodálkoztam. Sajnos nincs szkópom.
Igen, ez is orvosolható, DC-fűtés és egy LM317T-el, vagy még jobb az LM350T IC-vel felépített áramgenerátor.
Ezt a csövek maximális áramfelvételére kell méretezni és csökkenti a bekapcsoláskor jelentkező felvillanást a fűtőszálnál, valamint az áram-korlátozása miatt sem enged nagy áramfelvételt kialakulni. Ezzel növelhető a csövek fűtőszál-élettartama is. Hasonlóan megoldható ez egy UA723-as IC-vel és áteresztő-tranzisztorral tápegységként, stabil fűtőfeszültséget szolgáltat és a belső áramkorlátozása révén, védi a csöveket a túlzott áramfelvételtől, illetve a szükséges fűtőfeszültség a bekapcsoláskor lassan jelenik meg, az belső áramkorlát miatt és ez lassan kezdi fűteni a csöveket, majd a beállított osztó által megadott fűtőfeszültség beáll és stabilizált is, meg az áramterhelhetőség is méretezhető. Üdv!
Nem véletlen linkeltem az adatlapot. Az ajánlott AB beállításoknál a rács előfeszültség -35 V, a nyugalmi anódáram 2×15 mA, 750 V anódfeszültségnél.
Semmi szükség nincs az anódfeszültség csökkentésére 750 Vn-ig, de stabilizálására sem. A rács előfeszültséget viszont nem árt stabilizálni, az viszont csak 40 V körül van.
Jelenleg trimeres megoldás van. Fel tud menni akár -45 voltra is de itt már nincs nyugalmi áram.
Most 38 mA -rel próbálgatom, egy kicsit vesztett a teljesítményből de megszűnt a végcső rácsának az átizzása. Arra gondoltam hogy a teljesítmény veszteséget ami elenyésző a meghajtó csövekkel kompenszálom.
Stabilizálta is. Ha növelted a feszültséget, emelkedett a szál hőmérséklete, nagyobb lett az ellenállása. Ez az áramot nem engedte a feszültséggel arányosan nőni.
Bevallom katonásan, hogy én már nagyon régen találkoztam a jelenséggel, a mostanában használt (börzés) orosz csövek közül pedig egynél sem. Inkább ez amolyan Tu ECC-s probléma lehet, persze láttam ilyet PCF-nél is (eredeti, TV-s alkalmazásában), aminél ott volt a fűtőkörben az NTC. Mindig ez izzott fel először, és nem is kicsit, sötét szobában kirajzolta a TV hátlap rácsait a falra....
Több megoldást is el tudok képzelni, pl. egy előtét ellenállás, melyet pl. egy relével söntölünk (vannak egész kicsi relék DC 16-24V-os tekerccsel). Olyan sok egyébként az ilyen cső?
Olcsó, egy alkatrészes megoldásban gondolkozom, nem is saját részre (csak úgy).
Idézet: „habár 80 voltot ejteni hmm.” Pontosan ugyanakkora hő fog disszipálódni ellenállás és áteresztő tranyó esetén 1:1, döntetlen. Tranyót könnyebb hűteni. 2:1 a félvezető javára. PP esetén az EGYSZERŰ, emitter/scouse követő stabilizált táp pár voltot ingadozik csak, ami nem mondható el egy sima RC szűrésről. 3:1 a félvezetős javára.Fojtó ezeknél jobb, de drágább
Nem macerás. Párhuzamosan kell kötni a két csövet, kicsit nagyobb fűtőfesz, kisértékű soros ellenállás. Már leírtad a másik megoldást is
Ugyanez csak kétszer ekkora feszültséggel, fele árammal..
Idézet: „emitter/scouse követő stabilizált táp pár voltot ingadozik csak” Ez igaz, csak a kolléga javaslata alapján elkészített áramkör ezt nem tudja produkálni. A Z-dióda a kollektoron lévő feszültségváltozást továbbviszi a bázisra, ami - szerencsére erősítetlenül - ott lesz az emitteren is. Ha már félvezető, akkor használjuk ki azokat az előnyöket, amiket emitterkövetőként tényleg tudna a kapcsolás, ahogy le is írtad.
Sziasztok!
Elkészülte csöves házimozi rendszerem utolsó készüléke. Ezúttal a választás a szívemhez közel álló TV csövekre esett. Nehéz dió volt. mert nyilván ezeket a csöveket nem erre a célra tervezték. A kiindulópont az interneten található kapcsolások voltak EF80-al és PCF 80-al. Sajnos egyik sem volt életképes,ezért előszedve régi könyveimet ,azok segítségével a PCF 80-nál maradva hoztam össze az egyszerű SE kapcsolást. A gép UL kivitelben készült. A rengeteg szívás ellenére a végeredmény az elvárásaimat nagymértékben felülmúlta. További jó készülődést és Kellemes karácsonyt kívánok.
Ez gyönyörűséges!
Mi a teendő akkor ha kapok egy nagy halom csövet de a felirat alig vagy egyáltalán nem olvasható?
Csinálsz róluk jó képeket, és ideteszed (legalább 2 nézetből). A hozzáértők megsaccolják. Továbbá a csőkatalógusok képeiből megpróbálod azonosítani.Vannak módszerek, alig látható feliratok leolvasására.
A hozzászólás módosítva: Dec 25, 2017
Mátyás király és a bíró lánya
"...És itt az ajándék. Azzal felemelte a szitát, hát elrepült belõle a galamb. - Elszállt az ajándék, felség, tehát hoztam is meg nem is." Kb. így jártál, ha nem is egészen...
Ne fogadd el. Remélem nem azokból akarsz egy újabb "erősítőt építeni" nulla hozzáértéssel, meg szemétbe való alkatrészekkel.
Ingyen miért ne fogadja el?
![]() Azt írta, hogy "kapok", nem azt hogy "veszek"
Csak a NOS, "verde-fényes", lehetőleg minél drágább az igazi! Szemet akkor sem használunk, ha aranyból van.
A hozzászólás módosítva: Dec 25, 2017
Ok, ok, de láthattad korábbi ész nélküli "próbálkozásait". Azokból semmi jó se lett. Tőlem ugyan azt csinál, amit akar. De példának elrettentő, amit művelt az "erősítők" kapcsán. Nekem is vannak felirat nélküli csöveim, de a helyükön kezelem őket.
Kösz a le....st de ez egy olyan téma amit nem tudok csak úgy könyvből megtanulni. Tovább nem folytatom mert egy bizonyos szint alá nem megyek.
Addíg is tanul, míg kibogarássza, hogy melyik cső melyik. Legalább forgatja az adatlapokat, kitalálja, hogy a fűtés hány ohm körül lehet, megtanulja azonosítani az elektródákat leskelődés, méret alapján, stb. Az ilyen manőverekkel nem lehet tönkretenni egy csövet, ha csak ki nem esik a kezéből.
|
Bejelentkezés
Hirdetés |



). 








