Fórum témák
» Több friss téma |
Bocs nem voltam, de elfoglaltak az unokák... Szóval a HE-S-től rendeltem a NYÁK trafót... nem Puskás. Lejjebb vittem a frekit számítás szerint 640Hz-re (ha jól rémlik) Így fel ment a kijövő 218V-ra (csak a trafón mértem a 16uFos részét nem félek kinyírja a multimétert). Össze raktam most már a kisütő részét olyan jó 1 cm-ről húzza az ívet kb.:2..3s-onként . Azért ma rendeltem a HE-től ~5VA 6-és 9V-os szekunderű trafókat....Ez még elférne a NYÁK-on úgy néztem.
Még egy kérdés: alább néztem ezt a egyszerűsített kapcsolást. Nekem a secunderrel egy dióda van záróirányban... Tegyek inkább egy kondit, hogy rezegjen?
Még annyi : amikor csak az inverter megy olyan 30mA-t vesz fel, a kisütéskor ez felszalad 80mA-re. Igaz egy analóggal mértem, nem tudom a tehetetlensége mennyit csillapít.
Bocs hogy belevau.. De az áramfelvétel legalább 260-300 mA kellene hogy legyen. Kicsi a feszültség is amivel a kondít töltöd. Legalább 350-500 V kellene hogy legyen kellő energia. A leírt feltöltési idő is baromi lassú. Egy 20 µF -ot fel kell tölteni 1 - 1,5 sec alatt.. De ha ezzel a feszültséggel számolom, akkor 16µF - 218V az nincs még 0,5 Joule sem.. így a karámvezetéket kézzel is nyugodtan megfoghatod. A kondin is nyugodtan mérhetsz feszültséget, nem fog tönkremenni, de sokat nem érsz vele.. Mert vagy olyan multiméterrel kell ami csúcsértéket rögzít, vagy analóg műszer. A mintavételezése a "kommersz" multiknak nagyon lassú.
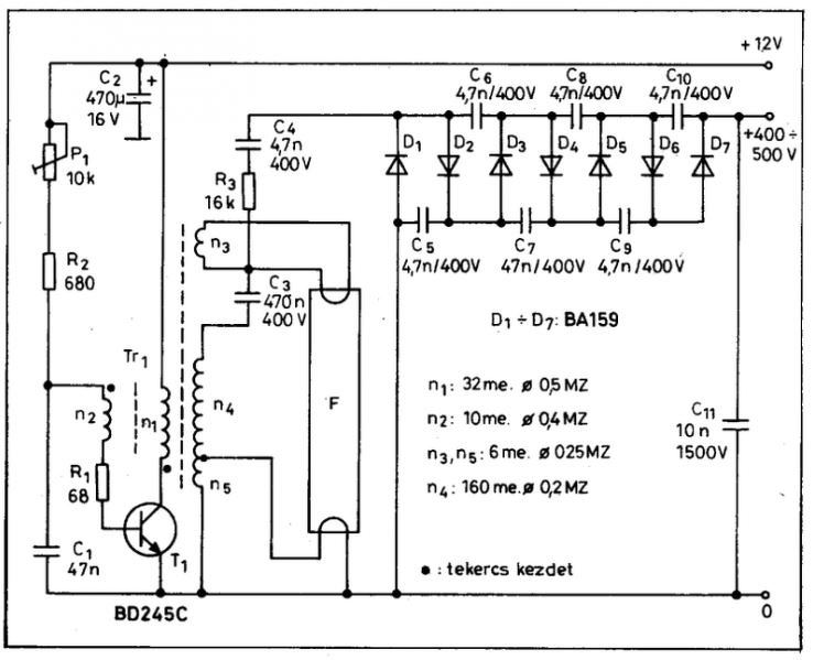
A diódát NE VEDD KI! Sőt oda ajánlatos, egy 2A 1300-1500 V-os gyorsdióda ( legvégső esetben BY238 ) De viszont a nagyfesz trafóval köss párhozamosan egy 0,5 - 1µF 630 voltos kondit, közvetlenül a trafó kivezetéseire A frekit tedd vissza 1- 2 kHz környékére. Az R2 et cseréld ki 4,7 -6,8 kOhmra és vedd ki mellőle a diódát. Ugyancsak cseréld ki az R1-et 470 - 680 Ohmra, a C1-et meg 150 - 220nF-ra. Így egy 220/10 v-os nyáktrafóval 400- 450V-ot produkál. Ha esetleg elszállna a tirisztor, akkor a trafóval köss sorba ( közvetlenül egy 8-10 uH-is légmagos fojtót közvetlenül a C6 után..( 2 sorban, soronként 11 menet 1-es huzalból 15-ös átmérőn ) Mindez igaz feltéve, ha ezt a kapcsolást építetted meg: Bővebben: Link Az hogy mekkora ívet húz terhelés nélkül, semmit sem jelent, mert ha rákötöd a közel 600 ohmos karámvezetéket, akkor elvész a feszültség.. Az NE555 mit hajt meg? Mármint milyen tranyót? Ugyanis az sem mindegy milyen.. Javaslom a BUV27-et, hűtőbordával... Vagy esetleg FET.. de akkor kell egy lehúzó ellenállás plusz ki kell cserélni az R3-R!-et egy darab 22-33 Ohmra
R2 cseréld ki 2,2 k-ra, R1-et 470 Ohmra, C pedig 100nF
És az R2-vel párhuzamosan kötött 1N4148 ast vedd ki , nem kell. Aztán nézd meg mekkora a feszültség a 16 µF-os kondin Na meg azt hogy mennyi idő alatt tölti fel A FET-re tegyél egy kisebb méretű hűtőbordát. Az áramfelvétel olyan 300 -400 mA körül lesz, a kondin meg kb 450V - 500V. Motorindító kondival felmehetsz egészen 650 V-ig semmi baja sem lesz Próbáld ki Az 1N4007 gondolom a 220v/9V szekunder lábain lévő egyenirányító híd ( 4 db 1N4007 ) Az oda tökéletes.. De egy diódát ( 2A 1300V minimum ) tegyél párhuzamosan záróirányba a tirisztorral. A tirisztor legalább 800V-os legyen.. Javaslom a BT XXX sorozat helyett a TYN 1220-at.. Tovább bírja, és nem is melegszik még kicsit sem.. Mellékelek két fájlt.. Az egyik egy korábbi változat beültetése. A Másik egy Nyákrajz, univerzális, illetve ferrit trafós változathoz. Layout 6-al készült. A fájlban minden adat megtalálható. Saját tekercselésű ferrit trafóval felmentem 850 V-ig
Üdvözöllek!
Köszönöm,hogy válaszoltál helyettem!
Remélem nem baj.. csak gondoltam ne küzdjön vele túl sokat.. Nyilván ugyanezt írtad volna.
A melléklet nyáktervel 10-20 pásztor épült, és gond nélkül üzemelnek már jó ideje. A Trafó helye azért ilyen kacifántos, hogy a nyáktrafók java része, és az ilyen olyan bontott ferrit trafók is beépíthetők legyenek. Természetesen a nyákterv szabadon használható..már ha valaki építeni akar hasonlót. A fojtóval és a tirisztort védődiódával ellátva igen stabil pásztor építhető. A trafónak - mármint a nagyfeszültségűre gondolok - már rég nem az autó gyújtót használom.. Van két saját tervezésű, zárt vasmagos, vákuum impregnált. ezek szériában mennek. Az egyik 4,5- 7, a másik 6-12 Joule energiát is kis veszteséggel kijuttat a karámvezetékre. Ezek a gyújtótrafós megoldások is jók, de 3 Joule felett már csak az energiát fogyasztják, a vékony szekunder huzal miatt nem képes kijuttatni csak max a tárolt energia 1/3-át.. Így ezekkel 2 Joule-nál nagyobb pásztort építeni felesleges..
Ebből egyszerűen lehetne villanypásztort építeni. Valaki tudna hozzá egy egyszerű "szaggató" áramkört?
Valamint a feszt. is csökkenteni kéne 2kV-ra. https://m.ebay.com/itm/DC-3-6V-6V-20KV-20000V-Boost-Step-up-Power-M...BZue-8 A hozzászólás módosítva: Máj 7, 2018
Gondolom 7 kVoltot akartál írni..
Nem akarom a lelkesedésed elvenni, de nemigen hinném hogy ebből bármekkora feszültség is kijönne 600 Ohmon Kb ez egy gyenge autótrafós villanypásztorral egyenértékű lenne.. vagy még annyi sem. Ha eltekintünk attól hogy ez tartós üzemben szerintem 2 nap után elpusztulna, vegyük sorra a megadott paramétereit: Egyik a bemeneti áramfelvétel 1,5 A ez Kinaira lefordítva, inkább 2 A.. Horror.. Csak hálózati üzemben lehetne használni..De ez nem lenne baj.. A kimeneti áramot 50mA-ben határozza meg.. Nos ezt igen nehezen hiszem.. inkább 0,005A lesz az, vagy még annyi sem Aztán hogy oldod meg, hogy a Joule érték kontrollálható legyen? Nem beszélve a szaggatásról.. Ezek jellemzően sokkoló, vagy jobb esetben valami gyújtószerkezethez készültek, ami napjában ha kétszer használva van, akkor sokat mondtam.. Így az éledési ideje pár másodperc lehet.. Ha viszont tartósan 1,5 A-es fogyasztással folyamatosan adja a nagy feszt, ( a leírás szerint 5 másodpercenként ) akkor meg végképp alkalmatlan villanypásztor céljára..mert a nap 24 órájában működnie kellene, és már csak az áramfelvételből és a méreteiből kiindulva sem hinném, hogy 2-3 óra múlva nem egy cseppé olvadt elszenesedett kis műanyag paca maradna utána.. ![]() Olcsónak olcsó, csak nem erre találták ki A hozzászólás módosítva: Máj 7, 2018
Köszi
Idézet: „Remélem nem baj.. csak gondoltam ne küzdjön vele túl sokat..” Dehogy baj,inkább örülök neki és számomra is értékesek amit leírsz.Köszönöm!
Köszönöm
Jó néhány pásztort terveztem már ( gyáriakat is.. ) így hátha valaki hasznát veszi a leírtaknak. Sajnos a hazai kereskedelem - eltekintve a "maszek" gyártmányoktól - pofátlanul túlárazza a készülékeit. Cégneveket, típusokat etikátlan lenne megneveznem, bár megérdemelnék.. De azért jó néhány hazai forgalmazót megkérdeznék szívesen, hogy mi indokolja a sokszor 200%- 300%-os eladási árat. ( nem elírás!!! ) És itt nem a beszerzési és eladási ár különbözetére gondolok - mert nyilván keresni kell a kereskedőnek - mert nyilván azzal termeli ki az adót, alkalmazotti béreket, megteremti a kereskedéshez az infrastruktúrát, hirdet stb.. Inkább arra hogy ilyen mértékben túláraznak olyan készülékeket, amik igazán még a beszerzési árukat sem érik meg, mert egyszerűen ócskák, gagyi alkatrészekből, silány kivitelben.. És olyan számokat írnak rá, mind teljesítmény, mind feszültség vagy éppen használható kerítés hossz tekintetében hogy sokszor a hajam égnek áll..
Én igazából "kisgyerek" vagyok e témában,de sokat kísérletezek főleg az inverteres megoldáson ami valamikor egy gyújtóelektronika volt benzinmotorokhoz.Ezen elektronika kicsit módosítva a kis traktorom gyújtását látja el hall jeladós vezérléssel.Szinte bolondbiztosságra törekedve épült meg,ezen tapasztalatokat próbálom áthozni a pásztor elektronikába is több kevesebb sikerrel.Persze jobbítani,máshogy gondolni mindig lehet,de rontani is.
Gyári pásztorok az egy külön "állat fajta". Néhány volt a kezemben,engem is elborzasztott az áruk,de ezzel nem tudok mit kezdeni,szerencse,hogy nem nekem kellett megvennem.Név nélkül, mértem néhánynak az áramfelvételét,akkus üzeműekről beszélek,megdöbbentő volt a ráírt és a valóság.A mérést 9V DC feszültségnél kezdtem és 14,4V -ig mentem el,gondolva az esetleges napelemes töltős akkus kavalkádra.Volt ami 10V feszültségen már nem igazán akart működni,minden esetre tanulásra jó volt a méricskélés.Analóg mutatós műszereket használtam,ezeken szépen láthatóak a változások,ahogy Te is írtad.A kerítés hosszakról meg jobb nem beszélni,a gazdának a valóság úgy is többet mond,de hát a szép számok mindig hatásosak,mint bókok a kedvesünknek és meg is van a "varázslat".
Szia!
Esetleg lenne ötleted, mivel lehetne kiváltani az elektromos rovarölők (rácsos, fénycsöves) halott nagyfeszültségű részét? Egy átalakított pásztor esetleg jó lehetne, kisebb energia, de sűrűbben?
Szia.. Az nem azon az elven működik mint a villanypásztor.. Ott egy sima ferrittrafó van ( mint a régi TV-k sorkimenő trafója ) Ezzel építenek egy önrezgő oszcillátort ami párszor 10 kHz-en rezeg.. Jellemzően ( 35-50 kHz )Ez állítja elő a nagyfeszültséget és ezzel gyakorlatilag folyamatosan töltik a rovarölő nagyfeszültségű vezetékeit. A távolság a testfelület és az elemi szálak vagy rács között úgy van beállítva, hogy bármi ami közé kerül, már átlépje azt a minimális távolságot ahol már átüt.
Számtalan kapcsolás kering a neten erről: Az egyszerűségénél fogva, fél nap alatt trafóval együtt elkészíthető. De itt is van a Hobbin fórum róla.. Bővebben: Link De mellékelek egy fotót, én ezt a típust preferálom. Bár a kimenő feszültségét kissé meggemeltem
Próbálkoztam anno, de csak korlátozott sikerrel. Ezt még nem építettem meg, de a 230V-ból sokszorozóval működő verziók (hengeres készülékek zöme), nem jó, gyenge. Ez annyiban más, hogy DC 12V-ból indul az eleje. Ezt a módosítást leírnád? Mennyire emelted meg?
A jó fajták hangosan csattannak amikor rovar repül a rácsok közé, nagyoknál pedig addig égetik, amíg el nem tűnik belőlük a nedvesség, vagy szét nem esnek. A képeken a Westside (2x20W cső) trafója látható.
Bennem is érik egy ilyen sokszorozós villanypásztor gondolata.
A trafósak leggyengébb pontja a trafó, szórása van betelít, pocsék hatásfoka, drága, vagy szenvedés a tekerése... Én arra gondoltam, hogy fesz sokszorozóval állítanám elő a 10 kV-ot (12V akku, pushpulltrafó 50kHz, 1kV szekunder, fesz 10 szerező). A sokszorozó kapacitásaiban pont annyi energia lesz amennyi a félCUnégyzet. Kimeneti ellenállásom pont annyi lesz amennyi ohmot teszek utána. Egy forgó szikraközzel elintézem az impulzus darabszámot, a karámnak feszültségmenetes (a sokszorozónak meg terhelésmentes) időtartamokat. Ha több szikraköz van a forgó cuccon, akkor eltérő erősségű impulzusokat is adhatok a karám különböző szintjeire (alsóra többet mert ott több a gaz..). Ha az alsó földet ér, attól még a fölötte lévőkben lesz áram. Még nem foglalkoztam komolyan a dologgal, még csak az ötletek érnek a fejemben. A hozzászólás módosítva: Máj 8, 2018
Idézet: „Én arra gondoltam, hogy fesz sokszorozóval állítanám elő a 10 kV-ot (12V akku, pushpulltrafó 50kHz, 1kV szekunder, fesz 10 szerező).” Szia Nem szeretném a lelkesedésed elvenni, de ha ennyire egyszerű lenne, nem küzdenének a gyártók a nagyfesz trafóval. Amúgy sem annyira nehéz legyártani, csak a technológia nem mindegy Az elmélet jó, azonban a sokszorozó nem képes impulzus üzemben tölteni egy karámvezetéket akkora feszültséggel, amire szükség lenne, nem beszélve a szükséges energiáról. Minden sokszorozó veszt a kimeneti feszültségéből terhelés hatására. Minél több lépcsőben csinálod a nagyfeszt, ez a hatás annál drasztikusabban jelentkezik. Az egyenirányítók belső ellenállásán terhelés hatására jelentős feszültségesés mérhető. Így külső terhelés ( karámvezeték közel 600 Ohm ) által kivett áram, jelentős feszültségesését okoz minden egyes félvezetőn amivel a sokszorozást csinálod. De a kivehető áram egyébként is nagyon pici, mikroamperek... Ez afféle "22-es csapdája" Minél több Willard feszültségkétszerezőt teszel egymás mögé, annál nagyobb lesz a belső ellenállás, és minél nagyobb a belső ellenállás, annál nagyobb a feszültségesés terhelésre. Ebből még az következik, hogy az egyébként is pici kivehető áramod még inkább csökken.. Tehát: Minél nagyobb feszültséget csinálsz, annál nagyobb lesz a veszteség.. Csak alkatrész-temetőnek jó.. másra nemigen tudod használni
Idézet: „Ezt a módosítást leírnád? Mennyire emelted meg?” 700 voltra emeltem meg, még két kondi + két dióda. Ha a belinkelt kapcsolásra gondolsz, ott már az utolsó két kondi 630 V-os legyen.
És ez hozta neked azt az "erőt", amiről írtam?
Nem értem a kérdésed.. Fejtsd ki.. Mert bárhonnan is nézem, nem életképes az alap elgondolás
Idézet: „A jó fajták hangosan csattannak amikor rovar repül a rácsok közé, nagyoknál pedig addig égetik, amíg el nem tűnik belőlük a nedvesség, vagy szét nem esnek.”
El nem veszed azt, ami nincs.
Elsiklottál a forgó szikraköz felett, az a kapcsoló, ami tehermentesíti a sokszorozót. Ha a sokszorozó a pihenőideje alatt fel tudja tölteni magát 10 KV-ra (terheletlenül), akkor kész, az energia megvan, a feszültség megvan a szikraköz (nagyfesz kapcsoló) pedig, ahhogy csökkenti a távolságát egyszercsak-átüt-ég-kialszik, (kicsit fogy az anyaga), majd távolodik a sokszorozó meg magára marad. Tehát a sokszorozó terheletlenül jár, csak feltöltenie kell magát (pontosan úgy mint a CDvillanypászotok kondijai). Szimuláció majd megmutatja, hogy lehet-e sokszorozóval 5J körül 10kV-ot másodpercenként elérni, illetve hány fokozatot célszerű egymás után tenni (1kV-os lépcső még nem igényel komolyabb kondit, diódát, de ha 2-4 fokozat célszerűbb, akkor az sem lehetetlen.) Sokszorozó belső ellenállás: helyettesítő képben valóban van egy nagyfesz feszgenerátor egy nagy belső ellenállás, de ott van még a kimeneti párhuzamos kapacitás is, én csak a kimeneti kapacitást akarom megtergelni impulzusüzemben, majd a feszgen+belsőellenálláson lassan visszatölteni. Folyamatos terhelést nem bírja a sokszorozó az egyértelmű. A forgó szikraköz lesz a gyengéje, mert mechanikus és kopik, plusz fogy az elektród, karbantartásigényes, ilyet egy gyár sem vállalna be, én csak egyet-kettőt csinálnék nekem beleférne.
Bocsi félre olvastad, nem neked szegeztem a kérdést
Az elgondolás jó -elméletben - Gyakorlatban viszont nehéz lesz kivitelezni. De ha már ennyire lelkes vagy, a mechanikus szikra köz helyett, csinálj egy elektronikus kapcsolót tirisztorral, megvezérelve akár egy 555-el. De véleményem szerint továbbra is maga a sokszorozó a gond, mert abban a pillanatban amint rásütöd a karátvezetékre a sokszorózót, leesik a feszültség - elméletben - .
De mostmár azt mondom, egy próbát megér
Pont ez a lényeg hogy, amint rásütöm a sokszorozót a kerítésre, a sokszorozóban eltárolt energia is kijut a kerítésre, ha ebben a pillanatban valami hozzáér a dróthoz, akkor az rendesen "felenergizálódik"
(nincs trafó az energiatárolás és a kerítés között, ezért az nem zabálja meg az energia egy jelentős részét, és nem korlázotta az áram értékét, valamint nem határolja az átvihető energia értékét)! 10kV ot nem lehet akármivel kapcsolgatni. Tirisztorral végképp nem. Talán valamely vákuumcső alkalmas lehetne, de azokat messziről ismerem, éppen csak annyira, hogy elmenjen tőle a kedvem. Vagy kapuzott szikraközzel. De ezek bonyolultabbak, mint egy forgó gyújtáselosztó. Ha és amikor a sokszorozó feszültsége és tárolt energiája a tetszőleges értéket eléri (alapesetben 10kV és 5J) és azt kapuzom rá a kerítésre (szikraközzel, vákuumcsővel, akármivel), akkor a kerítésre kényszerűen lehetősége lesz kijutni a tárolt feszültségnek (és energiának is, ha van hova mennie). Ha nincs hol levezetnődni, akkor feltölti a kerítés kapacitását a maradék bentmarad a sokszorozóban (a kerítés kisül a szigeletés tökéletlenségén, a következő impulzusig). Ha van hol levezetődni (gaz, vagy állat van a drót néhány mm-es közelségben), akkor ott levezetődik (az áram pedig a levezetési hely és a sokszorozó közötti impedancián korlátozódik, amely impedanciát nagyfesz ellenállásokkal lehet és kell befolyásolni. Az áram paramétereit szabványban előírt értéken belül tartani!). Az áram amit így el lehet érni lényegesen nagyobb lehet, mint amit trafón keresztül létre lehet hozni. Szerintem túlságosan (akár veszélyesen) is nagy. A kérdés az, hogy mennyire lesz bonyolult 5J energiát 10kV-on kapacitásban létrehozni és tárolni. De most már annyira felcsigáztál, hogy muszáj leszek szimulálni párat a sokszorozós történetről. 5J-t kell bevinni mondjuk 500ms alatt, az csak 10W teljesítmény, az smafu. A hozzászólás módosítva: Máj 8, 2018
Jó az elmélet.. De én nem is a 10kV kapcsolgatását gondoltam tirisztorral, hanem az 1kV-ot.. Az játszi könnyedséggel megoldható. De amúgy meg a forgó mechanikus szikraköz helyett elég lenne egy gáztöltésű a sokszorozó vége és a külvilág közé.. 1 sec alatt fel kell töltődnie a sokszorozó kondiknak, és hogy ne legyen galvanikus kapcsolatban a karámvezetékkel, elég lenne egy 9-10kV-os szikraköz a sokszorozó vége, és a karámvezeték közé. Amint eléri a 10 kV-ot átüt a 600 ohmos terhelésre. Eddig az elmélet
Próbáld meg legyártani, még akár "deszkamodell" szinten is.. egy próbát megérne A hozzászólás módosítva: Máj 8, 2018
Nem a...te nyomtad félre.
Uhh.. tényleg.. ezt benéztem. Bocsánat.. kissé túl vagyok ma terhelve.. ( Mondjuk mikor nem
)
Találtam egy "eredeti" kínai kapcsolást, ahol mégiscsak villanypásztor elvű kapcsolással oldják meg a rovarcsapda nagyfeszültségét.
A hozzászólás módosítva: Máj 9, 2018
|
Bejelentkezés
Hirdetés |




Na meg azt hogy mennyi idő alatt tölti fel 
és meg is van a "varázslat". 







