Fórum témák

» Több friss téma
Fórum » Elektronikában kezdők kérdései
- Ez a felület kizárólag, az elektronikában kezdők kérdéseinek van fenntartva és nem elfelejtve, hogy hobbielektronika a fórumunk!
- Ami tehát azt jelenti, hogy a nagymama bevásárlását nem itt beszéljük meg, ill. ez nem üzenőfal!
- Kerülendő az olyan kérdés, amit egy másik meglévő (több mint 17000 van), témában kellene kitárgyalni!
- És végül büntetés terhe mellett kerülendő az MSN és egyéb szleng, a magyar helyesírás mellőzése, beleértve a mondateleji nagybetűket is!
Lapozás: OK   3508 / 4051
(#) nagym6 válasza Gafly hozzászólására (») Szept 21, 2020 / 1
 
Idézet:
„Azt mondanám, hogy 5V-os tápfeszültségnél direktben:”
Én kb.: 400 db. ilyen felépítésű led kijelzős ketyerét gyártottam CD4543 közvetlen led meghajtással semmi gond, led áram pont jól "jött ki".
(#) moltam válasza nagym6 hozzászólására (») Szept 21, 2020 /
 
Ez az ic erre is lett kitalálva, mármint led kijelző hajtására.
(#) Peet19 válasza proli007 hozzászólására (») Szept 21, 2020 /
 
Szia!
Értem, köszönöm. Keresek valamit, de az ULN2803-at jó hogy írtad. Így egy kicsit egyszerűbben meg lehet oldani mint mindegyik LED-hez egy külön FET-et akartam rakni ami kapcsolgatja.

Bakman: köszi, olvasgatok.
pucuka: elég béna az adatlapja, de azért mostmár kezd összeállni a kép. Köszi.
(#) Gafly válasza Gafly hozzászólására (») Szept 21, 2020 /
 
Közben rájöttem, hogy a villogó LED-es megoldással eléggé nem véletlenszerű mintázatot tudok csak csinálni. Ámbár a hacsak igy nem, macskák csak nem oldják meg egyhamar.
(#) Jonni hozzászólása Szept 21, 2020 /
 
Sziasztok!

2-3 hete szükségem lett volna egy amolyan galvanikus leválasztóra mert arra tippeltem , hogy egy motor zavarja az arduinomat. Csak külföldi weboldalaokon lett volna megfelelő ezért inkább építettem egyet itthoni alkatrészekből. A működését tekintve jónak tűnik (azaz akkor kapcsol amikor kell )de nem vagyok benne biztos hogy a kapcsolás is helyes. A jelenlegi áramkör az 1-es képen van ezzel az a kérdésem lenne, hogy baj-e az, hogy a föld közös? Ha igen hogy lehet szétválasztani (1 db 12Vos tápról megy az egész)? A 2-ik képen már nem 5 voltról menne az opto kollektor -emitter hanem 12v ról. Ezzel az a kérdésem hogy szabad-e átengedni ezen az optón 12V-ot? És a 2 ik ábrán gondolom R2 értéke meg fog változni és lehet jobb helyen lenne a kollektor előtt.

1.jpg

2.jpg
   
(#) Epu2 válasza Jonni hozzászólására (») Szept 21, 2020 /
 
Ha nem lépi túl a maximumot, ami azért nem 12V inkább 2...3 szorosa és a maximális áramot, (disszipáció), akkor minden rendben.
(#) aramis hozzászólása Szept 21, 2020 /
 
Sziasztok! Azt szeretném kérdezni az akkumlátor töltöbe hogyan kell bekötni az amper mérőt.?
(#) nedudgi válasza aramis hozzászólására (») Szept 21, 2020 /
 
A szabályzó áramkör elé kell kötni, hogy ne bolondítsa meg a szabályzót a műszer belső ellenállása.
(#) Peet19 válasza proli007 hozzászólására (») Szept 21, 2020 /
 
Összeraktam a bináris számlálót a CD4020-al, aminek az órajel bemenetére egy kapcsolóval adom a jelet. Az a probélmám, hogy csak minden 7. vagy 8.-ra vált. Lépteti rendesen de 8-szor meg kell nyomnom a gombot mire egyet léptet. Azt szeretném, hogy minden gombnyomásra lépjen egy számot. Mi lehet a probléma?
(#) pucuka válasza Peet19 hozzászólására (») Szept 21, 2020 /
 
Ha digitális áramkörökkel foglalkozol, szükséged lesz egy (jó) oszcilloszkópra. A digitális áramköröknél fontos a meghajtó jelek fel-, lefutási idejének gyorsasága.
Ennek megfelelően pl. egy gomb helyes működéséhez szükséged lesz egy jelformáló áramkörre, amit egy Schmitt triggeres bemenetű inverterrel valósíthatsz meg. Figyelni kell a prellezés meglétére. Ezeket csak szkópon láthatod.
(#) proli007 válasza Peet19 hozzászólására (») Szept 21, 2020 /
 
Közvetlen nem lehet egy órajel bemenetet tisztességesen vezérelni nyomógombbal. Eksősorban felhúzó ellenállás kell, majd pergésgátló RC integráló tag, végül jelformáló. Mert egy órajelbementnek a fel/lefutásának van minimum sebessége. Másik megoldás RS tároló, ha a nyomógombnak van záró és nyitó érintkezője. De egy 555-ből os készíthetsz jelformálót vagy astabil kapcsolást ami lépteti a számlálókat.
Bement..
(#) Peet19 válasza pucuka hozzászólására (») Szept 21, 2020 /
 
Értem, köszönöm. A mellékletben lévő rajz alapján raktam össze annyi különbséggel, hogy 5V a bemeneti feszültség nem raktam C2-t a reset-re, C3 sincs, és 100k helyett 10k-t raktam. Jaa, és persze LED-ek sincsenek.
Vagyis majdnem ugyanaz, csak teljesen más .
Egyenlőre csak méregetem a kimeneteket hol jelenik meg a feszültség.
A prellezéssel így nincs gond (szerintem) de Te majd megmondod, a Schmitt triggeres bemenetű inverterre meg ránézek. Ezt még nem ismerem annyira, de akkoris furcsálom hogy minden 7-8. gombnyomásra vált.

BIN-CNT.png
    
(#) Peet19 válasza proli007 hozzászólására (») Szept 21, 2020 /
 
Köszönöm a linket, most olvastam a második válaszodat.
(#) Ódenka hozzászólása Szept 21, 2020 /
 
Üdv!
Mottó:
Amit tudni akarsz a ...rózsaszín generátorról de sosem merted megkérdezni...
Mivel ez nem teljesen világos előttem, tanult Kollégák segítségét szeretném.
A rózsaszín zajról nagyjából tudom, miből áll - frekvenciák csökkenő amplitúdóval vannak jelen a zajban - nagyjából így tudom. Az amplitúdók csökkennek, a teljesítmény szint marad a frekvencia "csomagokban".
Rod Elliott egy cikkéből vettem néhány ábrát, a Szerzői jogok miatt törölt alkatrész értékekkel mutatom.
Van:
1, jelgenerátorunk
2, -3 dB szűrők
3, sáváteresztő szűrő
4, átviteli szint ábrázolása dB/Hz koordináta rendszerben

Kérdésem, a legutolsó, áteresztő erősítést, frekvenciát hogyan tudom megjeleníteni egy szkópon?
Gondolom inkább egy pc-s erősítés, THD-IMD, stb. torzítások mérésére készített program alkalmasabb, vagy alkalmas egyáltalán.
Meglévő erősítő rendszer tesztelésére és nem szimulációra gondolok.
Pontatlanságra, pongyola megfogalmazásra, tévedésre minden jogomat fenntartom!
A hozzászólás módosítva: Szept 21, 2020
(#) Gafly válasza Ódenka hozzászólására (») Szept 21, 2020 /
 
Akkor én inkább maradok Brüel-nél, hamár zaj. Az a zörgős dobozos rózsagenátoruk feledhetetlen volt.
(#) pucuka válasza Ódenka hozzászólására (») Szept 21, 2020 /
 
Idézet:
„áteresztő erősítést, frekvenciát hogyan tudom megjeleníteni egy szkópon?”

Egyszerűen sehogy. A szkópból segédberendezéssel spektrum analizátort kell varázsolni, vagy megfelelő műszert kell használni.
Számítógép esetén a hangkártyás megoldások igencsak korlátozottak (kb. 10 kHz -ig), de pl. egy PC -s digitális szkóppal ha van spektrumanalizátor funkciója, megoldható.
(#) Peet19 válasza proli007 hozzászólására (») Szept 21, 2020 /
 
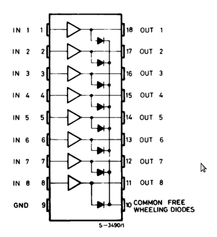
Még egy kérdés. Az ULN2803-nak a 10-es lába mit jelent pontosan?

uln2803.png
    
(#) reloop válasza Peet19 hozzászólására (») Szept 21, 2020 /
 
Szia! Induktív terhelésnél így használhatjuk a diódákat.
A linken ULN2003 van, de az elv remélem érthető.
A hozzászólás módosítva: Szept 21, 2020
(#) majkimester válasza Jonni hozzászólására (») Szept 21, 2020 /
 
Szia Jonni,

Ha galvanikus leválasztást szeretnél akkor a közös föld semmi esetre sem jó. Ha nincs külön tápod, mondjuk egy trafó két független tekercséből, akkor külön tudod választani egy kis izolált DC/DC konverterrel, pl.: Link

Azt, hogy az opto elviseli-e a 12v-ot a opto adatlapjában meg tudod nézni. A rajzon lévő típusra a Vceo = 70V, tehát ezzel nincs gond. Max. 50mA lehet a kimenet árama, ez szerint kell a gate ellenállást megválasztani, de ...

Az opto bekapcsolásakor a FET határozottan nyit (kis R2 gate ellenálláson), viszont ha lezárod az opto-t, akkor lagymatagul zár le a nagy R1 miatt. A kapcsolásra tervezett FET-ek ezt nem szeretik, simán tönkre lehet ezzel tenni, mert a lassú lezárás közben a FET a lineáris szakaszban működik, még nagy áram folyik rajta, de már a feszültség is nő. Megnő a pillanatnyi disszipáció amit akár elvezetni sem tud és tönkremehet.

Ha nem akarsz PWM-et, csak ki be kapcsolás és eléggé túlméretezett a FET-ed akkor ez így működhet, de PWM-hez vagy beteszel az opto és a FET közé egy korrekt FET driver IC-t, pl. TC4420CPA vagy MC33152P, stb. vagy eleve olyan opto-t használsz ami FET driver kimenettel rendelkezik, pl TLP250.
(#) gyoran válasza Peet19 hozzászólására (») Szept 21, 2020 /
 
Szia, látom reloop válaszolt, de azért egy gyors magyarázat tőlem is - ha már megírtam mielőtt láttam volna. Ez - ahogyan a neve is mondja - "szabadonfutó" dióda. De a viccet félretéve: ha egy tekercsen áram folyik és az áram útját megszakítod, az áram szeretne továbbfolyni, de nem tud hova. Erre elkezd nőni a feszültség és a kimenet szomorú véget ér. A 10-es csatlakozót a terhelés felső - általában közös - pontjára kötve a diódán elfolyik a fölös áram és mindenki boldog lesz. Induktív jellegű terhelésnél általában kötelező. Ha LED-et kötsz rá, nem kell, persze ártani sem árt.
Elnézést, ha ezt tudtad már korábban is.
A hozzászólás módosítva: Szept 21, 2020
(#) Gafly válasza Peet19 hozzászólására (») Szept 22, 2020 /
 
Az induktiv terhelés pozitiv tápfeszültségére kötjük mint már irták. LED esetében ez nem kell (bár szokásjog alapján nem hagyunk semmit "lógni", amit lehet valahová kötni.
Az számomra még nem derült ki, hogy milyen LED-ről beszélünk, de szerintem maga az IC sem kell...
(#) Ódenka válasza pucuka hozzászólására (») Szept 22, 2020 /
 
Idézet:
„Egyszerűen sehogy.”

Ettől tartottam, nem a képen látható áramkörök elkészítése a kihívás...
(#) Ódenka válasza Gafly hozzászólására (») Szept 22, 2020 /
 
Alapos tanulmány, egy új rész hamarosan:

The noise of the grass when she grows

(#) gyulank hozzászólása Szept 22, 2020 /
 
Skori teljesítményszabályzójában a 470k potméternek mekkora teljesítményűnek kell lennie? Nekem öt és fél Watt jön ki a 10k után, de akkora nincs.
(#) Jonni válasza majkimester hozzászólására (») Szept 22, 2020 /
 
Szia majkimester!

Köszönöm a sok jó tippet. Kipróbálok belőlük minél többet, kezdem a dc/dc konverterrel mert az pont van itthon. Bár az is lehet, hogy a többit is kipróbálom a kísérletezés kedvéért. (R1 azért lett ilyen nagy mert 5V ment be a gate-n és kisebb ellenállással nem akarta kapcsolni)
A hozzászólás módosítva: Szept 22, 2020
(#) ferci válasza gyulank hozzászólására (») Szept 22, 2020 /
 
Célszerű lett volna linkelned a kapcsolást, de ha az egy triakos szabályzó, a hagyományos 2 W-os poti megfelelő.
(#) Udvari Zsombor hozzászólása Szept 22, 2020 /
 
Adott egy "Microsoft LifeCam VX-3000".
Javítás közben kiugrott a csavarhúzó a csavarból és lepattintotta a panelről a webkamera "telefonkagyló" jelű (egyetlen) gombját és így számítógép már nem ismeri fel az eszközt.
Valahogyan át lehet-e kötni a gomb helyét, hogy a webkamera ismét működjön?
A hozzászólás módosítva: Szept 22, 2020
(#) lelkes amatőr válasza Udvari Zsombor hozzászólására (») Szept 22, 2020 /
 
Úgy van.
(#) Udvari Zsombor válasza lelkes amatőr hozzászólására (») Szept 22, 2020 /
 
Most olvasd el a hozzászólásomat. Sajnos Windows képernyő-billentyűzetből beszúrt szimbólum esetén a beszúrt szimbólumot követő szöveg elküldéskor "megsemmisül".
(#) lelkes amatőr válasza Udvari Zsombor hozzászólására (») Szept 22, 2020 /
 
Ha nyomógomb, nem biztos, hogy szereti az állandó átkötést. Nem tudod visszaforrasztani?
Következő: »»   3508 / 4051
Bejelentkezés

Belépés

Hirdetés
XDT.hu
Az oldalon sütiket használunk a helyes működéshez. Bővebb információt az adatvédelmi szabályzatban olvashatsz. Megértettem