Fórum témák
» Több friss téma |
Fórum » Hangsugárzó építés, javítás - miértek, hogyanok
Témaindító: csonthulye, idő: Dec 10, 2005
Témakörök:
Kedves fery45,
nagyon sok minden hibás a válaszodban. Ha a vatta a doboz aljában összesűrűsödött, akkor az a doboz beázott. Ha nem éri fizikai behatás, a vatta rendkívül sok ideig megőrzi eredeti állapotát. De ne az ilyen "balesetet szenvedett" dobozokat vegyük már alapnak! A gyárban vagy egy jobb DIY műhelyben egy dobozt nem összetöppedt vattával méreteznek és építenek. Sőt, nem is számítanak rá, hogy a vatta "el fog romlani" mikor természetesen nem csillapít. Nem is értem, miért hoztad ezt fel példának, ez olyan, mint amikor egy defektes autó végsebességét akarnád megmérni. Ugyanez vonatkozik a rovarok rongálására is. Miért kellene betervezni egy hangdobozba a rovarok rongálását? Megjegyzem, nekem egyetlen hangdobozomba sem mászott még bele egyetlen molylepke vagy bármi rovar, nem hogy megette volna a vattát... A textil azért válik hangszigetelővé, mert elveszik a hanghullámok energiája, csakúgy mint a levegőben. De ez nem volt kérdéses, a téma szempontjából szerintem nem releváns, hogy milyen textil milyen vastagságban lesz hangszigetelő (legyen inkább hangelnyelő). Szintén irreleváns a házi kókler tömés a nagypapa kabátjával és a pokróccal, ezek nem olyan dolgok amikre érdemes lenne szót vesztegetni. Maradva az autós példánál: fából is lehet kereket csinálni neki, mégsem lesz olyan mint a gumiabroncs. Már megbocsáss, de az interneten néha sokkal több és jobb írás hozzáférhető, mint a Rádiótechnikában - ami még mindig a legszakmaibb volt a folyóiratok között, mégis hihetetlen sok hibás rajz, számítás volt a cikkekben. Akkoriban sajnos ez volt itthon az elérhető. Most pedig még ezer másik, jobb és modernebb cikk és könyv is elérhető. Ha leragadnánk a Klinger könyvnél, akkor soha nem tanulnánk meg jobb hangszórókkal jobb dobozokat építeni, és mindent ahoz, egy 50 éves technikához kellene hasonlítanunk. Szerencsére a világ fejlődik, ezért a régi szakkönyvek egy idő után elavulttá válnak. Az orvostudományban sem piócával gyógyítanak már. A te könyvedet nem minősítem mert nem olvastam, nem is hallottam róla. A wikit (és a többi szakirodalmat) pedig szerencsére nem kell lefordíttatnom, prímán el tudom olvasni angolul is. A kritikus gondolkodás, a logika, az analitikus megközelítés pedig nem olyasmi amit könyvböl tanul meg az ember.
Kedves veroka!
A hozzá szólásodban csak részben van igazad. Egy szervizes, aki több évtizeden át hangszórókat javít, az sokféle jelenséggel találkozik, és ezek között vannak melyek nagyon ritkán fordulnak elő. Bár ismétlődőek. Ilyen a szövet, vattacsomó, mely össze sűrűsödik. A véleményed alapján Te ebben tapasztalatlan vagy. A szervizbe amatőr barkácsoló, kisipari- és gyári termékek is kerülnek. Ezekkel mind-mind találkozik az ember. Nekünk ezeket kell kijavítani és a barkácsoltakat jobb minőségűre átépíteni. A technika fejlődése természetesen folyamatos. Erről felesleges mondatokat fecsegni. A hasonlattal vigyázz, mert ez lehet rossz is! A szakirodalom meg meglehetősen széles skálájú. A primitív megoldásoktól a magas szintű szakvéleményig mindennel találkozunk, akár internet, Rádiótechnika vagy más szakirodalom. Ezek között kell nekünk szűrnünk. "Régi motoros"-nak próbáltam rávilágítani, hogy a hangdoboz belsejében lévő tömés vagy hangszigetelés milyen hatású. Végül is precíz választ senki nem adott neki. A hozzászólók egymással vitatkozunk. Ennyi a szakmai tudásunk a "kiváló internet" alapján. És az internet fordítás is lehetne jobb. Ez mutatja az angol nyelv tudásukat. Sok ilyen fordítással találkozok. Egyszerűen csak "rá szálltam" a külföldi szakirodalomra. El lehet gondolkodni azon, hogy mire megyünk az ilyen külföldi szakirodalommal. Köszönöm a hozzászólásodat, tisztelettel:H.F.
Sziasztok!
Mi határozza meg egy hangszórónak a frekvenciatartományát? Úgy értem hogy például a membrán mérete, vagy a tekercselés, vagy a mágnes....stb.
-Membrán anyaga, tömege, annak kialakítása /mintázata-bordázása...stb amivel a parciális rezgéseket segítik, illetve elnyomják, csillapítják bizonyos frekvenciákon.
-membránt impregnáló anyag tulajdonságai. -A membrán felfüggesztésénak kivitelezése, annak anyaga is. -Membrán és a csévetest közti kapcsolatot adó ragasztó anyag tulajdonsága és annak mennyisége- tömege -Csévetest anyaga és nagyon lényeges ennek tömege - csévén kialakított speciális tekercs minden fizikai tulajdonsága mellett a huzal anyaga, tömege, amivel a tekercset kivitelezték -A tekercset impregnáló anyag tulajdonságai -légrés méretei -illetve még jelentősen befolyásolja a frekvencimenetet a menbrán közepén a csévét és a légrést letakaró Dóm anyaga, tömege. -hangszóró mágnese, annak anyaga és tulajdonságai, illetve a kialakított mágneskör/ök/ útja... Tehát nagyon sok minden befolyásolja a hangszóró frekvenciamenetét és érzékenységét. Olvass utána, rengeteg tanulmány van, a gyártók ezeket a szempontokat lovagolják meg és egyik-másik tulajdonságo/at/ egyedivé alkítják, megváltoztatják ezálltal lesz az a bizonyos híres hangszóró az, ami. Ezek, amiket felsoroltam, csak a leglényegesebb szempontok, sokkal komolyabban és részletesebben veszik a neves gyártók és rengeteg védett szabadalmak vannak ezekkel kapcsolatosan. A nagyokat említsem párat Beyma,Meyersound, JBL, B&C loudspekars, Outline,Martin audio,Turbosound, EAV, Cervin-Vega! és hosszú oldalakon sorolhatnám még... Pl. egy újabb híres magyar gyártó az ESA audio Olvasgass utána. Üdv. A hozzászólás módosítva: Máj 22, 2021
Köszi szépen, utána nézek. Csak még egy kérdés,
Idézet: „"a menbrán közepén a csévét és a légrést letakaró Dóm anyaga, tömege."” ez mennyire befolyásolja a frekit? Úgy értem a nagysága, szélessége? Gondolom akkor minél könnyebb a membrán és a cséve (+ porvédő) annál magasabb frekvenciát tud átvinni? Akkor egy üvegszálas vagy carbon membrántól nem is nagyon lehet elvárni egy magasabb frekvenciaátvitelt?
No akkor. A dóm az a kerek domború, vagy homorú kialakított "sapka", ha úgy akarod mondjuk nevezni, ami a csévét takarja-zárja. Porvédő sapkának is szokták helyenként nevezni. sokféle anyagból lehet, a szövet-textíltől, a fémig, lehet domború, homorú is.
Másik,minél könnyebb a menbrán, illetve a mozgó akusztikai átalakító egész szerelvény, minél erősebb a mágnes, a mágneses fluxus a légrésben, minél jobban koncentrálódik a sok erővonal a légrésben, annál érzékenyebb, a hangszóród. Bizonyos különleges hangszóróknál, példáúl gitár hangszórók esetében a közép és közép-magas frekvenciákat jelentősen befolyásolják a dómmal. A fém /könnyű fém/ dómmal pl. 4-8khz eket kiemelnek pár decibellel /nem sokkal/ vagy símítják a rossz egyenetlen tüskékkel teli átvitelt. Példáúl említsek egy konkrét példát, a Meyersound magassugárzó drivereinek frekvenciamenetét úgy javítják-korrigálják, hogy lineáris legyen a hozzá való tölcsérrel mérve, hogy a membránon elhelyeznek egy festék pontot, így az ott létrejövő parciális rezgést elhangolva megváltozik annak hangja. De mondjuk az Electrovoice is előszeretettel használja ezt. Valamint a hangszórók (nem csak magas!)dómuját is szokás perforálni, annak felületén bizonyos mintázatokkal hangolni azt. A membrán hátúját is alakítják-formálják. Megnézheted a legújabb Martin audio szinpadi monitorok hangszóróinak menbránját, arra példáúl egy érdekes majdnem lepke formájú másik azonos anyagból készűlt formát ragasztanak, ami álltal befolyásolják a hangszóróból kisugárzott hangok terjedési szögét és térbeli formáját, ezálltal egyenletes lesugárzást elérve a szinpadon a mikrofon karakterisztikájának árnyékában. A hozzászólás módosítva: Máj 22, 2021
Hát ez nagyon jó. Köszi, máris sokat tanultam. Nem valami sok az infó a témával kapcsolatban a neten, de nézelődök még.
Kedves Peet19!
TAttila77 a lényeget jól leírta Neked, ezért gratulálok Neki. Ennek ellenére kiegészítem néhány dologgal. Lényeges a membrán alakja. Ez legtöbbször homorú kúp vagy kifelé álló gömb felület. Vajon miért? Egy példa: Követ dobunk a vízbe, koncentrikus hullámok távoznak a víz felszínén. Akár hogyan dobunk, bármilyen alakú testet. A hanghullámok is ilyenek, csak annyi a különbség, hogy gömbfelületek jönnek létre a légtérben. A probléma az, hogy a hangszóró membránjának alakja legtöbbször homorú kúp szerű felület. A 3300 Hz-s hangnak a fél hullámhossza kb.5 cm. Az ennél magasabb frekvenciáknak még ennél is rövidebb. Hang keltéskor a kúpos belső részről leváló hanghullám fél hullám hosszal később ér a peremről leváló hanghullámhoz. Ha ez a fél hullámhossz egész számú többszöröse, akkor ezen a frekvencián a membrán közelében hullám kioltás keletkezik. Ezért a magas sugárzók membránjait kifelé álló gömb felületűre készítik. Így könnyebben gömbfelületűre alakul a hanghullám a membrán közelében. Az úgynevezett porvédőt is kifelé domborúnak szerelik. Sőt a kónusz (membrán) nyílás szöge is igen nagy. Én még emlékszem a régi, a harmincas és negyvenes évek hangszóróira, melyek porvédő nélkül és 90 fok körüli nyílás szögű hangszórók voltak. A mai porvédők a tekercs átmérőhöz viszonyítva kétszeres, háromszoros átmérőjűek, hogy jobban közelítsék a sík sugárzó felületet. Legújabban kifelé domború membránnal találkoztam. Lásd a csatolt képet! Sajnos a gyártók reklámjaiban sokféle "okosságot" írnak hangszóróik dicsérésére. Közben nem rendelkeznek süket szobával precíz mérések érdekében. Magyarországon csak a Műegyetem rendelkezik ilyennel. Se a Videoton, Orion, Beag nem épített ilyet. A külföldi cégek sem. Kerestem, hogy Európa nagy hangszóró cégei rendelkeznek-e ilyennel. Lehangoló az adat. A hangszórókat javító cégek még valamilyen "süket szerű" helységgel sem rendelkeznek, hogy kipróbálhassák a javított hangszórókat. Én egy valamennyire hangcsillapító helységet építettem évtizedekkel ez előtt. Akkor milliós tétel volt! Ezek után a gyári marketing adatok ellenőrzésekor meglepő "okosságot" olvasunk. Ezt sokan elhiszik! Vigyázz a marketing adatokra, mert nem ... stb! Tisztelettel: H.F.
A Vidi-ről és az Orionról nincs info-m, de a BEAG süketszobájában volt szerencsém járni valamikor a'80-as évek vége felé. Azt nem tudom, hogy a hangszórókat ott tesztelték-e vagy sem, de a nagy studió hangsugárzójuk gyártásközi tesztelését saját szememmel láttam. Azt sem tudom milyen szerinted a "süketszoba", de nagyon furcsa érzés volt a semmit, még a a saját hangom visszhangját sem hallani abban helységben.
Ugyan itt láttam a membránok mártásos gyártását is. Vacillátam, hogy elfogadjam-e az állásajánlatot, mert nagyon tetszett, amit láttam, de szerencsére végül is nemet mondtam. Jól tettem, mert pár évre rá a gyárat bezárták a termelés megszűnt.
Szia!
Köszönöm szépen, a képet is, nagyon érdekes. Még soha nem láttam ilyen hangszórót, azt sem tudtam hogy ilyen létezik. Amiket írtál tanulságos és már kezdem látni az összefüggést a hullámterjedés és a membrán felületével kapcsolatosan. Végülis ez is csak fizika.
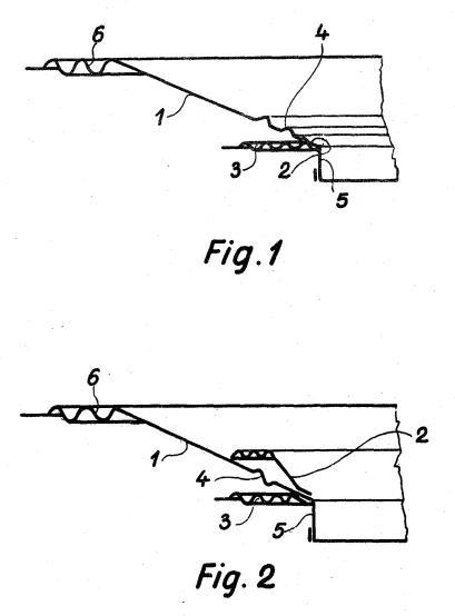
Megemlíthető még a mechnaikai keresztezés módszere, amikor a memrán felületén mechanikai aluláteresztő szűrőt alakítanak ki. Pl. egy borda vagy rilni a memrán nyakához közel, ami mechanikailag rugóként viselkedik, míg a memrán többi része tömegkét és ez így egy másodrendő aluláteresztőt alkot. Ezzel le tudják váltani a kónuszról a magasabb frekvenciákat, amiket ezután már csak a porvédő vagy a kis magassugárzó tölcsér fog lesugározni. Ill. úgy általánosan a membrán bordázásával elérhető, hogy adott frekvencia felett ne az egész kónusz sugározzon (ill. ne jöhessenek létre a teljes felületén állóhullámok), hanem a magasabb frekik csak a kónusz belső részén jöjjenek létre. A csatolt ábrán a 4-es elemről lenne szó. A kép Huszty Dénes 149.274 sz. szabadalmából származik 1962-ből. Mértem olyan Grundig 17 centis 25mm-es lengőátmérőjű mélyhangszórót (eredetileg három utas hangdoboba volt) Ami 1kHz-ig teljesen lineáris volt, 1kHz fölött pedig olyan szépen esett, mintha villamos szűrő lenne elé kötve. Talán nem véletlen.
A hozzászólás módosítva: Máj 26, 2021
Többször volt alkalmam mérni a PKI (Posta Kisérleti Intézet) süketszobájában. Pedig nem is hangszórógyártó cég, csak bizonyos szabványoknak kellett megfelelnünk. A név is csak hagyomány, ugyanis már akkor is Magyar Telekomnak hívták a céget.
Kedves Kollégák!
Köszönöm a Beag és PKI felvilágosítást. A Beagról úgy értesültem, hogy Tarnóczy kiváló akusztikájú előadó (kultur) termet készíttetett. A Vidi szabad téren mért hangszórókat az IEC 268-5 teszt alapján. A kifogásom csak annyi, hogy nagyon zajos a szabadtéri környezet. Én is mértem a kertemben, mert éjjel 2-től 4-óráig elcsendesedik a város és én a város szélén lakom. A másik problémát az okozza, hogy az audió méterek csak +20-30 dB-től mérnek. Halk hangokat és zajok mérésére alkalmatlanok. A hangszórókon apró fizikai jelenségek nem mérhetők. Például az elöl lévő basszus nyílás és hangszóró primer hang turbulens keveredése és interferenciás hang csökkenése sem. Nem beszéltünk a parciális torzításról, bár fentebb említettétek a mechanikus szűrőt. A két jelenség nem azonos! A parciálisról csak annyit,hogy a kúp alakú membrán nem egy alaktartó merev test! Sajnos rezgés következtében deformálódik, torzul. Ez újabb torzítást és magas hang csökkenést okozhat. Magas hang csökkenést a tekercs önindukciója is okoz. Ha tekercsre feszültséget kapcsolunk, akkor az áramforrás áramot indít a tekercsen. Ez az áram nem azonnal indul, hanem egy felerősödési szakasszal. Kikapcsoláskor ellentétes a jelenség. A feszültség megszűnése után gyengülő áramerősséggel szűnik meg. Ez az ábra valamennyi középiskolás fizika könyvben megtalálható!Az érdekessége az, hogy ha nagyon rövid ideig van feszültség, akkor az áram felfutó szakaszának az elején megszűnik. Így nem alakul ki a feszültség nagyságának megfelelő áram. Magas hangoknál, például 10 kHz-n, 1/20000 másodperc egy fél periódus. Ennyi idő alatt nem alakul ki magas hangnyi fél-fél periódus. Emlékeztetnék a villanymotorok zavarszűrő tekercsek ilyen irányú működésére. A mozgási indukcióról nem írnék, mert a teljes hangfrekvenciás sávban fékező hatású. Lásd damping faktor! Ismételten köszönöm a tájékoztatást, üdv: H.F.
Kedves Peet19!
Úgy látom, hogy elakadt az érdeklődésed a hangszóró frekvencia sávjai vonatkozásában. Pedig nagyon érdekes a mély-, közép-, magas hangot sugárzó hangszórók hangsávjai és határai. Ez azért is érdekes, mert a Vidi annak idején széles sávú hangszórókat is gyártott, például: HC20/10, H1320/8,H1218/9 típusok. Ezek 60 Hz-től 16 kHz-ig sugároztak. Ezekkel felépített hangládákba nem kellett hangváltót építeni. Érdekes, hogy a "Nyugati" nagy cégek nem fejlesztettek széles sávú hangszórókat, lásd a nagyméretű táskarádiók jelentős számú hangszóróit. Üdv.:H.F.
Szia fery45!
Köszönöm szépen az érdeklődésed, továbbra is érdekel a téma csak sajnos mostanában kevés időm van vele foglalkozni. Egyenlőre ezt : Bővebben: Link a hangszórót választottam. Egész jó a frekvenciaátmenete. Persze nem széles sávú de egy gitár kombót szeretnék belőle építeni. Ehhez nem rakok magasat, ez így bőven megfelel a célra. Ezután majd szeretnék 2db 2 utas hangfalat építeni, amibe már lehet hogy kell hangváltó, de lehet ide egy szélessávút rakok. Talán mellé lehetne egy piezo, nem tudom lenne-e értelme. "Házi mozi" helyett a TV-nek szeretném egy kicsit megnövelni a hangerejét és persze a hangminőségét is. Az erősítő még nincs meg, de azt majd megépítem hozzá. A hangdoboz méretezéséhez találtam egy "sal" féle méretezést, gondolom ismered, de ha van erre valami szabály akkor azt szívesen meghallgatnám. Pl: teljesítménytől függően, vagy átmérő, vagy hogy mélyközép, vagy egyéb szempontok szerint hogy mit kell figyelembe venni a doboz készítéséhez.
Kedves Peet19!
Vigyázz, hogy ne süllyedj a diszkósok és gitárosok hibájába. Akik leragadnak a diszkó technikában és nincs további fejlődés. Bele esnek abba a hibába, hogy azt gondolják, hogy a hangtechnika csúcsa, krémje a diszkó és popzenekari hangosítás. A csúcs technika elég nagy területet átölel. Nehéz oda jutni! A választott hangszóród a gitár kombóra szerintem is megfelel. A piezokat én elkerülöm minőségük miatt. A dinamikusokat jobbnak tartom, mert szebb a hangjuk és a kis teljesítménytől a nagy teljesítményig választható. Ha zárt csipogód van, akkor nem kell zárt külön kamrát készíteni a kétutas hangfalnál. Csak a nyitott kosarú közepeknek és magasaknak kell külön zárt kamra a basszus hangszóró mellett. A nyitott kosarúak a mélytől "kopognak". A házi mozi 5.1 re ráviheted a TV hangját. Miért kell külön erősítő? (Bár ezt Te tudod.) Sajnos a hangszórók és erősítők gyártók által megadott teljesítmény értékei rendkívül eltérnek. Erről az elmúlt években rengeteget vitatkoztunk itt az oldalon. Ez az oka, hogy sok hangszóró tekercse leég. Én a hangszóró teljesítményét (terhelhetőségét) műszeres méréssel döntöm el. Ezt az SI mértékrendszer szerint mérem. Az IEC 263-5 és az IEC 265-5 szerinti teljesítmények 1:10 arányúak, a PMPO és Peek -ről nem is beszélek. Az elektromos teljesítménnyel nagyon kell vigyázni, mert a hangszóródba kerülhet. Tisztelettel: H.F.
Tisztelt Fery45,
megint kevered a dolgokat! SI mértékegység rendszer szerint nem lehet mérni. Ellenben lehet mérni az SI által elfogadott mennyiségeket, úgy mint másodperceket, kelvin fokokat, métereket, grammokat, ampert, molt és candelát. Illetve mérheted az ezekből származtatott többi mennyiséget, mint például elektromos ellenállást (kg⋅m2⋅s^−3⋅A^−2). Amire te gondolsz, azok szabvány szerinti mérési eljárások, amikkel megmérheted az SI szerinti mennyiségeket. Ezek az IEC szabványok meghatározzák, hogy milyen SI mértékegységeket kell mérjél és milyen módon, hogy egy adott valami teljesítse az adott IEC szabványt. Az IEC 263 a frekvencia diagramok felvételét határozza meg, az IEC 265 ellenben a nagyfeszültségű (1kV és 52kV között) kapcsolók elektromos tulajdonságait határozza meg.
Kedves veroka!
Butaságot írtál. Az IEC (Internacional Elektrotechnical Comission) Szabvány ajánlásokat írtak a különböző alkatrészek gyártására és mérési eljárásokra. Ezeket számokkal jelölik! Pontosan kell megadni a számot! Az IEC 263 nem azonos az IEC 265-5-el! Ez a 265-5-re is vonatkozik. Az SI mértékegység rendszer nemcsak a mértékegységeket válogatta ki, hanem annak nagyságát is meghatározták. Például a 100 watt teljesítmény azt jelenti, hogy 100 J munkát végez minden másodpercben. Tehát a hangfrekvenciás váltakozó áram minden másodpercben 100 J munkát végez ha a teljesítménye 100 watt. Hangszórónál ezt a teljesítményt hanggá kell alakítania a megfelelő hatásfokkal. Leégett hangszóró tekercseket mutatok. Csak nem bírták a hangszóróra írt teljesítményű terhelést. Tisztelettel:H.F.
Kedves veroka!
Mellékelek egy másik képet is. Az Univox cég 100 wattos erősítőének adatát mutatom az IEC263-5 szerint, de ez az erősítő az IEC 265-5 szerint 1000, azaz egyezer wattos! Ez nem az én hibám! Vitatkozz azokkal, akik módosított szabványt vezették be! Üdv.H.F.
Szia fery45!
Épp ma raktam össze a kombó dobozát, jövőhéten meg jön a hangszóró. Kíváncsi vagyok már a hangjára. A TV-hez azért kell erősítő mert nincs házimozi rendszerem, csak az analóg jelet veszem le a kimenetről amit majd felerősítek és ráküldöm a hangfalakra. Kicsit gyenge a TV hangja, ezzel akarom javítani. Ehhez akarok csinálni két kis hangfalat. Ezekhez a szabványokhoz nem nagyon tudok hozzá szólni mert még nem találkoztam velük .
Hol van ott 1000, azaz egy ezer vatt te??? Az a kis ős végfokocska a büdös életben nem tud még 150W-ot se. Úgy írsz, mintha rajtad kívűl senki sem ismerné. Attól már mifelénk fényévekkel jobb végfokokat használunk meg ipari tűzvédelmi kommunikációs és egyébb ilyen célra, aminek még a dampingja is sokjal jobb és jól is szól! //Viszont volt egy korszak, amikor nem nagyon volt ettől más, vagyis volt, csak földi halandóknak nem nagyon volt elérhető.//
A.E.U.P. szabvány szerint?
Fery,
részemről a vita lezárva. Úgy látom, hiába magyarázzuk mi a különbség egy mérési módszer, és a mérési módszerel mért mennyiségek között. Az pedig, hogy mutatsz egy bescannelt gépelt adatlapot nem bizonyít semmi mást, csak azt, hogy valakik valamikor ráírták azokat az adatokat. Egy ilyen adatlapot 10 perc alatt gyártok bármilyen erősítőhöz vagy hangszóróhoz - ma is így tesznek, és régen sem csinálták másként. Még egyszer: az IEC 265 (és alszabványai) nagyfeszültségű kapcsolók paramétereivel foglalkozik, semmi de semmi köze nincs az erősítőkhöz vagy az IEC 263 ajánlásaihoz.
Tiszteletem! Megpróbálok válaszolni mindhármatoknak.
Peet19. Sok sikert kívánok! Sajnos a teljesítmények terén nem Vagy egyedül. Ezért vitatkozunk. TAttila 77."Hol van ott 100, azaz egy ezer watt te???" Na ebben van igazad! De a 100-t kimérheted. Gyere el hozzám a műszereiddel és mérhetsz. Még 140 wattot zenével is. Több alkalommal hoztak a műhelyembe "......1000W" jelzésű és gyártmányú, fényévekkel korszerűbb erősítőket, melyek jó esetben csak 80-100 wattot tudtak. Még egy gondolat: Ez a régi még mindig üzemképes. A mai "fényévekkel korszerűbb" az első elromláskor szemét lesz. Ez olyan mint a számítógépek. Attól kell félni, hogy hekkerek vagy vírus ne tehesse tönkre. Még csak el sem romlik, és használhatatlanná válik. Istenem, hány számítógépem volt?! veronka. Én is befejezném. deebo. "Jézusom" még mindig ez van. Nézd meg a parlamentet! Tisztelettel: H.F.
Nem kell ahoz elmenni hozzád, hogy megmérjem. Van hozzá mindenem. Ne izgasd magad, most épp míg írtál vagy két oldalt, két 1600-os végfokot javítottam, meg is mértem. Pont annnyit tudnak, amit ráírtak. Meg még két LED TV is beesett. Az is készen áll.
Idézet: „elromláskor szemét lesz” Csak annyi a bibi, hogy te soha nem láttál még Labgruppen, Powersoft, Crown, Nexo, QSC erősítőt. De még Cerwin Vega! -t se. Esetleg 40 éves nagyon régit, estleg QSC, Cerwint. El se romlanak, mert NEM ROMOLHATNAK EL! Normális hozzáértő kezekben semmilyen modern DJ és PA professzionális hangcucc el nem romolhat. Mégegyszer kihangsúlyozom PROFESSZIONÁLIS. Ès ugyan ez érvényes a komolyabb 100V-os rendszerekre is! Gondolom sose hallottál még a világ majd leghíresebb 100V rendszeréről a Community-ról (képzeld line array rendszerei is vannak, stadionokhoz, repterekhez, hangárakhoz, csarnokokhoz ...) De gondolom az ithoni INTERTON cégről sem hallottál még, (itt forgalmazzák és a QSC képviselet is) de arról sem tudsz akkor, hogy az interton például Debrecenben mit csinált a Kölcsey Müv. központban, hogy bàrmikor megváltoztathassák a koncert terem belső reflexióit, akusztikáját egy PC vezérelt MAGYAR TALÁLMÁNY különleges hangrendszerrel, ami nem feltétlen a PA hangrendszer rèsze. Na erről ennyit csak szolídan. Mondtam már többször, hogy homokba dugott fej helyett informálódni kéne a fejlődő technikai volágban, különben lemaradsz! Ajánlok neked egy évenkénti megrendezett ilyen kiállítást, ahol ezeket meg lehet érdeklődni, megfogdosni, látni a fejlesztéseket. Profi hangszórókat is láthatnál, nemcsak képen, meg ideszúrva nekünk kis nyúlfarknyi gyenguszka leégett 10-30W esetleg max 100W lengőcsévéket, hogy hűűű, meg húúú. Tessék informálódni és utána véleményezni. A kiállítás neve a Budapest Music Expo a Hungexpo területén, korábbi években Hangfoglalás néven volt a Syma-ban. Itt mindent (IS) látsz. A Beag utód Univox nevetségesen hitvány hangminőséget tud, még utastájékoztatónak se építeném be rendszerét meg a szürke vas hangdobozát, amibe a kaszáspók beleköltözik, ha hiszed ha nem! Aki azt állítja a 21. században, hogy az minőség, annak a füle disznósajtba való. A hozzászólás módosítva: Jún 3, 2021
Sziasztok!
Fery45: köszönöm. Még egy olyan kérdésem lenne, hogy hangszóró esetében mi a különbség a teljesítmény és a zenei teljesítmény között? Pl: az a hangszóró amit be akarok építeni a kombóba 50W. De a zenei teljesítménye 100W. Ezt hogy kell értelmezni? Mi a különbség? https://www.hangszerdiszkont.hu/jensen-ch-10-50w-keramia-magneses-g...-8-ohm
Az 50W valószínűleg RMS érték, kb. 50W-ot tud disszipálni a hangszóró, ha ezt rákötöd szinuszban, még túléli, de 60W-on hosszútávon leégne. Viszont: nem szinuszt fogsz rajta játszani, hanem zenét, aminek változik a hangereje, vannak benne szünetek, stb. Emiatt a csúcstényező (crest factor), az átlagteljesítmény alacsonyabb lesz. A gyártó ezzel azt mondja, hogy egy 100W-on még nem clip-elő erősítővel zenét játszva nem fog leégni. Jobb egy nagyobb erősítő 2/3 teljesítményen, mint egy kisebb túlhajtva a torzítás és a hangszórók szempontjából is.
Abba most ne menjünk bele, hogy melyik cég mennyit hazudik az adatokról, érdemes hasonló kategóriában gondolkozni minden komponensnél, akkor kevésbé lesz meglepetés .
Kérjük, hogy maradjon mindenki a demokrácia talaján, és ne rugaszkodjon el, ne menjen át személyeskedő, durva stílusba! Ellenkező esetben kénytelenek leszünk drasztikusabb eszközökhöz folyamodni.
És akkor, totálisan helyeselve game4812 fórumtárs hozzászólását és mielőtt még megint vita lesz: nem mindegy, hogy az erősítő clippel (azaz az eredetileg szinuszos vagy négyszőg vagy bármilyen alakú jel túlvezérli az erősítőt) és ezért gyakorlatilag négyszögjel kerül a hangszóróra - váltakozó egyenfeszültségként kitérítve a tekercset - vagy hogy az erősítőd egy torzított gitárjelet erősít szépen, clippelés nélkül. Az első halálos, a második élvezetes.
|
Bejelentkezés
Hirdetés |











. 
