Fórum témák

» Több friss téma
Fórum » Csöves erősítő készítése
 
Témaindító: seedz, idő: Márc 31, 2006
Témakörök:
Ne feledd betartani a fórum viselkedési szabályait, és a topik megmaradásának feltételeit. [link]
A téma átmenetileg fagyasztva lett, hozzászólni nem tudsz!
Lapozás: OK   277 / 2208
(#) djhans hozzászólása Nov 9, 2008
A mai börzén beszereztem két kimenőnek való trafót. Ezekből már szigorúan PP lesz! EI82-es a vas, 11,25cm2 a vaskeresztmetszet. Jó kis régi sziliciumos vas.

Mire lenne ez elég PP-ben?
6P14P-ben gondolkodom. Pentódába kötve.
(#) sturbi hozzászólása Nov 9, 2008
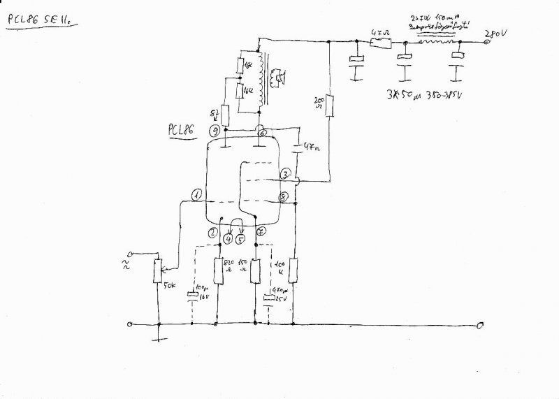
Készítettem PCL86-hoz kimenőtrafóra "érzéketlen" kapcsolást, aki fél a kimenőtől (meg aki nem), az építse meg. A hangja részletező, precíz, gyors, pozicionáltak a mélyei is. Igazi audiofeel hang.
A kapcsolás lényege a kimenőtrafó primerjéről a trióda anódjára ható negatív visszacsatolás, ez alapjaiban eltérő tulajdonságú, mint a szekunderről ható visszacsatoló hurok (megj.:itt a szekundert nem szabad földre kötni sem).
Az erősítő így figyelembe veszi a kimenőtrafó (és a hangszóró) képességeit is. Nem írom le a részletes működést, aki akarja fejtse meg.
Kedvcsinálónak pár oszcillogramm.:
(#) sturbi hozzászólása Nov 9, 2008
A kapcsolási rajzok (mert az előbbiből kivette, mikor betettem az oszcillogramokat).
(#) dxzo4z válasza sturbi hozzászólására (») Nov 9, 2008
Ez engem kísértetiesen emlékeztet az ultralineár kapcsolásra!
(#) JZoli válasza sturbi hozzászólására (») Nov 9, 2008
Valami gond van a képekkel, nem lehet megnyitni őket.
(#) rockersrac válasza JZoli hozzászólására (») Nov 9, 2008
nekem megnyitja a képeket minden további nélkül!
(#) Norberto válasza JZoli hozzászólására (») Nov 9, 2008
[off]Nekem is megnyíltak a képek, szokás szerint.
(#) CHZ válasza sturbi hozzászólására (») Nov 9, 2008
Melyik változat volt jobb , a + visszacsatolást is tartalmazó , vagy a másik ?
(#) lapose válasza JZoli hozzászólására (») Nov 9, 2008
Szia!

Milyen kimenőre gondoltál?
Tekerni ugyan nincs időm, de ha TV-ből kitermelt PCL86-hoz való kimenők jók neked, tudok adni!
(#) Ricsi1992 válasza djhans hozzászólására (») Nov 9, 2008
Szép kis vasakat vettél,én is bevásároltam,köbzolival kiválasztottunk két szép kis vasmagot a következő projektemhez:GU50 PP~20W
Akkor Te vitted el a legnagyobbakat Burgdavidé egy kicsit nagyobb,mint az enyém,Neki .......ha nem titok megírja,mibe lesz
És kaptam tekercselési tanácsokat,trükköket ötleteket is,nem is annyira bonyolult ez a tekercselés,mint gondoltam...
EBL21-hez és EL84-hez is vettem két kis kimenőt pár100ft volt a kettő.

Megérkezett a TV Wobblerscope
Nagyon nagyon szépen köszönöm!Szép nagy darab,cipelhettem volna a metróig,de Imiék....Már ki is próbálltam,nagyon szuper,lassan meglessz a jelgenerátorom is,és akkor....Hihetetlen,a magyar leírásban még a táptrafó rajza,adatai,melyik szekunder hova van tekerve milyen huzalból hány menet,milyen vason....minden bvennevan Egy régi álmom valósult meg.(Nem is tudom,hogy háláljam meg....Ha talállkozuni valamelyik börzén,és kell valami akkor..../van 450V 3300uf!!! kondim,tudok adni,vadi új/)

Jó kis csapat jött össze:köbzoli,Imi,djhans,Müszi,Barna,Burgdavid és Én,nem hagytam ki senkit?Jó volt.Dáviddal egyszerre vettük a négy vasat,és így még kedvezményt is kaptunkköbzoli volt a szakember.....:Mindig megvártuk,hogy értékelje az árutmegéri,nem éri meg,nagy,kicsi,jó lesz PP-be,nem lesz jó PP-be.........
Nem is tudom,kb délig ott voltunk köbzoliékkal.
(#) sturbi válasza CHZ hozzászólására (») Nov 9, 2008
A + visszacstolásos a jobb, de nem a pvcs miatt, az csak azért van benn (kicsi), hogy ne homorodjon a 100 Hz négyszög közepe, mást nem is csinál, nélküle is ugyanolyan jó. Ott a trafón a táphoz képest 25 %-ra van kötve a trióda anódja, ezért sokkal nagyobb telejesítmény összehozható (nincs Rdc). Az ellenállásos verziónál értelemszerűen nem lehet kisértékű ellenállást használni (trafó miatt), így is a rajta disszipálódó telejesítmény jelentős, ami kisebb kimenőteljesítményhez vezet, a hangja kb. ugyanolyan, illetve kicsikét higgadtabb. (Az ellenállásos verzióval végülis a kipróbáláson kívül nemigen kisérleteztem).
A trafót úgy veszi figyelembe, hogy amilyen frekin az kisebb impedanciát mutat, ott kisebb az nvcs. is (mélyebb hangok), ahol nagyobb a trafó impedanciája ott nagyobb a visszacsatolás is, ezáltal kiegyenesedik a frekvenviamenet. A hangszóró visszahatást ugyancsak így kompenzálja.(a 10 K felfutáson, lefutáson látszik, hogy még a 100 khz-es színusz is csak 3dB körül van, pedig a trafó minden,csak nem profi munka). A hangja teljesen mentes a hagyományos visszacsatolású erősítők nyomottságától. Nagyon stabil, részletes a színpad és minden három dimenziós. Gyönyörű a beszéd és énekhang is.
(#) sturbi válasza sturbi hozzászólására (») Nov 9, 2008
Mert egy kicsit ultralineár is.
(#) Müszi hozzászólása Nov 9, 2008
Innen letölthetitek a börzéről készült képeimet!
Bővebben: Link

üdv
(#) Ricsi1992 válasza Müszi hozzászólására (») Nov 9, 2008
Hol kell letölteni?Valami kódot is be kell írni,nem?
(#) Müszi válasza Ricsi1992 hozzászólására (») Nov 9, 2008
Fönt van hogy "please enter:xyz" és download gomb.

üdv.
(#) Ricsi1992 válasza Müszi hozzászólására (») Nov 9, 2008
Köszi,közben rájöttem,már tölti is.
(#) csiperke válasza Imi65 hozzászólására (») Nov 9, 2008
Nehogy azt mond hogy hangerősítésre nemjó a PL83 mert berosálok !!!
(#) djhans válasza Ricsi1992 hozzászólására (») Nov 9, 2008
Örülök hogy megkaptad! Tudom jó szolgálatot tesz majd nálad. És végülis ez is csöves

A két vasból egy 6P14P (EL84) PP-t akarok építeni.
(#) st3 válasza Müszi hozzászólására (») Nov 9, 2008
Sziasztok !
Müszi, nem kellett volna fotóznod...
A szívem szakadt a sok gyönyörű készülék láttán.
E kell már mennem egy ilyen börzére.
Sziasztok
st3
(#) st3 válasza (Felhasználó 13571) hozzászólására (») Nov 9, 2008
Igaz. De némelyiken mintha árcédulát láttam volna...
(#) Ricsi1992 válasza (Felhasználó 13571) hozzászólására (») Nov 9, 2008
Hát igen.....azok a szép kis csővoltmérők meg rádiók.....Jó lenne egyszer beszerezni egy kis rádiót,aztán szépen felújítani,helyrepofozgatni,milyen szépen mutatna a polcon.Az egyik "eladó" nagyon ajánlgatott egy kb. 1 méter széles darabot( a rádió nevét nem tudom)3000ft,értnekem valami kisebb is elég lenne...

(#) burgdavid válasza Ricsi1992 hozzászólására (») Nov 9, 2008
Tényleg nagyon jó volt a börze! Alaposan bevásároltam
Nem titok, GU50 PPP a cél Gyakorlatilag minden lényeges elem megvan már hozzá. Csak megkell tekerni a trafókat, meg összeépíteni az erősítőt
Ricsi: majd küldöm a rádiós fülest, meg a potikat
(#) djhans válasza (Felhasználó 13571) hozzászólására (») Nov 9, 2008
Csak pénzt nem szabad sokat vinni, mert ha nem kell semmi itt akkor is megátsz valamit és megveszed

Mondjuk én most egész jól megúsztam. Csak két kimenő alapanyagot és két alkatrész rádiót vettem. Összesen 2300 pénzért.
(#) Gubán_Gábor hozzászólása Nov 9, 2008
Sziasztok!
Már jó rég írtam a fórumba, gondoltam, ha már a rádióknál tartunk rakok fel képet, arról, amit én szereztem, kitünő állapotban potom 1000 Ft ért(Az illető nem tudta mit ad el Videoton R4900 Melodyn, ja és majdnem kész a GU 50SE-m, amiről már kb 2 hónappal ezelőtt írtam, hogy készülőben, van.
Majd várom a véleményeket, 2-3 nap múlva felkerülnek a végleges változatról a képek. Ui: 22-én megyek a börzére
(#) CHZ válasza sturbi hozzászólására (») Nov 9, 2008
Igen az ellenállásos változat terheli a kimenőt ami jó is lehet , csökkenti a kimenő rezonanciáját ,de valóban teljesítményt is csökkent .
A + visszacsatolás meg a katódelkókat teszi nélkülözhetővé ...
Nem rossz ötlet , én is a + visszacsatolásosra szavaztam így mehallgatás nélkül is , főként azért , hogy a kimenő megcsapolásáról csatolsz vissza .
(#) st3 válasza djhans hozzászólására (») Nov 9, 2008
Kimenő alapanyag...
Lehet, hogy volt már róla szó itt, nem emlékszem-Hol lehet vasmagot venni "hivatalosan", tehát boltban, számlára -már olyan vasmagot, amire kimenőt lehet készíteni. Tudtok ilyen boltot ?
(#) djhans válasza Gubán_Gábor hozzászólására (») Nov 9, 2008
Nagyon szép lesz az erősítőd! A kimenők miatt irigyellek egy kicsit. Én sokat szenvedtem az enyémekkel de jó lett.

Gondolom már láttad de azért ajánlom a figyelmedbe az enyémet

Jó lett volna fadobozosra csinálni de így alakult
(#) Gubán_Gábor válasza djhans hozzászólására (») Nov 9, 2008
Neked sincs okod a szégyenkezésre, a tiéd is nagyon szép, tetszenek a színei, és a 6SN7-es triódák is, Olyanokat én is szeretnék szerezni. A 22-ei börzén majd hátha találok.
A hálózati trafót még bevállaltam megtekerni, de a kimenőkkel szerencsém volt, mert viszonylag olcsón sikerült hozzájuk jutnom. Az Ágoston könyvben lévő kimenőt tekertettem meg. és meg kell mondjam, nem bántam meg, mert brutálisat szól volt alkalmam ismerős hangtechnikai üzletében megzavarni, 2 db Dynacord 108 dB-es kültéri hangosítási hangfalon és az ablakkeretek mozogtak a helyükön

még majd kapnak a trafóim 1-1 takarólemez borítást és a sasszim is fényes feketére lesz festve mit a tiéd.

De már gyűjtöm az anyagot a köv. projektem: PL509 PP hez.
(#) kocos válasza Gubán_Gábor hozzászólására (») Nov 9, 2008
Ez igen! Kiváló munka, gratulálok! Az M vasakra hogy csináltál légrést?
(#) Gubán_Gábor válasza kocos hozzászólására (») Nov 9, 2008
Hát igen, itt a dolog érdekessége

elméletileg az M magon csak az az 1 behasítás van, ami a lemezelést miatt kell, úgyhogy a légrés kérdése márcsak ezért is érdekes, mert mivel úgy tekertettem a kimenőket, ezért én se tudom, hogy hogyan oldották meg, de az tény hogy nagyon brutálisan szól velük és gyönyörűek a mélyek és a magasak is de ugye elméletileg az SE erősítőkhöz mindenképp kell a légrés, és M magokat csak ellenüteműekhez csinálnak.
Szét nem szedtem a trafókat, de kíváncsi lennék hogy oldották meg a dolgot, mert tényleg gyönyörűen szól hatalmas dinamikával.
M85 ös vason vannak a kimenők amúgy.
kb 13V a kimeneti csúcsfeszültség torzításmentesen szinusszal vezérelve.
Következő: »»   277 / 2208
Bejelentkezés

Belépés

Hirdetés
XDT.hu
Az oldalon sütiket használunk a helyes működéshez. Bővebb információt az adatvédelmi szabályzatban olvashatsz. Megértettem