Fórum témák
» Több friss téma |
Mielőtt kérdezel, a következő két dolgot ellenőrizd!
I. A helyes tápfeszültségek megléte.
II. A kimeneten van-e egyenfeszültség.
Élesztés.
Kellő várakozás után kéne egy olyan bekapcsolás ami közben hozzáérsz ahhoz a vezetékhez amelyiket a némítás miatt lekötöttél. Ebből megtudjuk, hogy a némítás vezérlője jó-e még és ha igen, bekapcsolásnál segít e valamit. Kisebb lesz-e pukkanás?
Sziasztok, kérném valaki nézzen rá erre a nyáktervre, hogy jól csináltam-e meg.
Tiszteletem szaktársak!
Érdeklődnék hogy ismeri valaki a következő panelt? Egy studio 3000a erősítőben van. Konkrétan arra lennék kíváncsi hogy a két rózsaszín ellenállásnak mekkora az értéke ? Ami most ott van az 100k. A végtranyók bázisa és a kimenet közt vannak.
Majd megnézem ahogy ráérek.Működni biztosan működik a bemenetválasztóknál és a bekapcsolónál,de ha jólemlékszem attól még ugyanúgy pukkant.
Nagy csodát nem várok, a rajzon levő alkatrészértékek szerint elég lomhán indul a némítás. A pukkanás java részét a hangszínszabályzó fokozat éledése állítja elő, ebből hátha lecsippent valamit. Apámnak volt ehhez nagyon hasonló Videoton rádiós-erősítője, arra emlékszem, hogy az is pukkant de nem zavaró mértékben.
Hát a némítás az olyan hogyha bekapcsolom és a gombon hagyom az ujjam akkor addig teljesen csöndbevan az erősítő,de szerintem a pukkanás ugyanúgy marad bekapcsolásnál.Hát ez elég szépet szól ezért is idegesít kicsit....szerintem valami kondi baja lehet mert ha felvan töltődve egy ideig ki be kapcsolhatom nemad semilyen hangot csak ha egy pár órát kivan kapcsolva és utána be.
Nem nagy beruházás néhány elkót lecserélni.
Elvárjuk például, hogy a bekapcsolás pillanatában a VC 04 (4,7uF) és a VC 44 (47uF) hasonló idő alatt töltődjenek fel. Közben gyönyörködöm abban, hogy a vidisek előre tették a hangerőszabályzót: a hangszín három tranzisztorának zajából egy árva dB se megy pocsékba. Még egy kísérlet, hogy közelebb kerüljünk a puffanás forrásához: van hatása a pukkanásra a rumpliszűrő (bakelithez mélyvágó) bekapcsolásának?
Köszi a segítséget, csak az a baj, így nekem nem egészen világos, hogy pontosan mit hova kéne kötni. Ha megtennéd, hogy egy kapcsolási rajzba (pl ezek valamelyikébe:TDA1554 kapcsolások) eltérő színnel berajzolod a dolgot, vagy megrajzolod az általad elképzelt kapcsolást, azt megköszönném, és még a hónap folyamán közölném a kísérlet eredményét. Ha erre nincs időd, azt is megértem.
Kutatgattam közben olcsó, nagy teljesítményű erősítő után, és elkezdtem megbarátkozni a +- tápos megoldással. Bővebben: Link Ez például elég baráti árnak tűnik egy 200W-os végfokhoz képest. Az lenne a kérdésem ezzel kapcsolatban, hogy elegendő-e megvenni hozzá a +- tápot, vagy ahhoz még kell gratz-híd, vagy esetleg további bonyolultabb kapcsolás, hogy ezt az erősítőt meghajtsam?
Üdvözöllek! Elmagyarázom az Általad hivatkozott rajzon.
Vedd a baloldali kapcsolást, töröld róla a hangszórókat. A hatos lábhoz rajzold be úgy a hangszórót mint a jobb oldali ábra hatos lábán van. A tízes lábhoz rajzold be úgy a hangszórót mint a jobb oldali ábra tízes lábán van. Végül rajzolj egy hangszórót amibe a nyolcas és a tizenkettes lábról jönne a vezetékek. Így tiszta?
Milyen szűrű ezt nemértem?
Szia!
A rumpliszűrő, vagy angolul "subsonic filter" a lemezjátszók dübörgés-zaját hivatott szűrni.
Helo!
Köszi Akkor gondolom a high és low filterre gondolt reloop, még egyszersem használtam ezeket
Amugy olyan lehetséges hogy ennek az erősítőnek elkell érnie az üzemi hőfokot és csak akkor jó?Ha hidegen nagyobb hangerőn elég torz nemnagyon lehet hangosan hallgatni,kb fél óra múlva teljes hangerőn is tisztán és szépen szól.Lehet azért mert bemelegszik?
Jó estét Flatlander! Mit reagál az erősítőd, ha a low filter be van nyomva bekapcsoláskor?
A hidegen torzító erősítőknél meg szoktam növelni a végtranzisztorok nyugalmi áramát. Csak körültekintően szabad hozzányúlni, mert le is lehet vele égetni a végfokot.
Helo!
Még nemvolt időm megnézni majd kikapcsolom és várok vele 1-2órát és megnézem.Ez nemtorzít hidegen vagyis nemúgy hogy hallgathatatlan csak bemelegedve sokkal többet bír,de mind1 végülis ez nemnagyon zavar.
Lenne mégegy kérdésem.Némelyik végfokban szokott lenni beépített limiter.Ehez tudna esetleg valaki rajzot küldeni vagy létezik ilyen? Kellene nekem egy limiter,de általában ez egybevan építve a processorral ami nekem fölösleges,és nem is olcsó összeg,ezért akarok inkább építeni csak limitert.Előre is köszi
Megnéztem az erősítőt ha a low filter bevan kapcsolva sokkal kisebb a pukkanás bekapcsoláskor szinte majdnem semmi.
Akkor a végfok része rendben!
A hangszín áramkörből jön a pukk. Kérlek próbáld még meg mikor ráérsz, a némító vezetéket a bekapcsoló gombhoz visszakötni. Ha ez nem segít, következik a hangszín éledésének lassítása. Ha van egy kb. 1000 µF kondenzátorod, ami legalább 40 V feszültségtűrésű és szeretsz forrasztgatni írjál.
Sziasztok
Olyan kérdésem lenne, hogy neki álltam építeni egy erősítőt. A lelke egy TDA7377 ic. De nem tudom hogy a standby\mute lábat hova kössem. Tudna valaki segíteni benne. Előre is köszönöm
Szia!
Ez a lágyindítója az erősítőnek. Általában elég rövidre zárni a pólusait az indításhoz.
Rendben akkor majd megnézem és szólok.
Üdv!
Valaki tud nekem egy nyáktervező programot, ami ingyenes, és magyar?
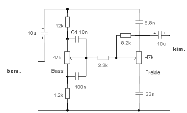
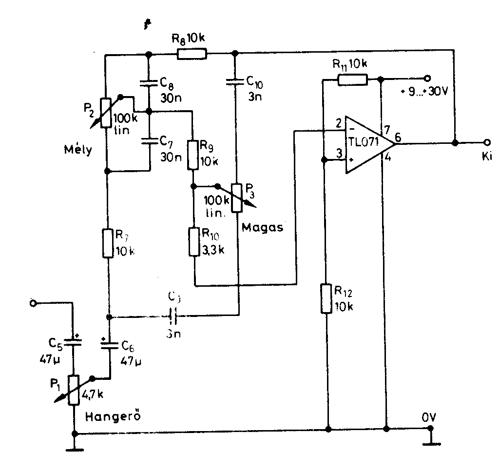
Hanszínszabályzó egyszerűen. Ha kell valakinek:
Ez önmagában így nem használható semmire!
De miért nem jó? Van neki csillapítása, de attól még működik.
Bocsi...
mentésnél lemaradt a fele :no:
Nem az ic után lenne érdemesebb az a hangerő?
|
Bejelentkezés
Hirdetés |







Akkor gondolom a high és low filterre gondolt reloop, még egyszersem használtam ezeket







