Fórum témák
» Több friss téma |
A + ágba kell a 2200uF, hogy elbírja az 500 mA-t.
A - ág csak akkor terhelhető, ha a + ág is terhelve van. Ha berakok a + ágba 9 mA-rel egy LED-et, akkor kb. 10 mA-ig terhelhető a - ág. Ha jól tudom, a + ág árama folyik vissza a - ágon. A Villard eme tulajdonsága nem küszöbölhető ki?
Hello!
- A plusz ág szűrése, attól függ hogy mennyi a tartalék feszültség, hogy a brumm "ne lógjon ki" a kimenetre. Vagy is függ a terhelőáramtól, a stabi minimális maradék feszültségétől (DropOut=Ube-Uki), valamint a diódahíd és a trafó terheléstől függő feszültségesésétől. Vagy is ezt igazából csak akkor tudod meg, ha megnézed szkóppal. A brumm legalja nem lehet alacsonyabban, mint Udo+Uki. De a hálózat feszültség csökkenését is bele kell kalkulálni. - Ez sajnos így van. A plusz oldal minimális terhelésének, akkorának kell lenni, mint a negatív oldal pillanatnyi terhelése. (Vagy annak maximuma.) Ez persze egy 7107-nél egyből teljesül. - Nem egészen tekinthető Villard a kapcsolás, mert a hídegyenirányító diódái is beleszólnak az áramútba. Mivel a pluszhoz képest működik, végül is a GND-hez képest nem kétszerez. - Egyébként a negatív oldal megoldható kétutas kapcsolásban is, ha az egyenirányítást megkétszerezzük. A terhelést is lehet "automatizálni" egy tranyó, és néhány ellenállás segítségével. üdv!
Hello!
Lehet használni Schottky-t, de sok hozadéka nem lesz, csak kritikus esetben. Most Te szeretnél venni, és én nézegessem az árakat? Az miben különbözik?.. üdv!
6V-os trafó
4x1N5819 3300µF/16V TS2940CZ50 Terheletlenül kb. 10V van a kondin, 100mA terhelésnél 9.1 és 9.3V között mozog, 200mA-nál 8.3-8.6V között, 300mA-nál 7.5-8V között, 400mA-nál 6.9-7.5V között, 500mA-nál pedig 6.2-7V között mozog, eközben a TS2940 nagyjából 150mV-os tartományon belül tudja tartani a kimenő feszültséget.
OK, köszönöm, akkor ahol szükséges, ott Schottky.
Nem úgy gondoltam, hogy Te keresgélsz, csak gondoltam, írsz egy-néhány típust, hogy ne kelljen az árlistán lévő összes 3 lábú adatlapját végignyálaznom, de már utánad páran írtak LDO-kat, így már nem szükséges.
Gondolom azt akartad mondani, hogy nem drága egy 6V-os trafó.
Viszont már megvan a trafó, ami egy 100VA-es 2x15V-os + az előbbi 7V körüliből is két szekunder. Ebből kell 2 szimmetrikus tápot kihoznom. A sima lemez trafókat ha lehet kerülöm, mert szórnak, búgnak és fogyasztanak. Az 1N5819 helyett az 1N5822 néztem ki, ami egy pindurkát jobb paraméterekkel rendelkezik. A TS2940 gondolom az LM2940 változata. Köszönöm a számolásokat.
Nézegettem ezt a 2940-est és közben találtam egy LF50CV típusút, ami jobbnak tűnik LDO-ban és árban is.
Nem, azt akartam mondani, hogy még 6V-os trafóból is ki lehet hozni 5V-ot; ha neked 7V-os van, annál jobb.
A TS2940 a TSC nevű taiwani cég LM2940-klónja. A Lomexben kapható, majdnem olyan olcsó, mint máshol a 7805 (az eredeti LM2940-ről ez nem mondható el). Elég jó a dropoutja, én itt most 0.5V-ot mértem, az adatlap 800mA-hez ír max. 0.8V-ot. Ha nem ennyire necces a dolog, akkor lehet LD1117-et használni (annak is van TSC klónja TS1117 néven), az olyan 1-1.3V körül már jól érzi magát. Pl. 5V->3.3V-hoz tökéletes, és még olcsóbb, mint a 2940.
Nemrég láttam egy kapcsolást, ahol 6V-ról stabilizáltak 5V-ra, egy FET segítségével. Sajnos nem találom sehogy. Valami ilyesmit kellene keresgélni. FET van minden alaplapon, kell hozzá még egy műv. erősítő, és kész is az ingyenes low drop stabilizátor.
Műveleti erősítő sem kell, elég egy TL431 (vagy ha nem annyira kritikus a feszültség, akkor egy sima Zener is jó lehet).
Viszont ha nincs segédtáp (a kimenő feszültség + 4-5V minimum nem áll rendelkezésre), és nem lehet a FET-et a negatív ágba kötni, akkor P MOSFET fog kelleni, ami nem lesz ingyen az alaplapon, és sokkal kisebb belőlük a választék is. Bővebben: Link
Ha beraksz 2 diodát a stabilizált 6 V-ra, akkor kapsz 5V stabilizáltat. (vagy 4.8V-t, de az már nem sokott gondot okozni....
Köszönöm mindenkinek a választ! Úgy tűnik, mintha én kerestem volna ilyen kapcsolást, de én is csak segíteni próbáltam. Ennek ellenére néhány kapcsolás lementésre kerül, legközelebb már keresni sem kell
Üdv mindenkinek.
Szükségem lenne egy szimetrikus tápegységre a következő trafóval: 2 db független szekunder tekercs, egyenként 22,3V-al. Egyenirányítás megtörtént (10A-es Graetz híddal), pufferellés megtörtént(2db 4700uf/35V-os kondival) és így lett belőle +30V,0,-30V. Amit meg szeretnék hajtani az pedig 2 darab TDA2050-es végfokpanel (sztereo erősítőhöz) és egy HiFi előfok. Csak ugye az a fránya 30V az "kicsit sok" Olyan tápra lenne szükségem, ami +23V,0V,-23V leadására képes, mellyel a két végfokot meg tudom hajtani. A trafóból nem igazán merek letekerni... Előre is köszönöm a segítségeteket.
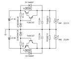
Üdv! Pirossal jelöltem ahol változik az eredeti rajz.
Köszönöm!
A melegedéssel pedig biztos nem lessz problémám, mivel az egész doboz oldala aluminium bordából van
Hello! Nem kell ennek precíz táp, bőven megfelel egy ilyen is. (2,2m=2200uF) üdv!
Oh! Köszönöm... Csak azt nem értem hogy az "erősítő 12" az mit takar?
Szerintem az jelképezi az erősítőt, mint fogyasztót (12 ohmmal számolt).
Hello!
Az erősítő helyett, az egy műterhelés, amin kb. most 2A folyik. Valóságban az nem kell, mint ahogy a műszer sem.. ![]() üdv!
Lehetséges. Csak kicsit megkavart az elhelyezése. Nah akkor gyártok hozzá egy nyákot...
![]() *És elméletileg hány ampert tud ez a kapcsolás? A hozzászólás módosítva: Márc 13, 2013
Megfelelő tranzisztorok alkalmazásával szinte bármennyit, csak győzd hűtőbordával. P=(30V-24V)*I, na ennyit kell mindkét oldalon elfűteni. TO220-as tokkal, jó, ventillátoros hűtéssel mondjuk 20-25W-ig fel lehet menni tokonként.
Ki szeretném hagyni a ventit, de ha ennyire melegszik, akkor kell hozzá egy 2x12-es táp is...
Még annyi kérdésem lenne, hogy a két kondi az mekkora feszültséggel rendelkezzen? Én kb. ilyen 30-35V-ra gondoltam... Az elég neki ugye?
Tekintve, hogy csak 23V lesz rajta elég..
Értem.
A hifi előfokot pedig a +23V-os ágra felszerkesztem egy 7812-es segítségével hiszen abba az 50mA-be nem fog belehalni, a ventillátronak meg maximum berakok egy kis 230/6V-os tarfót, egyenirányítva és kondizva meg 7812-essel stabilizálva. Kivitelezhető így, vagy lehet valami gubanc is? Mondjuk a zajok miatt aggódok. Tudom nem egy hiper sztuper erősítő, de rendesen akarom megcsinálni.
Hello!
- Az előfokot, akkor miért nem szimmetrikus tápról járatod, ha már van ilyen. - A ventihez nem kell stabi, a 6V-ból, kb. 8V lesz csak. - Alapvetően nem a táp felelős a zajokért, hanem a huzalozás. De szimmetrikus tápnál jobb a helyzet. üdv! A hozzászólás módosítva: Márc 14, 2013
|
Bejelentkezés
Hirdetés |













