Fórum témák
» Több friss téma |
Szia!
Szerintem Te is az előző hozzászólásban ajánlott kapcsolást csináld meg. Egyszerű, jó és megbízható, vagyis ezt :http://www.hobbielektronika.hu/forum/files/33/333412976283ff5582d8de50f5c9acdf.jpg
Ez működőképesnek látszik.
A hasonló rajzokon a 7-es láb van a tranzisztorra kötve, ami nekem nem teljesen logikus...bár akad még mit tanulnom ![]() Megpróbálom. Köszönöm!
Hali!
Engem olyan kapcsolás érdekelne, mellyel max. 5 DC motort lehet közös tápfeszről egymástól függetlenül vezérelni. (sebesség és forgásirány) Konkrétan analóg vasúti terepasztalhoz kellene. Sajnos csak "ősöreg" germániumtranyós aluláteresztő szűrős kapcsolásokat találtam., de az sem gyakorlati (megépített áramkör volt.
Nalam is az a verzio volt a szimulatorban eletkepes. (7es lab)
A masik hibaval elszallt. (3as lab)
Hello!
A 7-es láb ugyan olyan fázisban működik, mint a 3-as láb. A kettő között különbség, hogy a 3-as lábon egy TTL kimeneti fokozat meghajtója van. Vagy is a kimenet akár a GND-felé, akár a plusz táp felé terhelhető, maximum 200mA árammal. (A plusz tápfesz oldalon sajnos a kimenet maradék feszültsége sokkal nagyobb, mint a GND felé.) Ezzel szemben a 7-es láb nyitott kollektoros kimenetű, vagy is a belső tranyó, csak a GND-re tudja lehúzni a lábat. A Magas szint eléréséhez, felhúzó ellenállás kell. Valamint a kimenet terhelhetősége is kb. csak 20mA körüli. Például itt van egy tipikus hiba, ahol nincs a 7-es lábon felhúzó ellenállás. Ha a belső tranyó lezár, a Fet Gate lába a "levegőben lóg", és rossz esetben el is száll. Az áramköröket ennek megfelelően kell tervezni. Mert az, hogy valami "elszáll", az vagy a nem korrekt kapcsolás, vagy alkalmazás (túlterhelés-visszahatás) az okozója, nem maga az IC. Vagy is egy kapcsolást, az adott alkalmazásban kell vizsgálni. üdv! proli007
Hello!
Ha jól értem, állandó sínfeszültségről szeretnél két mozdonyt egymástól függetlenül vezérelni. (sebesség/irány) Alapvetően nem egyszerű feladat. Hasonló áramköröket használnak a távirányított modellek. A két vezérlő információt, a sínfeszültségre kell modulálni, majd onnan leválasztani, feldolgozni és H-hídban vezérelni a motorokat. Vagy is a sebesség infót PWM jelre kell átalakítani, az iránytól függően meg vezérelni a H-hidat. Analóg módon, ezt proporcionális vezérléssel szokták megoldani. (Ez egymást követő impulzusok szélesség modulációján alapul.) De ma már inkább digitális átviteleknek lenne értelme, már csak a címezhetőség és a kevesebb hardver igény (méret) miatt is. Én nem foglalkozom vasúttal, de miért nem nézelődsz a "vasutas topikokban". üdv! proli007
Valahol már válaszoltam, de elnyelte valami.
Szoval amit akarsz az fizikai lehetetlenség. A vasuton a vonatok az egyik szakaszrol a másikra mennek (az egyik szabályzo áramköréböl a másikba), igy ha közös táprol fognak menni és iránykapcsoloval, akkor (majdnem) mindig rövidzár lesz. 1. Vagy lemondasz az iránykapcsolásról 2. Vagy mindegyik szabályzohoz egy külön olcso trafot veszel (12-15V/1A fali trafo) 3. Vagy egy szimmetrikus közös tápról hajtod meg a szabályzokat (-15V 0 +15V). Más lehetöséged nincs. Szabályzokból meg Dunát lehet rekeszteni.
Akkor roszul fogalmaztam meg a problémát.
Analóg rendszer, hullámos egyenáramú táplálás. Az egyszerűség kedvéért két motor, melyet egymástól függetlenül lehet vezérelni PWM jelle és egy másik csatornán meg lehet fordítani a tápfesz polarítáását a motoron (mozdonyban. Erre már a '70-es években léteztek kapcsolások germánium tranyókkal meg mindenféle szűrőkkel, ám részint nem foglalkoztam a dologgal mélyebben, részint a kapcsolások műszakilag elavultak (germánium teljesítményfélvezető) Tehát nekem egy többcsatornás egyenáramú impulzusvezérlés GYAKORLATI kapcsolásra lenne szükségem korszerű félvezetőkkel., illetve olyan szakirodalomra, ahol találok ilyet. Nem is annyira a PWM jel előállítása, hanem a választott frekvencia, a különböző frekvenciák távolsága (sávszélesség) problematikája az igazi kihívás. No meg a mozdonyba szerelendő sávszűrő (dekóder).
Erre a technologiára ma már aligha találsz irodalmat.
A legmesszebb és talán a legrészletesebb a 70-es évekbeli irodalom volt a Halmai fivérektöl. Lehet, hogy valahol elö lehet kaparni a könyvtárakban. Ma már eléggé idejemult technika lenne. (Mégha modern alkatrészekkel is probálnád megépiteni). Ezt ma már átvette a DCC technologia, ami néhány szinttel bonyolultabb, de egyben sokkal többet is tud adni, és nyitott, azaz fejleszthetö
Ha modellvasút vezérlésről van szó, akkor tán a megfelelő topikot kellene használni, annak megfelelően, hogy milyet szeretnél. Van pálya vezérléses, és van távirányításos.
Ma már a távirányításos rendszerben a DCC vezérlést használják, a többivel nem is érdemes foglalkozni. Ha mozdonyonkénti távirányítást szeretnél, ebben a topikban nézz körül, a PWM technika, a vezérlésnek csak részletkérdése.
Nos bár egyáltalán nem vagyok szakértője a témának, de a problémám esetében a két dolog nem elválasztható: egy nagyságrendileg 10 kHz frekvenciájú PWM jel előállítása, a tápfeszre "ültetése", dekódolása, mozdonymotor vezérlése plusz az irányváltásra ugyanez.
Ami pedig a DCC technikát illeti: egyrészt a meglévő analóg rendszer átépítése igencsak költséges lenne, másrészt 3-4 mozdonyra nem is biztos, hogy szükséges, szerintem - bár ez ízlés dolga! - 2-3 gyerek sokkal inkább élvezi, ha ő irányíthatja a vasutat, mintha azt a számítógép teszi! továbbá bár a DCC vezérlés lehetőségei természetesen sokkal nagyobbak, ám az analóg rendszer sokkal nagyobb kihívás jelent konstrukciós szempontból, (és sajnos ahogyan tapasztalom sokkal nagyobb elméleti felkészültséget is)
A kérdés az, hogy mivel hasonlitod össze. Ha csak a dekodérek beépítését veszed alapul, akkor valoban nem kell a DCC technikához nagy kumst. De ha épitgetni akarod, akkor nagyon is fel kel kötni a felköltnivalót, és sok mindent meg kell tanulni az analog technikán kivül.
Számitogép meg nem kell hozzá okvetlenül.
Szia!
A problémád megoldása ilyen analóg módon egyszerűen lehetetlen. Azt még meg lehetne oldani, hogy mondjuk 2 motor valahogy külön legyen vezérelve, de csak egy irányban. A polaritásváltás nem egy egyszerű feladat kidekódolni holmi PWM jelből, ráadásul külön-külön több egységre. Az eredeti elképzelésed szerint ugye 5 motort említett. Az egyetlen megoldásnak az RC modellek távvezérlében van, a tápfeszt a sínen kapja mindenki, a mozdonyokba be van építve a rádióvevő és a szervók helyén a mozdony motorja, csak olyan egység kell, ami a mozdony motorjának az áramát is elviseli., s máris mehet egy csomó mozdony, lehet versenyezni! A legegyszerűbb elemeket lehet hozzá alkalmazni, mert csak a főmotor sebesség és irányát kell szabályozni. Nem lehetetlen, legfeljebb drága! De szerintem még csak nem is az, egy mostani modellvasút árához mérten. Az persze más kérdés, hogy be tudod e építeni a mozdonyokba az elektronikát, de legfeljebb nem oda kerül, hanem a szerkocsiba, vagy egy vagonba és a motor jele átmegy szépen dróton a mozdonyba. Persze jelentősen át kell alakítani azt is. Egyébként ha olyan kocsiba építed a vevőt és a vezérlést, aminek van "áramszedője" a keréken, pl. mert világítás volt benne, akkor tényleg csak a motorvezetékről kell gondoskodni. szerintem nem kell elbonyolítani, amire már sok éve megvan a megoldás, igaz rádió távvezérléssel. De mennyire jobban élvezik majd a gyereke, hogy jöhetnek, mehetnek a távirányítóval, sem mint egy drótos vezérlőt kell szorongatniuk! Mivel eddig teljesen OFF voltam, ezért bocs mindenkitől! (Köszi Köbzoli, ha nem törlöd!)
A cimzetted eltévesztetted - nem én akartom megoldani a feladatot...
Szia! Bocsi, egy sorral elnéztem! De azért gondolom "oregmotoros" barátunk megtalálja és megérti, rájön, hogy neki szántam!
Köszi, de az ajánlott topik a digitális vezérlésről szól, nekem meg analóg rendszerem van.
Az ott található dolgok számomra használhatatlanok.
Köszi, onnan jöttem ide., mer analóg vezérlést nem találtam.
A feladat megoldható, van is rá egy-két megoldási javaslat a Halmai fivérek könyvében - de mint mondottam elavult germánium félvezetőkkel. (Amúgy az elv a rádióvezérlésű modellekkel megegyező szelektív csatornák, de dróton pontosabban a tápfeszre szuperponálva..) Mivel nem igazán vagyok jártas az elektronika ezen ágának tervezési kérdéseiben - s nem mellesleg, nincs kedvem mégegyszer kitalálni amit mások már kitaláltak - gondoltam teszek egy próbát. Ám úgy tűnik, analóg technikát már nemigen alkalmaznak vasútmodellezők. Amúgy elgondolkodtam a rádiós vezérlésen is, de azért a "drótos" mégiscsak egyszerűbb még ha számolnom is kell egy jó sort....
Korántsem minősíteni, pláne nem "leszólni" szándékpztam a DCC vezérlést csupán arra utaltam, az analóg többcsatornás vezérlés több elektronika tudást kíván. Gondolom a DCC meg több számítástechnikait. (magam is "idomítottam" processzorokat egyidőben pl. dallamcsengő Z80-al, a frankfurti DCF óra időinformációinak dekódolása, kijelzése. miegyéb)
Talán épp ezért keresek más kihívásokat. No meg mint ahogyan említettem, van egy rakás analóg H0-ás cuccom terepasztallal.
Korántsem minősíteni, pláne nem "leszólni" szándékpztam a DCC vezérlést
Tudom, nem is igy vettem, de a lényeg az lényeg marad. Az analog vezérlésnél is majdnem ugyanabbol az elvböl indulsz ki - van egy jeled ami az energiát viszi, és egy másik ami rajta a vezérlést, csak a digitálisban sokkal megbizhatoban tudod kezelni a kettöt. A DC vagy AC jelre felrakott nagyfrekis vezérlöjel sokkal kevésbé hatékony, mind a DCC-ben használt eljárás, ahol maga az AC jel az informácio hordozo is (nemcsak az energia). A szürökörök is nagyságrenddel nagyobbak, mint egy mikroproci, ami ugyanazt a munkát elvégzi. A régi analog mozdonyaid is jobban járnak egy DCC dekoderrel (azt többnyire hozzá lehet idomitani a motorhoz, mig a hajdani megoldásban ez nem is volt kérdés, és soha senki nem foglalkozott a motorok jellemzöivel és azok kezelésével). Persze nem akarlak semmiröl lebeszélni, csak nem hiszem, hogy ma up-to-date irodalomhoz tudsz jutni ebben, a ma már majdnem elfelejtett témában. Igy nagyon valoszinü, hogy mindent magadnak kell majd kifejlesztened.
Hello!
Mindig ezekre az "elavult GE félvezetőkre" hivatkozol. De a lényeg messze nem ezeken van, hanem az egész elméleti megoldásán. Tedd fel az az emlegetett Halmait, és talán meglátjuk a megoldás mennyire korrekt műszakilag. Ha az jó, a blokkvázlatát fel lehet használni, vagy frissíteni "korszerű" (minimum 20..30 éves ) áramkörökkel. De konkrét, működő, bevált kapcsolásokra ne várj, mert az szerintem sem lesz.De ha lehet, nem itt kell folytatni, mert csodálkozom, hogy a Modik még nem szóltak, én már szóltam volna.. üdv! proli007
Szia!
Én is megtaláltam ezt a kapcsolást. Az irányváltásnál milyen megoldásra gondolsz? Igazából nm kell elektronikusnak lennie csak működjön a fordulatszabályzás és az irányváltás is ![]() Köszi előre is
Hello!
Egyszerűen két-áramkörös kapcsolóval, vagy relével megfordítod a motor két kivezetését. Pld így. De ebben már végállások is vannak.. üdv! proli007
Azaz az áramkör kivezetését ami megy a motorra azt kell megfordítani?
A motort védő diódának mi kellene?(12V 30A)
Hello!
Értelem szerűen igen. Diódának a motoráramnál nagyobbnak, és gyorsnak kell lenni. Vagy is Schottky. De nem is említetted mekkora a motor. A diódát, viszont az irányváltó átkapcsoló elé kell tenni, mert az nem fordulhat. Azaz a Fet Drain és táp közé. üdv! proli007
itt ha jól látom akkor jó helyen van.
http://www.hobbielektronika.hu/forum/files/33/333412976283ff5582d8d...df.jpg
Hello!
Ha mindent kétszer megkérdezel, hamar elfáradok.. Úgy hogy megyek is aludni.. üdv! proli007
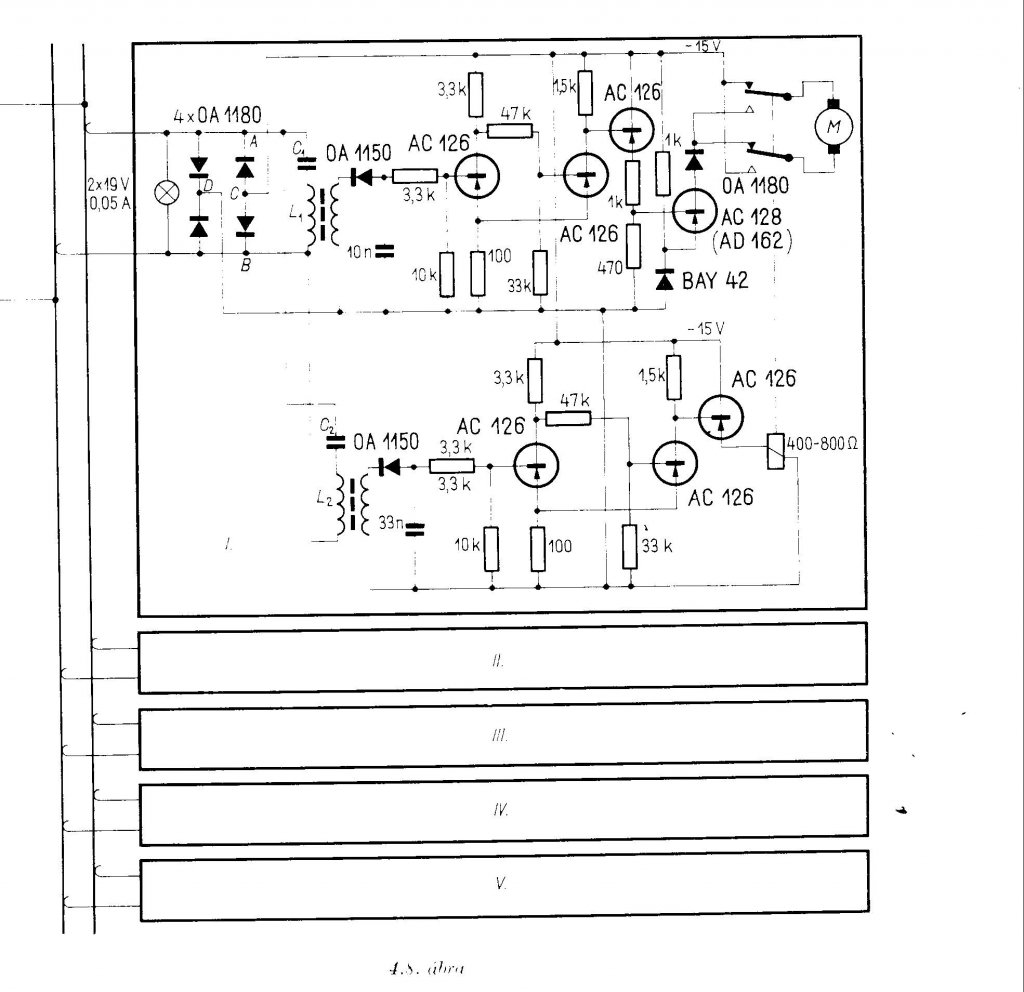
Nos ez egy PWM szabályzás nem? A PWM jelet előállító áramkör és a mozdonyba kerülő dekóder csak egy kicsit !divatjamúlt félvezetőkkel. Ezeket kellene "leváltani" legalább sziliciumtranyókra.
Sajnos nem.....igy valoban rossz helyen vagyunk.
Nos akkor én rosszul tudom, hogy a PWM szabályzás lényege, hogy az egyenáramú motorra szakaszosan teljes tápfeszültséget kapcsolunk pl. úgy, hogy egy négyszögjel kitöltési tényezőjét változtatjuk.
Ennek a négyszögjelnek a frekvernciája úgymond közömbös (persze nem az, de semmi köze a motor fordulatszámához, imás szempontból nem lehet teljesen önkényesen megválasztani.) Az, hogy itt a négyszögjelet diszkrét elemekkel állítják elő és egy sávszűrő dekódolja a vezérlés lényegét nem érinti. (van fotóm az így megépített vezérlő által szolgáltatott négyszögjelről hogyan mutat a szkóp képernyőjén, szinte kifogástalan) Persze a megoldás "nem olyan elegáns" mint pl. egy 555-el fölépített vezérlés meg egy H-hidas irányváltás, de működik. (legalábbis a könyv szerzői szerint) A problémát a már nem gyártott félvezetőtípusok okozzák, ezek helyett kell korszerűbb, beszerezhető típus. Aki járatos az elektronikában az tudja, hogy egy germániumalapú félvezetőt sziliciumalapúval helyettesíteni nem mindig egyszerű, s messze nem azt jelenti, hogy az átpolarizálom az áramkört (PNP-NPN típusú félvezetők)és kicserélem az aktív elemeket. Itt pl. a négyszögjel megfelelő alakhűségének biztosításához illeszteni kell a Schmitt trigert az oszcillátorhoz, számítgatni a modulátorfokozatot stb. az eltérő áramköri jellemzők miatt. Na ezt a munkát szerettem volna megspórolnii, de már látom aligha tudom. |
Bejelentkezés
Hirdetés |





) áramkörökkel. De konkrét, működő, bevált kapcsolásokra ne várj, mert az szerintem sem lesz.

