Fórum témák
» Több friss téma |
Fórum » Csöves erősítő készítése
Ne feledd betartani a fórum viselkedési szabályait, és a topik megmaradásának feltételeit. [link]
A téma átmenetileg fagyasztva lett, hozzászólni nem tudsz!
Kipróbálom úgy is. Köszönöm a segítséget!
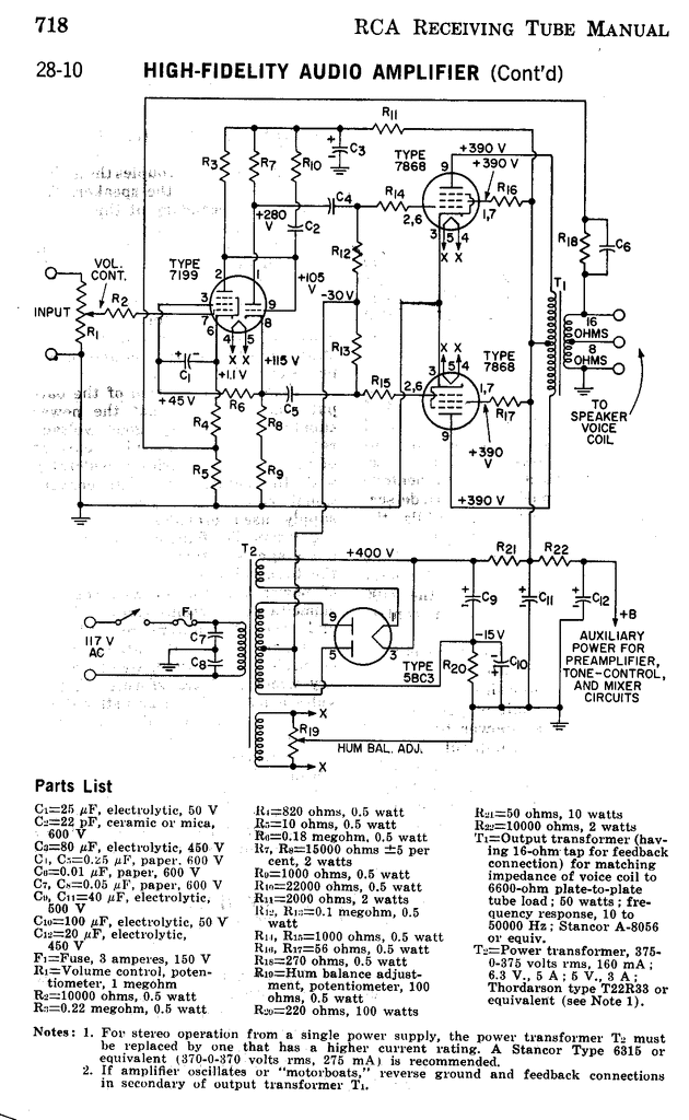
Üdv! Szerintetek a végcsövek katódjában az a 220mV 270 Ohm mellett mi az ördög?
0.8mA nem lehet ott folyó áram, azt még a szemembe is elállom...
Néhány hibát véltem felfedezni magamtól.
Az a 220 nem mV, hanem mA kell, hogy legyen. Így a végcsövek árama darabonként 110 mA, valahol azt olvastam, hogy a maximális áram 60-70%-a szokott lenni, ez talán stimmelne is. (úgyse ennyire állítanánk szerintem, de így szól a mese) A Sarris fiú rafkós, az erősítő fényképén ott van két trimmer, a rajzon meg nem, ami valószínű a 130 kOhm-oknál/helyett tüsténkedik a szimetria végett. A jelölt, összes ellenállás 1W, írja, ami megint csak nem igaz, a fényképen láttam, hogy kb. 3W-os a két katódellenállás, ami jó kevés... A fázisfordító és az első cső kapcsolásának helyességéről, vagy hibájáról hozzáértő kolléga véleménye kéretik... Az oldal. A hozzászólás módosítva: Feb 27, 2014
Újabb kérdésem lenne. Találtam egy régi kapcsolást, hogyan van itt a bias feszültség megoldva?
Úgy, hogy az erősítő teljes anódárama átfolyik az R20 ellenálláson, ami a testhez képest -15 V -ot állít elő.
Mondjuk az nem egészen világos, mikor egy drót egyik végére -15, a másikra -30 V van írva. A hozzászólás módosítva: Feb 28, 2014
Persze, hogy a tanult embereknek könnyű...
![]() Én 5-10 percig nézegettem, mire rájöttem. A kiírás rajzhiba, az eredeti dokumentumban nincs ott a -15V. A -30V a nyerő. A 100W-os 270 Ohmos ellenállás is csak 10W az eredeti dokumentumban. Valaki belehamisított terelés gyanánt még pár dolgot... A hozzászólás módosítva: Feb 28, 2014
Sziasztok! Lenne egy régi zeneszekrény amiből elég sokmindent kimentettem. Trafó, kimenő, kondik, mind adottak. Kettő csövem lenne hozzá, ha minden igez és jól fordítottam át oroszról, egy Ecc83 és egy Ecc84-es típusú Utobbira nem találtam olyan kapcsolást amit megmernék csinalni. Legszívesebben a kettőt használnám mint az eredeti kapcsolásában. Nektek lenne valami kiinduló pontotok, esetleg ezzel a két csővel épített már hasonlót valamelyikőtök? Csatoltam a gyári nyák, illetve kapcsolás egy részét. Köszönöm.
A 6P14P inkább EL84, és így már biztos találsz kapcsolást. Akár ott az eredeti is...
Sziasztok.
Lehet rossz helyre megy. Elnézést érte. Mi lehet az oka, hogy a kapcsolási rajzon szereplő feszültségértéknél sokkal ( ~20V) nagyobb éréket mérek? Előre is köszönöm a választ.
Lehet, nálatok is több a 230V; kösd a trafó 240V-os bemenetére a hálózatot.
Szia. Ez volt az első lépés.Ezek az értékek 240V os állásban mérhetők. Ha 220 as állásba rakom akkor a feszültség majdnem 40-45 V-al emelkedik meg.
Szia!
Úgy is tudsz csökkenteni ezeken a feszültség értékeken, ha 1. Tekersz még a trafóra kb 10-15V-nyi menetet, és pluszba bekötöd a primerbe, vagy 2. Ha van még nem használt 6,3V-os szekundered a trafón akkor azt be tudod kötni a primerbe pluszként, vagy 3. Az egyenirányító cső védőellenállását megnöveled valamennyire, ha a DC feszültségek nagyon magasak.
Nem nagyon akarok a rádióban lévő cuccokat megbontani max azt cserélni ami hibás. íme a teljes kapcsolás pdf formában. Az EZ80 as cső 3 as lábán 310v -ot mérek csövek nélkül. Szerintem ez kicsit sok.
Terheletlenül még jó is az-az érték. Katódellenálláson is kéne feszültséget mérni. Nem szokatlan, ha a régi, meggyengült cső kevésbé terhel.
Megmérem köszönöm, bár új csövekről van szó. Legalábbis az El84 az új.
A napokban befejeztem a pcl erősítő dobozát. Egy éve működik és használatba van, a dobozolás nagy nyűg számomra. Készítettem egy pár képet. (csak telefonnal tudtam)
Az ott szemben milyen erősítő?
Egy 6c33c-se.
Arról, ha lehetne egy kicsi (nagyon) bővebbet...?
![]() Bár a PCL is a célkeresztben van nálam, de mégis. Ha már van 10 csövem hozzá...6C33.
Hallottam már jó pár 6C33C-el épült erősítőt, csupa jót tudnék mondani róluk. Talán az alábbi "csöppség" produkálta mind közül a legéletszerűbb hangzást.
2x63W PSE
Az első erősítő volt úgy, hogy nem is konyítok hozzá, csak megpróbáltam után építeni, nem is álltak be a munkapontok, pedig a kapcsolási rajzon szereplő alkatrészeket használtam,brummos is volt. Nagyon nehezen állt össze,sok segítséget kaptam itt a fórumon, másképp nem sikerült volna. Egyébként jóhangú, se létére nagyon dinamikus meggyőző basszussal.( de ez a pcl jobb, nemhinném, hogy az ellenütem miatt, inkább a sokkal jobban sikerült kimenő miatt, nagyon jó illúziót kelt, a hangszereket mélységben és magasságban is jól behatárolhatóan tálalja eléd. Ezt kevésbé tudja a 6c33c.
Köszönöm a segítséget én is, magam is "csak" SE-t akarok majd építeni, a "Borbély-féle" erősítő van kiszemelve és anyagok begyűjtve.
Kimenőnek előszörre egy gyári (INDEL) lesz próbálva, ha megfelelőnek tűnik, az is marad. Amire kíváncsi vagyok, kell-e a teljes fűtés, vagy elég a felét befűteni - nem mindegy villanyszámla alapon is, élettartam miatt sem. Azért ezt a csövet nyugaton az "orosz csoda"-ként emlegetik és nem negatív értelemben... Többen is óvnak a fojtók használatától a tápokban, illetve magát a csöves tápot viszont preferálják... A monoblokkos építkezést viszont magam is tetszéssel fogadom.
Szia!
Az orosz csoda az igaz, hogy a 6C33C, de az igazi (hangban) is nagyágyú a GM-70. Itt olvashatsz egy jó kis cikket róla. GM-70SE Melyik az a Borbély-féle erősítő? Ne félj a fojtók használatától, akkor csinál igazán jót, hogyha a fojtó vaskeresztmetszete megegyezik a hálózati trafóéval. Ha kisebb a vas, akkor is jó, de akkor számolni kell azzal, hogy elvesz egy kicsit a hangból. Nem sokat, de elvesz. Tapasztalatot még nem tudok mondani, mert még nem volt alkalmam kipróbálni, viszont egy hangmérnök barátom már kipróbálta, és azt mondta, hogy akkor jó, ha a vaskeresztmetszet ugyanakkora. Egy másik ilyen jó kísérlet lesz az, ha sikerül beépítenem a tápba olajpapír kondikat. Kaptam kölcsön 18db 10µF/630V-os kondikat. Na az még megér egy misét. A hozzászólás módosítva: Márc 3, 2014
Jónapot, Sziasztok építettem egy sztereó ecl82 erősítőt ami elég hatalmasra sikeredett, és szeretném kicsit csökkenteni a méreteit, találtam egy nagyon tuti kis szereó nyáktervet csak nem igazán tudom hogy hova milyen értékű dolgok kellenének, a kép a következő:
Most nem találok linket, csinált egy 15Wos erősítőt SE-ben és kitt-ként volt árusítva...
Az eredeti pdf-ben bőven le van írva a dolog. Ha akkora fojtók kellenek, akkor megfontolandó, kipróbálandó a CRC szűrés talán. Én kaptam - nem kölcsön - néhány 20µF (ez sajna csak 300V-os ) és 10µF/500V-os orosz kondit, így lesz módom kitapasztalni őket.
Sziasztok újra! Eddig sok segítséget kaptam, köszönöm.
Ott akadtam el hogy inkább az ECC83-as csőből egy gitár előerősítőt szeretnék készíteni. Neten kettőt találtam ami szimpatikus, és egyet itt hobbielektronikán. Én nem zenélek, de annyit tudok hogy egy passzív hangszedős Fender gitárról lenne szó. E három közül melyiket tudnátok ajánlani, mert én tanácstalan vagyok. Talán a legszimpatikusabbnak az elsőt találom. Köszönöm, Üdv!
Ez az első megteszi. A másodikról annyit, hogy láttam már sok Marshallt, de lepke hangszínnel soha.
a harmadik rajz hibás, kapásból a V1 anódellenállása lehetetlen, tovább nem is nézem. Keress még egy kicsit, Marshall JTM45, Plexi, JCM800 édes testvérek, könnyen után építhető. Ha egy csővel akarod megoldani, az első rajzon a katódellenállásokat érdemes csökkenteni, "hivatalosan" 1.5k 300v körüli tápfesszel. ( A marshall-ok kb ennyiről mennek, kicsit feljebb.) Ugyanitt Marshallokban előfordul: K1 -> 2.7k, 820 Ohm. K2 -> lehet 2.7k. Utána még kell egy hangszín, ez zömmel Marshall. Az anodellenállás 100k az jó. A katódkondi 2.7k ellenállásnál általában 680n, így a rajzon a 4.7k-hoz a 470n kb. jó. Kisebb ellenállásnál nagyobb kondi szokás, Fender, Marshall esetén ez 220u. Érdemes próbálgatni, de még keresnék is a helyedben. Sok sikert.
Sziasztok!
Igazából sokat olvasgatok az oldalon. Régebben aktívabb tagja voltam, mra már csak olvasóként vagyok jelen. Azért bátorkodtam irni, mert szükségem lenne egy kis segítségre. Nagyon régóta szeretnék már építeni egy csöves erősítőt, igazából mindíg az alkatrészek hiánya miatt adtam fel a dolgot. A minap mikor vettem volna elő ősrégi szkópom ( NDK ) analog, áram alá helyezem, majd egy kis füstfelhő után sötét ernyő.. Gyorsan netet fel, szkópnézegetés a szokásos oldalakon,kapcsolási rajz böngészés. Egy idő után feladtam, mikor sokáig szemeztem a benne lévő csövekkel. Egy pár sör után bátorságot véve, elhatároztam, hogy uj szkópot fogok ugyis(kell) vennem, mert egy uj projektet látok a szemem előtt lebegni. A célom igazából egy phono előerősítő készítése lenne, ha lehetne: Stereo, hangerőszabályozó, hangszínszabályzó lehetőségekkel.. Amiket sikerült kiforrasztanom ((((( kövezzetek meg )))))))) a teljesség igénye nélkül tömérdek nagy teljesítményű ellenállás kondenzátorok potik csövek --- 1db ecc82, 2db ecc83 foglalaok forrpontok szigetelt vezetékek kapcsolók Ha esetleg kellene még pluszban valami az talán az elfekvőkészetemben leledzik. Igazából azért írok, mert olyan vagyok mint az új nővel. Alig merek hozzákezdeni. Ha tudtam is, ismertem is kapcsolást az eltűnt, vagy elfelejtettem. Csatolok pár fotót, hátha az többet segít. Bocsánat hogy hosszúra sikerült, meg köszönöm előre is a segítségetek. |
Bejelentkezés
Hirdetés |
















Na az még megér egy misét. 
) és 10µF/500V-os orosz kondit, így lesz módom kitapasztalni őket. 







