Fórum témák
» Több friss téma |
Elnézést, rosszul írtam. A trafónak mindkét féltekercse 24 Voltos, és a 2x egyutas egyenirányítás után így egészül ki a 2 x fél periódus. Az izzókkal sorba kötött ellenállás disszipálja el a felesleges 12 Voltot, tehát ha más teljesítményű izzóra cserélsz, akkor az ellenállást is cserélni kell. Természetesen azonos teljesítményű izzók köthetők sorba. Lehet, hogy Led-ekkel jobban jársz, ha jól méretezed az előtétet, soha nem égnek ki. Meg kell nézni az adatlapján, hány Volt, és hány milliamper, azután ohm törvénye alapján kiszámolni az előtét ellenállást, attól függően, hány Led van sorban.
Fórumtársunk nagylelkű felejánlása mián ipari mennyiségű 48/24V-os ingyen vihető izzó van nálam újraelosztás céljából, bár a foglalata nem Edison, hanem Telefon, ha már barkácsolunk.
![]() De kis pénzért kapható belevaló is (nem kell mindent szétbarkácsolni/ami jó azt nem kell megjavitani).
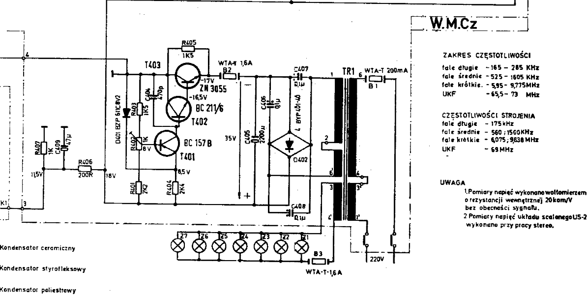
Ez egy másik rádió lesz, Diora-ból sokfélét feldob a google. Ez a Duet dsp-301. Meg van a rajz, itt ugye a c405 2200µF-ost kell akkor cserélni?
Nem akarok rádióamatőrködni csak világítson szépen és jöjjenek be rajta az FM csatornák ![]() (Sikerült vennem kéteres szalagkábelt, bár nem az a rádiós, de nagyon hasonló)
Igen, elvileg azt a C405-öt, de a 18 Voltos tápfeszültséget nem árt leellenőrizni. Mert ha a rajzon jól látom, az R 402 -vel durván el lehet állítani. Elég, ha az korrodált, és nem érintkezik a közepe. Ebben már van stabilizátor, de a trimmerrel lehet korrigálni, nem is értem, hogy miért? Esetleg, ha a végfok túl sok áramot venne fel, az is okozhat brummot, de melegedést is. Érdekes módon itt a mínusz ágban van az áteresztő tranzisztor, de ott az R 406-on, ahol írja 18 Volt legyen, és ne több, mert akkor is búghat, ha nem esik a tranzisztoron elég, akkor nincs megfelelő szűrés.
6Volt / 100 mA égőim vannak nekem is, skálaizzó foglalatú 10 db, drótlábú meg egy marékkal (Szegeden).
Mivel a kérdező lakóhelye titkos, ezért loholhat érte jövő hónap 17.-én Békéscsabára, ha ingyen kell a nem olyan foglalatú...
A hozzászólás módosítva: Jún 2, 2021
Lehet kapni. Igaz, nem óccó: Conrad Legérdemesebb megnézni a helyi izzó szaküzletben, mert a futár 1500.
Látod, ha a témának megfelelő topikban kérdezel, felélénkül az élet, sorjáznak a megoldások.
Nincs a helyi boltban. Se tápkondim se áthangoló kondik nincsenek itthon sem. Ennyiért már megéri küldeni egy újabb rendelést
![]() Készítettem antennát. 73MHz-en jön Retro rádió ![]() A 18V ágon 17,8-at mérek de gondolom ez oké. A hozzászólás módosítva: Jún 2, 2021
Onnanól hogy megszólalt, már csak nyerni/jobbá tenni lehet.
Még egy kérdés a tápkondenzátorhoz. Ide még jót is tesz ha nagyobb kapacitású kerül ugye? Csak mert az ugyan ilyen értékű de új kondi sokkal kisebb méretű, beférne egy nagyobb is.
Kapacitásban is, és feszültségben is mehet bele nagyobb.
Persze. Látod, a stabilizátor nélküli rádióban azért van dupla akkora, mert nincsen benne stabilizátor.
A hozzászólás módosítva: Jún 3, 2021
Érdemes mindent egy helyen venni. A szállítás kerül a legtöbb-be.
Találtam végül pont ilyen paraméterekkel kondenzátort. És kicseréltem kér kicsit is, amit egy másik videóban is cserélnek. Sokkal jobb lett de nem tűnt el teljesen. Egyébként ezt a nagy kondenzátort nem lehet újra feltölteni valami folyadékkal azon a záródugón keresztül?
Szép hosszú lábakkal forrasztottad be a LED-eket
, de akkor ezek szerint pontosan megértetted az "ellenpárhuzamos" és soros ellenállás fogalmát Valamit nem vibrál...
Vibrál az csak ennél a záridônél nem látszik
Nincs tudomásom róla, hogy valaki csinálná. (Az újratöltést). Nem ér annyit az egész. Nem ismerjük az anyagot, mi kell bele, nem tudod légmentesen visszazárni, az orosz elkók azért rosszak, mert az epokitt, amivel lezárták idővel ereszt. Az akkumulátor lényegesen drágább dolog, régen lehetett bele tölteni deszt. vizet, majd divatba jöttek a teljesen zártak. Azokat sem újítják fel. Gondozás mentesek, majd eldobják őket. Vibrálás ellen a ledeknek is egyenfeszültséget adnék (graetz), és egy jó nagy puffer elkót.
A hozzászólás módosítva: Jún 4, 2021
Ha szerinted vibrál, akkor neked még jó a szemed. Maradjon is igy, nekem már sajnos nem szokott vibrálni...
No, én azért az akkukat nem hagyom magukra! Le lehet feszegetni a zárólemezt, alatta ott vannak a gumisapkák. Évente 3...4 köbcenti deszt.víz 6..7 évre kitolja az üzemidőt. (Mert a 13,8V-os parallel üzemben is a fejlődő gáz a gumidugókon távozik...) A 207-es dízelemben 8. éves az - igaz Exide - akku, amivel ugyanezt teszem.
Megjöttek a kondenzátorok. Viszont 12pF-ost nem kaptam de van 10-es és 15-ös. Melyikkel járok jobban a 12pF-osok helyére?
Szándékosan több helyre porlasztod szét a kérdéseidet?
Oké, alakul. Jönnek az adók de nagyon recseg, 1-es jelerősségig megy az antennámmal. Nem kell a dipól egyik végét a földre vezetni?
Kell egy másik rádió, hogy hangolás közben tudjam merre is járok ![]() Köszönöm a segítséget mindenkinek!
Nem igazán értem a kérdést, bár gyanítom az FM áthangolásra vonatkozik. Szerintem a 10 közelebb áll a 12 -höz, mint a 15. Letöltöttem a rajzot az elektrotanyáról, a kondenzátorok pozíció számai olvashatatlanok. Bevallom, ilyen rádió sosem járt nálam. Másik tapasztalatom, hogy az összes közt az Unitra áthangolása a legnehezebb. Ezt a tunert sem értem. Az oszcillátort forgókondenzátor hangolja. Az antennakört semmi. Trimmer kondenzátor sehol sincs benne. A finom hangolást a tekercsek meneteinek tologatásával lehet végezni, vagy vasmagosak? (L1-L2-L3 ?) Az ezekkel párhuzamos kondenzátorok értékét kell csökkenteni úgy cirka 22 pF értékkel, mindet, a többit nem is találtam meg, melyikek lehetnek? A tekercsekbe lehet vasat -rezet felváltva dugdosni, ha vasat kér lefele, ha rezet, felfele kell hangolni (növelni-csökkenteni az induktivitást). A dipol helyére elég lesz 2 szál egyforma hosszú drót, nálam az ilyen szimmetrikus bemenetű rádióknál elég az egyikbe dugni olyan 80 cm vezetéket. De én látnám az ablakomból a tornyot, ha nem lennének körülöttünk magasabb épületek. Nem hiszem, hogy nagyon csúcs készüléket lehetne varázsolni belőle, bár az eredeti paramétereit sem ismerem. Esetleg talán még egy erősítő fokozattal az antenna körbe, vagy a KF-be. Szerintem célozd meg a kedvenc adót, arra hangolj rá mindent. Itt együttfutásról szó sem lehet, szélessávúnak sejtem a bemenetet. Ilyen forgókondenzátort sohasem láttam: Az AM sávra 2, FM-re csk 1 db
van benne? Létezik egyáltalán olyan, vagy csak a rajz a rossz?
Köszönöm, hogy ránéztél! Tőlem ilyeneket ne kérdezz, nem értek hozzá
![]() Két videó is van youtube-on, mindkettőben ugyan azt a hat kondenzátort cserélik, szóval ezek ismertek. 1 2 Érdekes, ha L2 második menetéhez érintem a fém csipeszem 1-ről 3-ra ugrik a vétel, minden adó kitisztul. Hosszú drótot odaérintve csak zúg, rövidre is romlik, csak a csipesz jó neki Forrasszak hozzá egy 10 centis drótot? ![]() Ha L3 és L4 meneteit széthúzkodom, akkor egy adott frekvencia egyre megy lejjebb. Azt tapasztaltam, hogy a három induktivitást iterálásos módszerrel kell nyomkodni. Ha L3 és L4 alakítva lett utána L2-t is kell macerálni. A hozzászólás módosítva: Jún 8, 2021
Talán az első tranzisztor nem csinál semmit, vagy az antenna kör nem jól van hangolva? L1 vasmagos? Milyen? Ferrit gyűrű? Vagy menetes? Lehet, hogy az L2-t is hangolni kellene. A csipesz ott antennaként funkcionál, vagy csak elhangolja? Amíg ezt nem tudjuk, a megoldást sem. Ferrit mag közelítésére hogy reagál? Vagy réz, illetve alumínium csavar közelítésére? Ha az a tekercs öntartó, tologatni a meneteket csak műanyag pálcával lehet, mert fémmel is csak elhangolod, s ha elveszed azt, utána egész máshol lesz.
|
Bejelentkezés
Hirdetés |














