Fórum témák

» Több friss téma
Fórum » Muzeális készülékek-alkatrészek restaurálása
Lapozás: OK   438 / 589
(#) _BiG_ válasza fgyj hozzászólására (») Márc 18, 2017 / 1
 
Okozhatja az egyenirányító cső emisszióvesztése, illetve a szűrőelkók magas szivárgási árama (de nem ártana a papírkondikat is megnézni szigetelésre). Áramfelvételt is kéne mérni, ha magasabb, mint ami a gyári értéknek kéne lennie, akkor szinte biztos, hogy valahol szivárgás van. Végcső áramát is nézni kéne külön, hátha az gázosodott - az is áramnövelő tényező, de torzítást is okoz.
(#) fgyj válasza _BiG_ hozzászólására (») Márc 19, 2017 /
 
Köszönöm a segítséget.
(#) _BiG_ válasza fgyj hozzászólására (») Márc 19, 2017 /
 
Szívesen
(#) bbb válasza devergo74 hozzászólására (») Márc 19, 2017 /
 
Szia!
Mivel nem írtad helyileg merre vagy, így a közeledben lévők nem fogják tudni, hogy szakítsanak-e a kérdésedre időt... Pl. én be tudom neked szkennelni a munkahelyemen, de ha neked Óbuda messze van, akkor hiába is ajánlom fel a segítségem.
(#) nedudgi válasza devergo74 hozzászólására (») Márc 19, 2017 /
 
Félek, a nyomtatással van gondod. A beolvasás egyszerűbb, talán a mentésnél el lehet szúrni rossz formátum választásával.
Kellene egy próbát csinálni, de előtte írd le, milyen programokat használtál, milyen szkennerrel.
A hozzászólás módosítva: Márc 19, 2017
(#) devergo74 válasza nedudgi hozzászólására (») Márc 19, 2017 /
 
Szia.
Egy alap epson nyomtató+szkennert használtam, de nem sikerült. Igy feladtam, a környezetemben nem tudnak ebben segíteni.
(#) _BiG_ válasza devergo74 hozzászólására (») Márc 19, 2017 /
 
Nézd meg a szkennelésed felbontását. Mondjuk 200 dpi. Akkor a képet is ezzel a felbontással nyomtasd (nyomtatóbeállítások). És a képszerkesztésnél ne változtass formátumot, se felbontást.

A másik, hogy ha lézernyomtatót használsz, akkor a nyomat kicsit megnyúlhat hosszában. Csinálj egy üres próbanyomást, előtte mérj hosszat, meg azután is.

És nem írtad azt sem meg, hogy milyen formátumba mented a szkennelt képet.
Így csak találgatunk, segíteni jól nem lehet.
(#) nedudgi válasza devergo74 hozzászólására (») Márc 19, 2017 /
 
Nekem nincs olyanom, de csak meg lehet oldani a dolgot. Első tippem, hogy a nyomtatásnál elkeféltél valamit. Milyen programmal végezted a szkennelést, nyomtatást?
Nem szeretnék barkochbázni, légy szíves válaszolj a kérdésekre. Ha titok, hogy merre laksz, akkor mi alapján lehet eldönteni, lehet-e szó fizikai segítségről? Hozzám el tudsz jönni?
(#) devergo74 hozzászólása Márc 19, 2017 /
 
Megpróbáltam mindenféle beállítást, amit engedett a szkenner programja. Saját epson szkennelő programot használtam, de nem jött össze. Azért is keresek valakit, aki jártas az ilyen dolgokban, és segítene az elkészítésben. Jpg-formátumba mentettem a szkennelt képet.
Itt ahol lakom, Orosházán nem tudok senkit, aki ilyenben tudna segíteni.
(#) nedudgi válasza devergo74 hozzászólására (») Márc 19, 2017 /
 
Ha hajlandó vagy dolgozni, akkor szívesen segítünk. Először látni kellene, hogy mit csináltál. A legjobb lenne, ha egy kisebb képet beszkennelnél, és felraknád. Abból már el lehet indulni a hibakereséssel.
(#) _BiG_ válasza devergo74 hozzászólására (») Márc 19, 2017 /
 
A jpg rossz választás, mert adatvesztő tömörítés. Tiff, de legjobb a bitmap. Nagy lesz, lassú lesz vele dolgozni, de szín és alaktartó (ha nem állítod el...).

Az volna a lényeg, hogy tudjuk, mit állítottál be és min.

A másik, hogy amit leírtam a felbontásról (dpi), azt megszívleld és próbálj eszerint elindulni.
(#) bbb válasza _BiG_ hozzászólására (») Márc 19, 2017 /
 
Szia!

A JPG nem rossz választás, mert kiindulási alapról van szó, így nem számít, hogy veszteségesen tömörít. Cserébe nagy előnye, hogy megtartja a fejlécben, hogy mekkora felbontással (DPI) lett szkennelve. Emiatt persze a képpontok számán kívül megmarad még az is, hogy emberi mértékegységben mekkora is volt a dolog.

A nyomtatáskori elcsúszás viszont abból ered, hogy natívan a Windows beépített nyomtatási szolgáltatása nem tud ezzel mit kezdeni és így elméretezi. (Ugyebár tud tárcaméretet, meg egész lapos fényképet, de mérethelyesen azt nem tud.)

Ha viszont a beszkennelt képet mondjuk Inkscape-be beolvassa és ott átrajzolja vektorgrafikusan, akkor az pont akkora lesz, amekkorának lennie kell. De elvileg a GIMP is ki tudja nyomtatni mérethelyesen a képet, így elég lehet "csak" kozmetikázni.

De merthogy itt egy régi oszci előlapjáról van szó, ami nem éppen bonyolult mintázatokról híres (gyk. pár vonal meg szöveg), így az újra megrajzolás jóval kevesebb időt emésztene fel és szebb eredményt produkálna. (gugli megmutatta, így néz ki: Bővebben: Link)
(#) _BiG_ válasza bbb hozzászólására (») Márc 19, 2017 /
 
A jpg azért rossz választás, mert nem színtartó, a nyomtatásnál gond lehet, hogy ott sem egyszínű, illetve foltos, ahol nem kéne annak lennie. Mindezt az információvesztés miatt.

A winfos saját nyomtatási "szolgáltatását" valóban elcseszték, ha jól emlékszem az xp sp2-nél... Sok program használja, mert lusták voltak saját nyomtatási szoftvert írni.
A hozzászólás módosítva: Márc 19, 2017
(#) bbb válasza _BiG_ hozzászólására (») Márc 19, 2017 /
 
Szerintem erről ne vitatkozzunk. Ha az artifact effectre gondolsz, az bizony előjöhet, de én azt írtam, hogy kiindulási alap! Vagyis azt amit így szkennelt, nem kell megtartani. Azon kívül még egy apróság, hogy ez az effektus nem jön elő akkor, ha a tömörítési ráta nem nagy. Minél jobban tömörít, annál jobban előjön, ez tény. A színtartásról... Nem értem mire gondolsz, ha nem erre az előbb felvázolt effektre. Ez pedig kiküszöbölhető, s bármilyen meglepő, a szkennerek általában azért csinálnak nagy JPG képet, mert nem tömörítenek olyan mértékben, hogy előjöjjön a dolog. Tény és való, hogy PNG-ben, vagy BMP, DIB, ... veszteségmentes tömörítési formákban nem létezik ez az effektus, de ágyúval verébre lövünk, ha belegondolsz, hogy egy öreg, foltos előlapot akar beszkennelni, amit utána ki kell javítani, tehát nagyon mindegy, hogy szemre nekünk úgy néz ki, egyforma színű, két egymás melletti pontnak se lesz ugyan az a színe.
Ezért mondom, hogy teljesen mindegy, hogy JPG-ben szkennelt, vagy nem. Ja és persze BMP-ben nincs felbontás, csak képpontok. Ha a hagyományos 96dpi-re van állítva a megjelenítés, akkor annyival számol, ha 150dpi, akkor meg annyival.
Ha átgondolod, egy beszkennelt, majd átjavított előlap sokkal kevésbé lesz szép, mintha (egy ilyen egyszerű esetében pár perces munkával) újra megrajzolod a minta alapján, ami aztán teljesen mindegy, hogy jpg volt-e előtte, vagy png.

Amúgy ha nem hagyjuk abba, akkor át is térhetnénk az előlapok és számlapok készítése topikba ezzel a témával
A hozzászólás módosítva: Márc 19, 2017
(#) _BiG_ válasza bbb hozzászólására (») Márc 19, 2017 /
 
Én se akarok ezen rugózni sokat, de mint kiderült, szegény fórumtársunk nagyon el van tévedve a témában, a jpg-s tömörítési rátás bohóckodást szerinted megérti? Szerintem jobb, ha nem is használja inkább a formátumot.

De a fő gond nem ez, hanem a dpi megértése és helyes használata úgy a szkennelésnél, mint a nyomtatásnál.
(#) silent15 hozzászólása Márc 21, 2017 /
 
Sziasztok!

Tanácsot szeretnék kérni; adott egy EMG-1833-as tápegység, de vagy már 15 éve nem volt bekapcsolva. 2 elkó volt zárlatos, azokat cseréltem, a többi jónak tűnt. Szeretném beüzemelni a dolgot, csak félek hogy az elkók feladják a harcot. A cserekondikat tudtam formázni, de a régieket nem szeretném kiszedegetni és egyesével megformázni, mert nem teljesen hozzáférhetők. Érdeklődnék, hogy van e valami egyszerű módszer? A kondik az egyencső felfűtése után egyből megkapják a tápteszültséget.

Köszönöm!
(#) szapcsika válasza silent15 hozzászólására (») Márc 21, 2017 /
 
Tegyél ideiglenesen áramkorlátozó ellenállást az egyenirányító után.
(#) silent15 válasza szapcsika hozzászólására (») Márc 21, 2017 /
 
És így mintha formáznám járassam , hagyjam kisülni majd megint és megint ?
(#) Kinka István válasza devergo74 hozzászólására (») Márc 25, 2017 /
 
Szia!
Egy másik témában találtam: Előlap
(#) bbb válasza Kinka István hozzászólására (») Márc 25, 2017 /
 
Szia!

Én segítettem neki, és inkább megrajzoltam vektorosan az egészet az általa beszkennelt kép alapján. Az első próbanyomtatáson már túl van. Majd kíváncsian várom a végleges műről a fotót
A hozzászólás módosítva: Márc 25, 2017

Grafika1.pdf
    
(#) Kinka István válasza bbb hozzászólására (») Márc 25, 2017 /
 
Szia!

Nekem is van egy EO201, jelenleg jó előlappal. Elmentettem a Te munkád is, ha netán az enyém is sérülne.
Köszönöm a megosztását.
(#) Janó bácsi válasza bbb hozzászólására (») Márc 26, 2017 /
 
Nagyon szép az az előlap, gratulálok. Én is elmentettem. Azt tanácsolom, hogy ne lamináljátok, mert annak a melegre feljön a széle, nem tapad rendesen a papírra, jobb az öntapadós fólia, úgy hogy a szélét nagyobbra kell vágni, és alá a hátára vissza hajtani. És lehetőleg a vastagabb fajta fóliát kell választani. Nagyon szép, és tartós lesz.
(#) fgyj hozzászólása Ápr 9, 2017 / 3
 
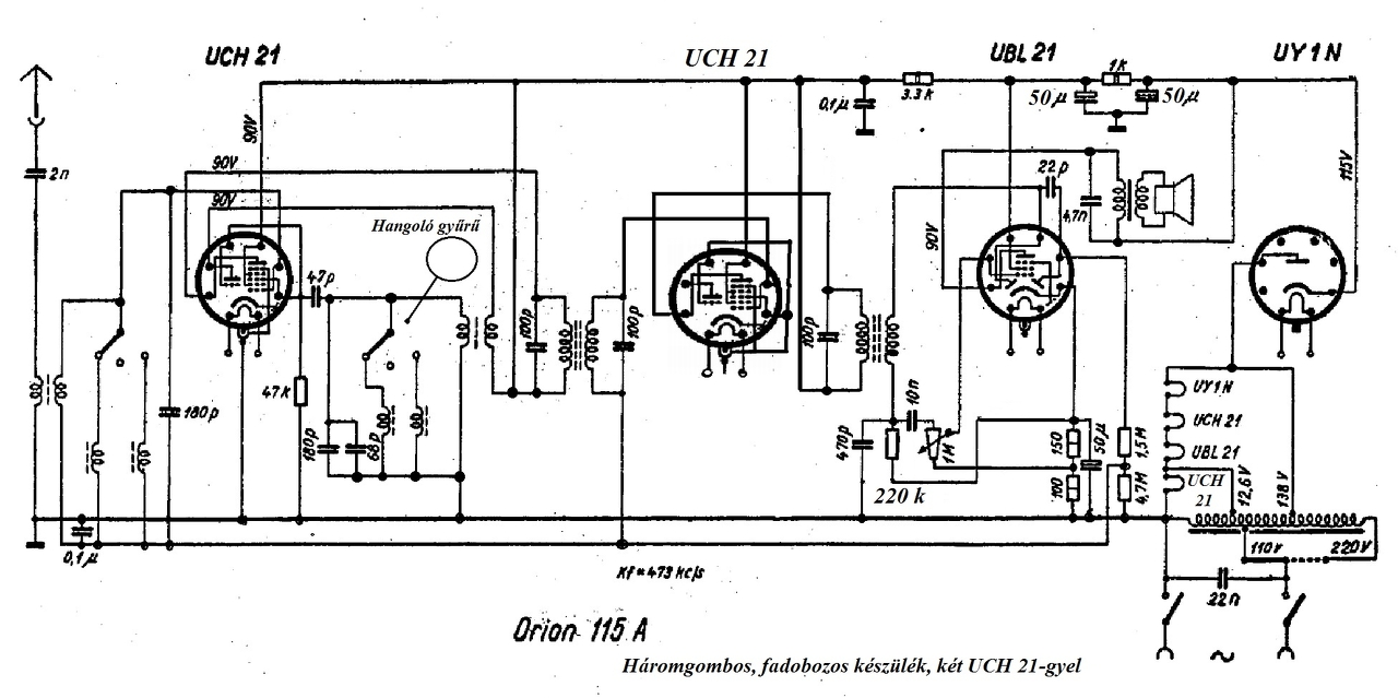
A hozzám került Néprádió a jelek szerint egy ritkább szériából kerülhetett ki: ebben két UCH 21 van. Megpróbáltam kideríteni a pontos kapcsolását, és ennek alapján módosítottam a közkézen forgó kapcsolási rajzot.
Kérem azokat, akiknek a kisujjában van a néprádiós tudás (és rászánnak 1-2 percet), hogy jelezzék, ha valamit elnéztem a nézelődés közben. Az én tudásom nagyon gyér a csöves rádiókat illetően, ezért csak óvatosan próbálkozom. A dobozt már sikerült csinosítani, ahogyan a másik fotó mutatja.
Előre is köszönöm a segítséget.
(#) fgyj hozzászólása Ápr 9, 2017 / 1
 
Még egy kép az eltérések jelzésével.
(#) gkari válasza fgyj hozzászólására (») Ápr 9, 2017 / 1
 
A rajzon 1 hiba biztosan van. Ha 2 db UCH csöves, akkor a fűtéskörön a 12,6 V-os leágazást el kell távolítani, mert az UCH-k fűtőfesze 20V (az UF21-é 12,6V lenne), így tejes kőr kiadja a cca. 140V-ot (de pláne 230V-os hálózatból). Mik a többi különbségek?
(#) Janó bácsi válasza fgyj hozzászólására (») Ápr 10, 2017 / 1
 
Én arra saccolok, hogy a második UCH, ami egyébként pentódának van átkötve, nem gyárilag került bele. Erre utal, hogy a fűtése nincs megoldva, a 12V-os fűtésről el megy ugyan, de nem használ neki a nagyfokú aláfűtés. Valakinek a régebbi javítások során nem volt UF-je, és átalakította. A többi különbség az elkó testelése miatt van, valószínű nem volt olyan kondi, aminek volt forraszható test kivezetése, ezért galvanikusan érintkezve kellett felrakni a panelra. Ilyenformán megszűnt az itt előállított előfeszültség, így a végcső katódjába tett alkatrészekkel hozták létre az UBL rács-előfeszültségét.
(#) fgyj válasza gkari hozzászólására (») Ápr 10, 2017 /
 
Tisztelt gkari, újra megnéztem. Valóban: a négy cső fűtése sorba van kötve, a megadott sorrendben.
(#) fgyj válasza Janó bácsi hozzászólására (») Ápr 10, 2017 /
 
Tisztelt Janó bácsi! --- A fűtés kérdését már gkari is jelezte. Valóban: ebben a készülékben nincs külön leágazásra kötve a második UCH, hanem egyszerűen sorba kötötték a négy csövet, a megadott sorrendben. --- A cső gyárilag kerülhetett bele. A sasszin a gyári bélyegzővel jelezték, hogy a foglalatba ilyen kerül; ez elég jól látszik a fotón.

UCH 21 II.jpg
    
(#) fgyj válasza Janó bácsi hozzászólására (») Ápr 10, 2017 /
 
Kiegészítés: a kettős elkó valóban csak csavarozással volt csatlakoztatva. (De egyébként ki kellett dobni, mert a két pozitív érintkező egyszerűen kiesett a helyéről.)
(#) hobbyjani válasza fgyj hozzászólására (») Ápr 10, 2017 / 1
 
Szerintem azzal kellene kezdeni,egyszer ki kell kapcsolni az anódfeszütséget,aztan lemérni minden csőnek a fűtését,ha minden talál,akkor mehet vissza az anódfesz és utána már kell aztán egy szignál generátor,mindenesetre,aki csövekkel nem foglalkozott,annak nagyon nehéz lesz a dolga.A 20 voltal fűtött cső pedig nem indul el 12 voltal,forditva kiég a fűtőszál.
Következő: »»   438 / 589
Bejelentkezés

Belépés

Hirdetés
XDT.hu
Az oldalon sütiket használunk a helyes működéshez. Bővebb információt az adatvédelmi szabályzatban olvashatsz. Megértettem