Fórum témák
» Több friss téma |
Hello! Az elv, az elv, csak nem olvastad tüzetesen el, amit írt. Mert ha így állítja elő a 12V-ot, és 600mA-al terheli, akkor a tranyóban 40W hő fog keletkezni.
Köszönöm, úgy látom a külön táp a legjobb megoldás.
Ha jól értem van egy trafód (?)...Javaslataim:
1. ha lehetséges és van hely tekerjél rá külön 12 V -nak megfelelő menetet, 2. ha megbírja a drót vastagsága és lehetséges, csapold meg 12V- nál, 3. ha nem szükséges a 80V akkor tekerjél le belőle 12 ig.
Ez egy árnyékolt vagy nem tudom ,hogy hívják konkrétan japán trafó. Ki is van öntve, nem lehetséges a tekerés. Cserébe totál hangtalan nincs semmi hangja ha a fülemre rakom se.
Kár, mert ha ügyesen csinálod az lett volna a leggazdaságosabb megoldás...minden tekintetben..
Ebben az esetben én valamilyen kapcsolóüzemű tápot látnék, hogy ne legyen sok felesleges veszteséged...s amint írták, van kapcsolás bőven ezekből is..Sok sikert!
Sziasztok!
Link Itt már folytattam beszélgetést, hogy milyen táp lenne jó az erősítőmnek. Autós erősítő, 12V kell neki ugye. XBOX tápegység az egyik ötletem. De észrevettem a LED tápegységeket. Hatásfokuk 80% körüli, ezzel számolva egy 360W-osnak a tényleges teljesítménye 288W lenne. Tehát a száraz adatok alapján bőven megfelelne. A hozzáértőket kérdezném, hogy egy ilyen LED tápegység alkalmas lehet-e egy 100-150W-os erősítő meghajtására és biztos üzemeltetésére? LED táp
Ez egy normál táp, mivel LED szalagokhoz ajánlották (amiben 3 LED-enként ellenállás korlátozza az áramot).
Használható erősítőhöz is, kérdés, hogy a teljes kivezérlésnél fellépő áramcsúcsoknál hogyan viselkedik majd.
Ha egy táp 100W-os, és a hatásfoka 80%, akkor a hálózatból 120W-ot vesz fel, és akkor adja le a 100W-ot, tehát neked nem kell a hatásfokkal számolgatnod, ami teljesítményt ráírnak, azt le is adja.
Köszönöm a válaszokat. Elméletileg bírnia kéne, mert közel sem lenne csúcson járatva a táp, mert az erősítő csak 100-150W-os.
De szerintem maradok az XBOX tápnál, az is tud megfelelő teljesítményt, és arról elég sok anyag is van fent, hogy autós erősítőt hajtottak meg vele. Ti melyiket választanátok, ha nagyjából ugyanannyiba kerülne a két megoldás?
Szerintetek a LED tapegyseget at lehetne alakitani ugy, hogy adott esetben ne tiltson le a vedelme?
Ma kene eldontenem, hogy az XBOX vagy a LED tapegyseg legyen.
Természetesen, ha azt szeretnéd hogy az adott esetben tönkremenjen. A védelem feladata benne van a nevében.
Mindegy melyiket veszed meg. Mindkettő jó, mindkettőben van védelem. Én először kipróbálnám számítógép tápról mit csinál.
A hozzászólás módosítva: Ápr 10, 2016
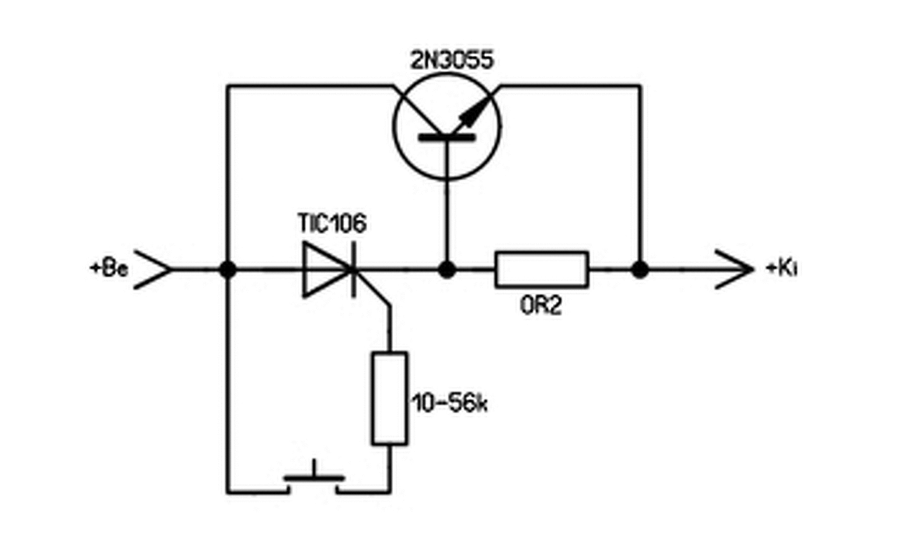
Sziasztok! Ezt a kapcsolást szeretném kiegésziteni egy ledel ami viszajelzést adna arról hogy zárlat van a kimeneten ! hova kellene kötnőm a ledet? A kapcsolás egy elektronikus biztositékot jelől
A válaszokat előre is kösz !
Koszonom a valaszokat.
Nem igy ertettem, csak gondolom, a ket tap mashogy viselkedik egy erositore kotve. Arra voltam kivancsi, melyik lehet alkalmasabb ilyen szempontbol, mert teljesitmenyre mindketto megfelelo. De akkor lesz az XBOX tap, azt mar probaltak paran, csak a LED tapegysegben joval nagyobb tartalek lenne.
Hello! A kollektor és emitter közé előtét tápfesz szerinti előtét ellenállással. Mert amikor leold, ott jeleneik meg a tápfeszültség.
Puffereket nem illik sorba kötni, és pláne nem illik különbözőkkel tenni ezt. Nem lehet pontosan tudni valójában hogyan oszlik meg köztük a feszültség.
Ez igaz, de ha nincs más megoldás?
Itt kettő-kettő azonos van sorbakötve... Összekötném a két soros kondenzátor közepét, igy a közös pontjuk legalább biztosan azonos feszültségre kerül. Ezen kivül, párhuzamosan tennék két egyforma ellenállást, kiegzenliteni a feszüétslget a két-két soros kondenzátoron. Vigyázat, melegedni fog! Legyen mondjuk 2k2...
Köszönöm a válaszokat. Puffernak szántam volna, de inkább rendelek egy 10000µF-ost mellé, és nincs "probléma".
Elektronikáról lévén szó ez nem illemóra hogy mit illik és mit nem. Kondenzátorokat nyugodtan sorba lehet kötni, sok esetben gyári készülékekben is megteszik, de nem ebben a formában.
Ha jól veszem ki a keszekusza rajzról, akkor ez egy szimmetrikus tápfesz lenne, ahol a negatív ágban 1db elkó lenne, a pozitív ágban pedig egy 4db-ból álló vegyes kapcsolás , aminek az eredője megegyezik a negatív ág kapacitásával.Ennyi kondit ne köss sorba, max. kettőt, és a két ág szimmetrikus legyen a kondik tekintetében is. Egyébként ha nem bóvli gyártótól származik a 63V-os kondi, akkor annak semmi baja nem lehet a 70V-tól. Eleve úgy készülnek hogy 15-20%-al nagyobb feszültséget alapból is elviselnek, de a 63V esetén az lehet a helyzet, hogy a következő feszlépcsőt (80V) már nem írhatták rá, ezért lett 63V-os. Persze ezt ne vedd készpénznek, de majdnem biztos hogy így van, és én hasonló esetben biztosan kipróbálnám, persze óvatosan tölteném fel az első esetben.
Üdv mindenkinek!
A kérdésem a következő! Próbált e már valaki LDD áramkorlátozókat párhuzamosan kapcsolni? Elméleti szinten az áramok összeadódnak tehát például 2 db 1000mA-es ldd estén 0-2A közti áramot lehetne beállítani mondjuk egy 1750mA-es 50W os lde chip részére. Szerintetek működőképes az elképzelés?
Sziasztok.
Kis segítséget kérnék egy dolog értelmezésében. Van egy motorkerékpárom aminek tönkrement a töltés szabályzója. Sikeresen szét is berheltem és megpróbáltam visszarajzolni mi lehetett benne. Végtelenül primitívnek látom a belsejét de nem értem a működését. Nekem egy graetz hídhoz hasonlatos dolognak tűnik kicsit megspékelve valamivel. Mivel nem diszkrét elemekből volt belül felépítve így nemnagyon tudtam azonosítani mi micsoda. Annyit talán hogy ránézésre a 4 sima kör valószínű hogy dióda de a két középső a rajzon amivel egy-egy kondi van párhuzamosan azt nem tudom mi lehet. Valaki esetleg tippet tud ? Eléggé magas váltófeszből csinál akku töltőfeszültséget . De hogyan?
Ennek a működését más sem érti.
Ha valami IC vagy hibrid áramkör akkor nyilván bármi lehet benne belül, nem fogod tudni visszarajzolni. Egyébként pl. egy fejlámpa lion akkujának töltését ma már elintézik egy soros előtét kondival meg egy graetz híddal. Nem akartam elhinni amikor megláttam, de működik évek óta, az akku még nem ment benne tönkre csak a LED, azt kellett cserélni.
Egy áramkorlátozó dióda is lehet akár! PL: http://www.soselectronic.hu/?str=940&article=diotec-taplalja-le...yabban
Sorban és párhuzamosan is köthetőek. Sorosan a fesz párhuzamosan az áram növelhető. Akár is-is működik! A hozzászólás módosítva: Máj 1, 2016
Sziasztok,
összegyűlt nálam néhány dc tápegység (adapter) amiket mindig valami hibás eszköz (nyomtató, router, stb) selejtezésekor megtartottam, mert azokkal akkor még nem volt semmi gond, és ki tudja mikor jönnek jól. Épp a napokban kellett volna egy 9V-os tápegység, így előtúrtam a dobozt, és találtam is 2 darabot. Viszont amikor multiméterrel rámértem a kimenő feszültségre, kicsit elbizonytalanodtam, mert nem azt mértem, amit vártam. Az egyik tápegységnél, aminek 9V 500mA lenne a kimenete, a multiméter ilyen kb. 15-16V-okat mért. A másik tápegység pedig olyan, amin egy kapcsolóval lehet variálni a kimeneti feszültséget 3V és 12V között. Ennél azt tapasztaltam, hogy beállítva egy feszültségre, és multiméterrel mérve a feszültség szépen lassan elkezd esni, és kb. 1-2 perc alatt leesik 0.1-re kb. Mindkét tápot felnyitottam, egyszerű transzformátor tekercs, pár egyenirányító dióda és egy darab elko van bennük, ha jól emlékszem 16V 470 mF vagy valami ilyesmi. A kérdés az lenne, hogy normális-e az, hogy fogyasztó nélkül az első táp nagyobb feszt ad le, mint amit kéne, a másodiknál meg mi lehet az oka a feszültség esésnek? Nem merem úgy az eszközbe dugni őket, hogy multiméter szerint nem a megfelelő feszt adják le...
Szia !
Az adapterereken feltüntetett adatok arról tájékoztatnak hogy mekkora árammal terhelheted őket és a belső ellenállásuk akkora hogy a feltüntetett terhelő áram hatására áll be a jelölt feszültség.Tápfeszültségre érzékeny készülékek adaptere tartalmazhat stabilizátor ic.-t, de van hogy a készülékben van a stabilizátor áramkör. Legtöbbször mellékelik az adaptert a fenti eltérések és hibalehetőségek kizárására.
Szia!
Idézet: „...hogy fogyasztó nélkül az első táp nagyobb feszt ad le, mint amit kéne” Igen, normális, a második eset viszont szakadásra utal, mert egy idő után csak a puffer szolgáltat áramot a műszerednek, ami meg persze szépen kisül, ahogy kell..
Szia, köszi a választ. Olvastam valahol azt, hogy ha egy tápegység lead pl. 9V-ot, és az van ráírva, hogy 500mA, akkor attól még használható olyan eszközzel, aminek szintén 9V fesz kell, de kisebb a teljesítménye (pl. csak 250mA). De akkor ez nem feltétlenül igaz, mert ha az eszköz nem úgy van felépítve, akkor simán lehet, hogy a kisebb teljesítményfelvétel miatt az 500mA-es táp nagyobb feszültséget ad le, és ezzel károsítja az eszközt?
Ha jól értem, akkor teljes biztonsággal csak akkor csereszabatos egy tápegység bármilyen eszközök között, ha magában a tápegységben van feszültségszabályzó IC, ami biztosítja, hogy mindig 9V legyen a kimenő feszültség, és ebben az esetben vehetjük maximális teljesítménynek az 500mA-t? |
Bejelentkezés
Hirdetés |






A válaszokat előre is kösz ! 

, aminek az eredője megegyezik a negatív ág kapacitásával.

Ha valami IC vagy hibrid áramkör akkor nyilván bármi lehet benne belül, nem fogod tudni visszarajzolni. Egyébként pl. egy fejlámpa lion akkujának töltését ma már elintézik egy soros előtét kondival meg egy graetz híddal. Nem akartam elhinni amikor megláttam, de működik évek óta, az akku még nem ment benne tönkre csak a LED, azt kellett cserélni. 